Содержание страницы
- 1. Конструкция и технология изготовления SIT-транзисторов
- 2. Принцип действия и физика процессов
- 3. Вольт-амперные характеристики (ВАХ): Триодный характер
- 4. Биполярный режим работы и модуляция проводимости
- 5. Индукционный тиристор (FCT) — Эволюция мощности
- 6. Динамические процессы: Проблемы выключения
- 7. Сравнительный анализ и область применения
- 8. Интересные факты о SIT и FCT
- 9. FAQ: Часто задаваемые вопросы
- Заключение
Статический индукционный транзистор (SIT — Static Induction Transistor) — это уникальный класс силовых полупроводниковых приборов, который занимает особую нишу между классическими полевыми транзисторами (JFET) и вакуумными триодами. По своей сути, это полевой транзистор с управляющим p-n-переходом и вертикальной структурой канала, но с одной критически важной особенностью: у него отсутствует эффект насыщения тока стока.
В данном материале мы подробно разберем физику работы SIT, его эволюцию в индукционный тиристор (FCT), особенности схемотехники и нюансы производства, которые делают этот прибор вершиной силовой электроники для линейных режимов усиления.
1. Конструкция и технология изготовления SIT-транзисторов
Понимание работы статического индукционного транзистора невозможно без детального рассмотрения его внутренней архитектуры. В отличие от планарных транзисторов, где ток течет параллельно поверхности кристалла, SIT имеет вертикальную структуру. Это означает, что основной поток носителей заряда (электронов) движется от истока (расположенного сверху) к стоку (расположенному снизу) сквозь толщу полупроводника.
1.1. Подготовка кремниевой пластины
Основой прибора служит высококачественная монокристаллическая кремниевая пластина n-типа. Требования к геометрическим параметрам здесь крайне высоки: толщина пластины варьируется в диапазоне 0,4—0,9 мм. Этот параметр напрямую влияет на способность прибора рассеивать тепло и выдерживать механические нагрузки при монтаже.
Замечание: Выбор толщины пластины — это всегда компромисс. Слишком тонкая пластина снижает тепловое сопротивление (что хорошо), но становится хрупкой. Слишком толстая — ухудшает отвод тепла от активной зоны.
1.2. Формирование слоев (Эпитаксия и легирование)
Процесс создания структуры можно разделить на несколько ключевых этапов:
- Создание подложки (Сток): Исходная подложка сильно легируется донорной примесью (n+) до концентрации порядка \( 5 \times 10^{19} \text{ см}^{-3} \). Столь высокая концентрация необходима для обеспечения низкого омического сопротивления контакта стока.
- Рост эпитаксиального слоя (Дрейфовая область): На n+ подложке выращивается высокоомный эпитаксиальный слой n-типа (обозначается как n–). Именно параметры этого слоя (толщина и удельное сопротивление) определяют пробивное напряжение прибора. Чем чище и толще этот слой, тем большее напряжение может выдержать транзистор в закрытом состоянии.
- Формирование активных областей: С помощью фотолитографии и ионной имплантации на поверхности формируются области истока (n+) и управляющего затвора (p+ сетка).
1.3. Разновидности сеточной структуры
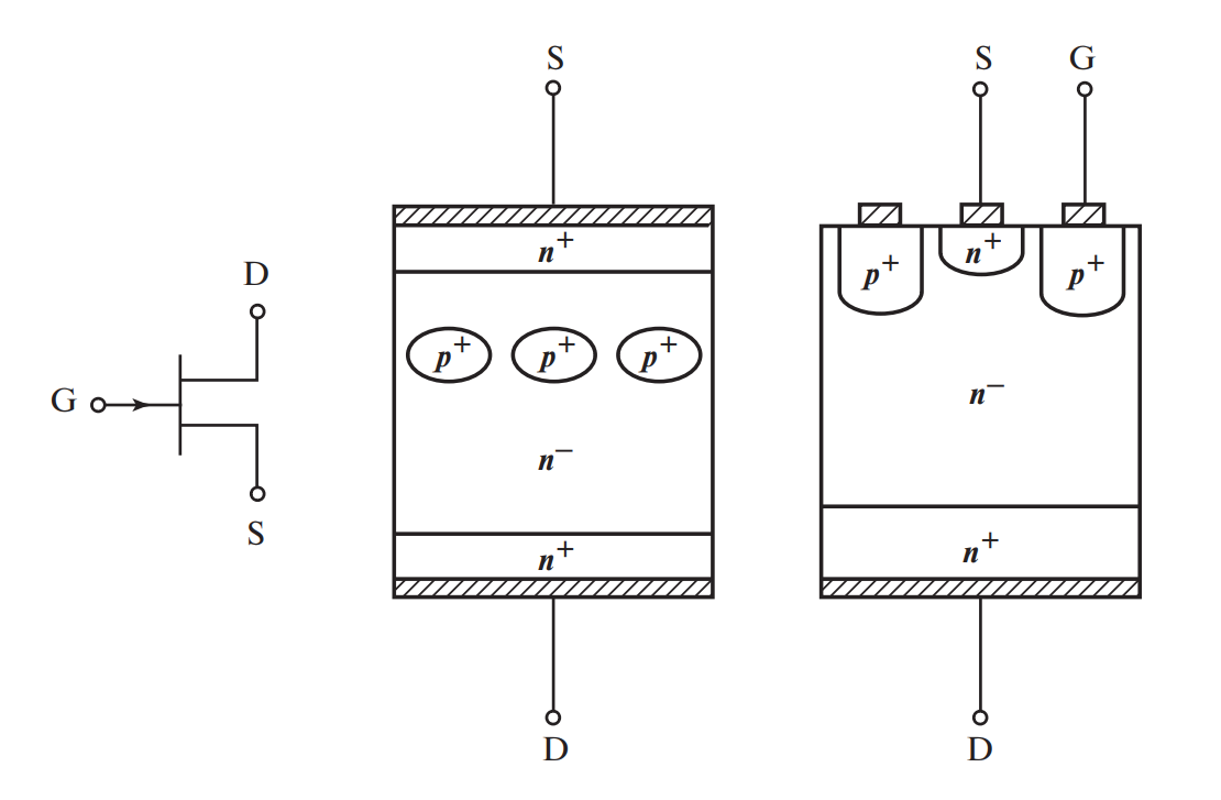
Геометрия управляющего электрода (затвора) критически важна для частотных свойств прибора. Существует два основных типа конструкции, показанных на рисунке 1.

Рис. 1. Обозначение и основные структуры статического индукционного транзистора. Слева показана схема с заглубленным затвором, справа — с поверхностным.
На рисунке 1 представлены варианты исполнения затвора.
Вариант А (Углубленная сетка): Затвор физически «утоплен» в тело полупроводника. Такая конструкция характерна для мощных низкочастотных приборов, используемых, например, в промышленных инверторах или аудиоусилителях. Она обеспечивает эффективное управление каналом, но обладает повышенной паразитной емкостью.
Вариант Б (Поверхностная сетка): Используется в высокочастотных SIT (СВЧ диапазон). Здесь затвор имеет непосредственный омический контакт со слоем металлизации на поверхности. Это решение позволяет резко уменьшить последовательное сопротивление затвора \( R_G \), что критически важно для быстрой перезарядки входной емкости на высоких частотах.
2. Принцип действия и физика процессов
Аналогия для понимания: Представьте SIT как водопроводную трубу (канал n–), где вода (ток) течет вертикально вниз. Посередине трубы стоит решетка из прутьев (p+ затвор). Если на эту решетку подать отрицательный потенциал, вокруг прутьев образуется «невидимое силовое поле» (область обеднения), которое раздувается, как воздушные шары. Когда эти «шары» соприкасаются, проход для воды полностью перекрывается. В отличие от крана, который перекрывает поток резко, здесь мы можем очень плавно регулировать просвет, меняя размер этих полей.
2.1. Электростатика канала
Ключевая особенность SIT — короткий и слаболегированный канал. Когда на сток подается положительное напряжение \( U_D \), электроны устремляются от истока к стоку. Однако на их пути стоит потенциальный барьер, создаваемый p+ сеткой затвора.
SIT является нормально открытым прибором. Это значит, что при нулевом напряжении на затворе ток свободно протекает через канал. Чтобы закрыть транзистор, на затвор необходимо подать отрицательное напряжение.
2.2. Коэффициент блокирования
Способность транзистора удерживать закрытое состояние при высоком напряжении на стоке описывается коэффициентом блокирования \( \mu \). Запирающее напряжение затвора \( U_G \) связано с напряжением на стоке \( U_D \) следующей зависимостью:
Где:
\( U_D \) — напряжение на стоке закрытого SIT;
\( \mu \) — внешний коэффициент усиления по напряжению (коэффициент блокирования).
Значение \( \mu \) закладывается на этапе производства и зависит от геометрии сетки и степени легирования канала. Типовые значения находятся в диапазоне от 10 до 1000. Чем выше \( \mu \), тем меньшим напряжением затвора можно управлять высоковольтной нагрузкой, но тем сложнее получить большой ток в открытом состоянии.
3. Вольт-амперные характеристики (ВАХ): Триодный характер
Выходные характеристики SIT радикально отличаются от привычных характеристик MOSFET или биполярных транзисторов (BJT). У последних есть четкая область насыщения, где ток почти не зависит от напряжения на коллекторе/стоке. У SIT насыщения нет.

Рис. 2. Семейство выходных вольт-амперных характеристик статического индукционного транзистора. Заметен экспоненциальный рост тока, напоминающий ВАХ лампового триода.
3.1. Экспоненциальный закон
Семейство «триодных» кривых, показанных на рисунке 2, описывается сложной экспоненциальной зависимостью. Ток стока управляется электростатическим потенциалом в седловой точке канала. Уравнение имеет вид:
Расшифровка параметров формулы:
- \( I_D \) — ток стока;
- \( I_0, \eta \) — технологические параметры, зависящие от профиля легирования и геометрии канала;
- \( \mu^* \) — внутренний коэффициент усиления (пропорционален внешнему \( \mu \));
- \( \phi_T \) — температурный потенциал (\( kT/q \), около 26 мВ при комнатной температуре);
- \( U_G, U_D \) — напряжения на затворе и стоке соответственно.
3.2. Влияние паразитных сопротивлений
В реальных условиях, особенно при высоких плотностях тока, идеальная экспоненциальная модель требует корректировки. Последовательные сопротивления областей истока (\( R_S \)) и стока (\( R_D \)) начинают играть роль ограничителей тока. Уравнение трансформируется:
Из-за высокого сопротивления слаболегированной дрейфовой области (n–), максимальный ток униполярного режима SIT обычно ограничен значениями порядка 10 А. Для силовой электроники этого часто недостаточно, что привело к разработке биполярного режима управления.
4. Биполярный режим работы и модуляция проводимости
Как получить от прибора больше тока, чем позволяет его физическое сопротивление? Инженеры нашли решение: использовать инжекцию неосновных носителей.
Если на затвор SIT подать положительное напряжение (относительно истока), p-n переход затвор-исток смещается в прямом направлении. Начинается инжекция дырок из p+ сетки в n– канал.
- Инжекция дырок: Дырки попадают в канал и притягивают к себе электроны из истока (для сохранения электронейтральности).
- Модуляция проводимости: Концентрация носителей заряда в высокоомной дрейфовой области резко возрастает. Сопротивление канала падает в десятки раз.
- Снижение падения напряжения: Транзистор начинает вести себя почти как замкнутый ключ с очень низким падением напряжения.
Эффективность этого режима описывается коэффициентом передачи тока \( B_0 = I_D / I_{G+} \), где \( I_{G+} \) — прямой ток управления. Недостатком является необходимость тратить значительную мощность на управление (ток течет через затвор).
5. Индукционный тиристор (FCT) — Эволюция мощности
Для работы с токами в сотни и тысячи ампер была разработана модификация SIT, названная тиристором с электростатическим управлением (FCT — Field Controlled Thyristor).

Рис. 3. Структура тиристора с электростатическим управлением (FCT). Обратите внимание на нижний слой p+ (анод), который отличает его от обычного SIT.
5.1. Отличия в структуре
Как видно на рисунке 3, главное отличие FCT от SIT заключается в подложке. Вместо n+ слоя используется p+ подложка (анод). Это превращает структуру в четырехслойный прибор (p-n-n-p), подобный тиристору, но с сеточным управлением.
В открытом состоянии p+ анод инжектирует дырки в n– базу, обеспечивая мощнейшую модуляцию проводимости всего объема полупроводника.
5.2. Уникальность коммутации FCT
Обычный тиристор (SCR) имеет «защелкивание» — как только он открылся, его невозможно закрыть по управляющему электроду (нужно снимать напряжение с анода). FCT лишен этого недостатка. У него нет механизма глубокой положительной обратной связи, приводящей к необратимому лавинному процессу.
Важно: Отсутствие жесткого защелкивания делает FCT чрезвычайно устойчивым к помехам. Случайный всплеск напряжения (dv/dt) не приведет к самопроизвольному включению, что является огромным преимуществом в промышленных сетях с высоким уровнем помех.
6. Динамические процессы: Проблемы выключения
Переходные процессы в SIT и особенно в FCT имеют специфику, связанную с накоплением заряда.
6.1. Эффект «вытягивания» заряда
При выключении (подаче отрицательного напряжения на затвор) происходит не просто перекрытие канала, а активное вытягивание дырок из n– области через затвор. Это порождает:
- Импульс обратного тока затвора: Короткий, но мощный всплеск тока в цепи управления. Его амплитуда может быть соизмерима с рабочим током нагрузки!
- Паразитный транзистор: В структуре FCT образуется паразитный p-n-p транзистор (Анод-База-Затвор). При запирании его база «обрывается», и остаточный заряд рекомбинирует медленно.
- «Хвост» тока (Tail Current): Даже после подачи запирающего сигнала через прибор некоторое время (примерно три времени жизни носителей) течет затухающий ток. Это увеличивает потери на переключение.
6.2. Требования к драйверу (Схеме управления)
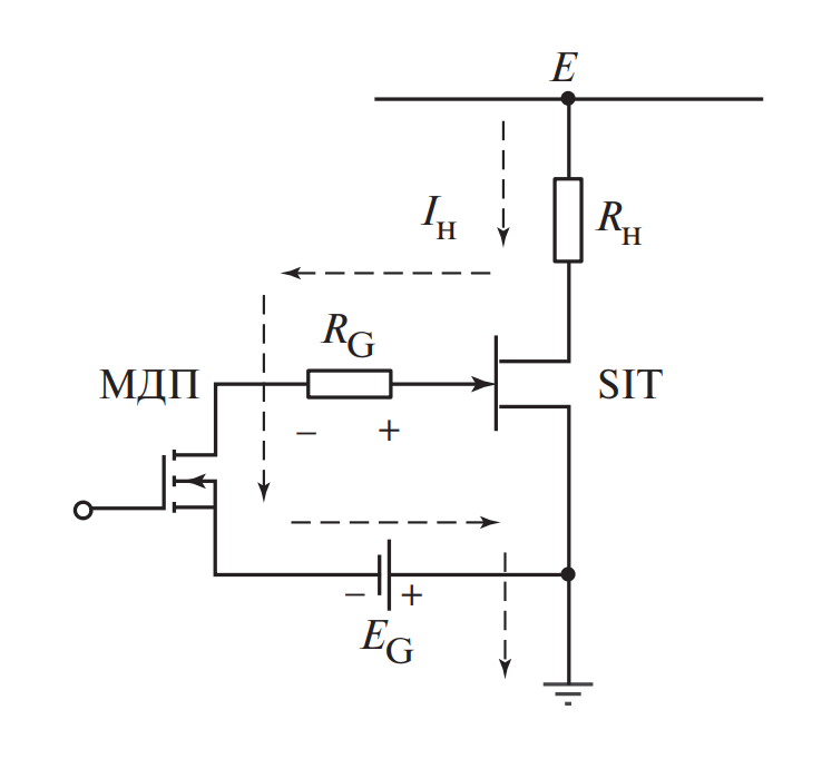
На рисунке 4 показана схема ключа на индукционном тиристоре.

Рис. 4. Ключ на индукционном тиристоре. Показано влияние внутреннего сопротивления источника сигнала \( R_{gen} \) и сопротивления затвора \( R_G \) на надежность запирания.
Импульс тока при выключении создает падение напряжения на внутреннем сопротивлении драйвера и сопротивлении самого затвора. Это падение напряжения вычитается из запирающего напряжения, эффективно уменьшая его.
Вывод: Драйверы для SIT/FCT должны обладать экстремально низким выходным сопротивлением и способностью поглощать большие импульсные токи.
7. Сравнительный анализ и область применения
Почему SIT и FCT не вытеснили IGBT и MOSFET повсеместно? Ответ кроется в балансе плюсов и минусов.
| Параметр | SIT / FCT | IGBT (БТИЗ) |
|---|---|---|
| Тип управления | Токовый (в биполярном режиме) / Полевой | Полевой (изолированный затвор) |
| Состояние при отсутствии питания | Нормально ОТКРЫТЫЙ (нужен «минус» для запирания) | Нормально ЗАКРЫТЫЙ |
| Падение напряжения (на малых токах) | Очень низкое (резистивный характер) | Фиксированное (~0.7В + резистивная часть) |
| Радиационная стойкость | Высокая (нет оксида затвора) | Средняя (оксид накапливает заряд) |
| Линейность ВАХ | Идеальная (триодная) | Пентодная (насыщение) |
| Сложность драйвера | Очень высокая | Низкая |
Преимущества SIT:
- Высокое качество звука: Благодаря триодным характеристикам, SIT вносит минимум нечетных гармоник, делая звук «теплым» и естественным.
- Радиационная стойкость: Отсутствие тонкого подзатворного диэлектрика (SiO2) делает их невосприимчивыми к ионизирующему излучению (космос, АЭС).
- Низкие шумы: Отсутствие дробового шума токораспределения.
Недостатки:
- Нормально открытое состояние: При пропадании питания схемы управления происходит короткое замыкание источника питания через открытый транзистор. Требуются сложные схемы защиты.
- Сложность производства: Требует прецизионной литографии и чистых материалов.
8. Интересные факты о SIT и FCT
- V-FET от Sony. В 70-х годах компания Sony выпустила легендарную серию усилителей на V-FET (коммерческое название SIT), которые до сих пор считаются «Святым Граалем» в аудиофилии. Их цена на вторичном рынке достигает астрономических сумм.
- «Космический» транзистор. Благодаря отсутствию деградации от радиации, SIT транзисторы рассматривались как основные элементы для электроники космических зондов, работающих в радиационных поясах Юпитера.
- Твердотельный клистрон. Мощные SIT способны работать на частотах в сотни мегагерц и гигагерц с КПД более 90%, что позволяет заменять ими вакуумные клистроны и магнетроны в радарах и индукционных печах.
- Изобретатель. Дзюн-ити Нисидзава имеет в Японии статус «Мистер Полупроводник», сравнимый со статусом Шокли в США.
- Защита от EMP. FCT тиристоры гораздо устойчивее к электромагнитному импульсу (ЭМИ) ядерного взрыва, чем обычные микросхемы, из-за огромных размеров кристалла и специфики p-n переходов.
- Тепловой пробой. В отличие от биполярных транзисторов, SIT имеют отрицательный температурный коэффициент тока стока. Это значит, что при нагреве ток уменьшается, что спасает прибор от саморазогрева и выхода из строя.
- Гигаваттные ключи. Существуют экспериментальные образцы SI-тиристоров, способные коммутировать импульсы мощностью в гигаватты для лазерных установок и ускорителей частиц.
9. FAQ: Часто задаваемые вопросы
1. Можно ли заменить обычный MOSFET на SIT в блоке питания?
Нет, напрямую нельзя. SIT — нормально открытый прибор. Если вы поставите его вместо MOSFET, при включении сети произойдет мгновенное короткое замыкание, так как драйвер MOSFET еще не успеет подать запирающее напряжение.
2. Где сегодня применяются SIT транзисторы?
Основные ниши: аудиоусилители класса High-End, передатчики радаров, установки индукционного нагрева, ультразвуковые генераторы и специализированное военное оборудование.
3. Что такое «ламповый звук» в контексте транзисторов?
Это способность усилительного элемента иметь линейную зависимость и порождать преимущественно четные гармоники (2-я, 4-я) при перегрузке, которые приятны человеческому слуху. SIT обладает именно такой характеристикой, в отличие от жесткого ограничения сигнала у обычных транзисторов.
4. Почему SIT транзисторы такие дорогие?
Из-за малых объемов выпуска (отсутствие эффекта масштаба) и сложных технологических требований к чистоте кремния и глубине легирования.
5. Чем FCT лучше GTO тиристора?
FCT имеет более высокую скорость переключения и меньшие потери энергии при коммутации, а также не требует громоздких снабберных цепей (цепей формирования траектории переключения).
Заключение
Нормативная база
- ГОСТ 20859.1-89 — Приборы полупроводниковые силовые. Общие технические условия.
- ГОСТ 2.730-73 — Единая система конструкторской документации. Обозначения условные графические в схемах. Приборы полупроводниковые.
Список литературы
- Нисидзава Д. «Оптическая и СВЧ электроника», М.: Наука.
- Зи С. «Физика полупроводниковых приборов», Книга 2. М.: Мир.
- Воронин П.А. «Силовые полупроводниковые ключи: семейства, характеристики, применение», М.: Додэка.
