Содержание страницы
- 1. Элементы механики жидкостей и теория расхода
- 2. Расходомеры переменного перепада давления
- 3. Расходомеры постоянного перепада давления (Ротаметры)
- 4. Тахометрические расходомеры: Считаем обороты
- 5. Электромагнитные расходомеры: Никакой механики
- 6. Ультразвуковые расходомеры: Звук на службе метрологии
- 7. Сравнительный анализ расходомеров
- 8. Интересные факты о расходометрии
- 9. Часто задаваемые вопросы (FAQ)
- Заключение
Измерение расхода — это процесс экспериментального определения количества вещества (жидкости, газа или пара), протекающего через поперечное сечение трубопровода или открытого канала за единицу времени.
Расходомер (Flowmeter) — это средство измерений (прибор), предназначенное для непрерывного измерения или контроля расхода вещества в текущем времени.
Важное техническое различие: Часто путают два понятия, которые в технике существенно различаются:
-
- Расходомер (Flowmeter): Показывает текущую скорость потока (например: «сейчас идет 5 кубов в час»).
- Счетчик количества (Counter/Totalizer): Показывает накопленный итог (интегральное значение) за определенный промежуток времени (например: «за месяц прошло 100 кубов»).
1. Элементы механики жидкостей и теория расхода
Для понимания того, как работают приборы учета, необходимо погрузиться в физику процесса. Движение жидкости в науке именуется течением, а вся совокупность движущихся частиц образует поток. В инженерной практике мы часто имеем дело с моделями, которые упрощают реальность для облегчения расчетов.
1.1. Уравнение Бернулли и сохранение энергии
Фундаментом гидравлики является закон сохранения энергии. Для установившегося (стационарного) движения несжимаемой идеальной жидкости (жидкости без внутреннего трения и вязкости) справедлив закон, описываемый знаменитым уравнением Бернулли:
Давайте разберем каждое слагаемое этого уравнения, чтобы понять его физический смысл:
- \(\frac{\rho \upsilon^2}{2}\) — динамическое давление или кинетическая энергия единицы объема движущейся жидкости (Дж/м³). Зависит от плотности \(\rho\) (кг/м³) и квадрата скорости \(\upsilon\) (м/с).
- \(\rho g h\) — гидростатическое давление положения, отражающее потенциальную энергию жидкости в поле силы тяжести, где \(h\) — высота столба жидкости.
- \(p\) — статическое давление, представляющее собой потенциальную энергию сил давления (Дж/м³).
1.2. Реальная жидкость и вязкость
В мире идеальных формул трения не существует. Однако при течении реальной жидкости между её слоями, движущимися с разными скоростями, неизбежно возникают силы внутреннего трения. Это свойство называется вязкостью.
Силы вязкости оказывают сопротивление перемещению слоев, что приводит к потерям энергии (напора). Существуют два режима течения, определяемых числом Рейнольдса (\(Re\)):
- Ламинарное: Слои жидкости скользят друг по другу плавно, без перемешивания.
- Турбулентное: Возникают вихри и хаотичное перемешивание частиц.
Если скорость потока \(\upsilon\) меняется во времени \(t\), такое течение называют нестационарным. Если же скорость неизменна во времени (хотя может меняться от точки к точке), течение называют стационарным.
1.3. Уравнение неразрывности
Для несжимаемых сред работает «золотое правило» гидравлики — уравнение неразрывности. Сколько жидкости вошло в трубу с одного конца, столько же должно выйти с другого:
Это означает, что при стационарном течении объемный расход жидкости постоянен в любом поперечном сечении \(S\) трубки тока. Если труба сужается (площадь \(S\) уменьшается), скорость \(\upsilon\) обязана возрасти.
1.4. Понятие расхода и его виды
Расход — это физическая величина, характеризующая количество вещества \(Q\), проходящее через поперечное сечение трубопровода \(S\) за единицу времени \(t\).
Важно различать два типа расхода, так как разные приборы измеряют разные величины:
- Объемный расход (\(Q\)): Измеряется в м³/с или м³/ч. Показывает объем, прошедший через сечение.
- Массовый расход (\(G\)): Измеряется в кг/с или т/ч. Связан с объемным расходом через плотность вещества \(\rho\):
Приборы для измерения расхода называются расходомерами. Если прибор оснащен интегратором (счетчиком) для суммирования массы или объема за определенный период, его часто называют счетчиком количества вещества.
1.5. Классификация методов измерения

Современная промышленность использует множество методов, которые можно классифицировать по физическому принципу:
- Расходомеры переменного перепада давления: Используют сужающее устройство (диафрагму, сопло), создающее перепад давления, зависящий от квадрата расхода.
- Расходомеры постоянного перепада давления (ротаметры): Поплавок перемещается в конической трубке; перепад давления постоянен, а меняется проходное сечение.
- Тахометрические: Турбинные или крыльчатые счетчики, где скорость вращения элемента пропорциональна скорости потока.
- Электромагнитные: Основаны на законе Фарадея — измерение ЭДС в проводящей жидкости, движущейся в магнитном поле.
- Вихревые: Измеряют частоту срыва вихрей (дорожка Кармана) за телом обтекания.
- Ультразвуковые: Анализируют разницу во времени прохождения звука по течению и против него.
2. Расходомеры переменного перепада давления
Этот класс приборов является самым распространенным в мировой практике для измерения расхода пара, газа и жидкостей в больших трубопроводах. Принцип основан на законе сохранения энергии: искусственное сужение потока вызывает рост скорости и падение давления.

Рис. 1. Расходомеры переменного перепада давления: а) схема с диафрагмой (сужающее устройство); б) общий вид установки с дифманометром.
2.1. Физика процесса в сужающем устройстве
Рассмотрим процесс детально (см. Рис. 1). Допустим, в круглой трубе установлена диафрагма — диск с отверстием.
При приближении потока к диафрагме площадь сечения уменьшается. Согласно уравнению неразрывности, скорость растет. Согласно уравнению Бернулли, статическое давление падает.
- Сечение 1 (до диафрагмы): Скорость \(\upsilon_1\), давление \(P_1\).
- Сечение 2 (после диафрагмы, в месте наибольшего сжатия струи): Здесь наблюдается максимальная скорость и минимальное давление \(P_2\).
- Сечение 3 (далее по потоку): Давление частично восстанавливается, но не полностью из-за потерь напора \(\Delta P_n\) на вихреобразование.
Геометрия характеризуется модулем сужающего устройства \(m\), равным отношению площади отверстия \(S_0\) к площади трубы \(S_1\):
Применяя уравнение Бернулли для сечений 1 и 2:
И уравнение неразрывности \(\rho_1 \upsilon_1 S_1 = \rho_2 \upsilon_2 S_2\), где \(S_2\) — это сечение сжатой струи, которое меньше отверстия диафрагмы \(S_0\). Мы вводим коэффициент сужения струи \(\mu = S_2 / S_0\).
2.2. Основное уравнение расхода
После математических преобразований для идеальной жидкости мы получаем теоретическую скорость. Однако для реальных условий вводится коэффициент расхода \(\alpha\) (учитывает потери на трение, сужение струи и профиль скоростей) и коэффициент расширения \(\varepsilon\) (для сжимаемых сред — газов, для жидкостей \(\varepsilon = 1\)).
Итоговая формула массового расхода, закрепленная в ГОСТ 8.586, выглядит так:
В упрощенном виде, как представлено в учебных материалах:
Где \(\Delta P = P_1 — P_2\) — перепад давления, измеряемый дифференциальным манометром.
3. Расходомеры постоянного перепада давления (Ротаметры)
Если в диафрагмах меняется давление при неизменном сечении, то в ротаметрах все наоборот: перепад давления постоянен, а меняется площадь проходного сечения.
3.1. Устройство и принцип действия
Ротаметр (см. Рис. 2) состоит из вертикальной конической трубы 1, расширяющейся кверху, и поплавка 2. Поток движется снизу вверх, поднимая поплавок.

Рис. 2. Ротаметры с конической трубкой: 1 — коническая трубка; 2 — поплавок; \(F_в\) — выталкивающие силы; \(F_н\) — силы, действующие вниз.
Поплавок зависает на такой высоте \(h\), где действующие на него силы уравновешиваются. Рассмотрим баланс сил:
- Силы, действующие вниз (\(F_н\)):
- Сила тяжести самого поплавка: \(F_п = V_п \rho_п g\) (где \(V_п\) — объем, \(\rho_п\) — плотность материала поплавка).
- Сила давления потока на верхнюю грань: \(F_{п.в} = P’_2 S_п\).
- Силы, действующие вверх (\(F_в\)):
- Сила давления на нижнюю грань: \(F_{п.н} = P’_1 S_п\).
- Сила вязкого трения потока о поплавок: \(F_{тр} = k \upsilon_к S_{бок}\).
3.2. Уравнение равновесия
В состоянии равновесия \(F_н = F_в\). После преобразований получаем, что разность давлений (\(P_1 — P_2\)) уравновешивается весом поплавка в среде (с учетом силы Архимеда). Поскольку вес поплавка неизменен, то и перепад давления на нем остается постоянным.
Расход определяется площадью кольцевого зазора между поплавком и стенкой трубы. Чем выше поднимается поплавок, тем больше зазор.
Ротаметры требуют индивидуальной градуировки. Если вы используете ротаметр, откалиброванный на воде, для измерения масла, показания будут неверны из-за разницы в плотности и вязкости. Формула пересчета:
4. Тахометрические расходомеры: Считаем обороты
Тахометрические приборы — это «рабочие лошадки» квартирного учета воды. Принцип прост: поток вращает крыльчатку или турбину, а скорость вращения прямо пропорциональна скорости потока.
4.1. Конструктивные особенности
Существует два основных типа турбинных преобразователей (см. Рис. 3):
- Аксиальные (осевые): Ось вращения совпадает с направлением потока. Лопасти выполнены в виде винта (Рис. 3а). Применяются для больших расходов и диаметров.
- Тангенциальные: Ось перпендикулярна потоку (как в водяной мельнице). Применяются в малых счетчиках (Ду 10–50 мм) (Рис. 3б).

Рис. 3. Тахометрические расходомеры: а) с аксиальной турбинкой (ось вдоль потока); б) с тангенциальной турбинкой (ось поперек потока).
4.2. Передаточная функция
Число оборотов \(n\) связано с расходом \(Q\) зависимостью:
Однако в реальности на коэффициент \(k\) влияют вязкость \(\nu\), плотность \(\rho\), и момент трения в подшипниках \(M_{тр}\). Зависимость принимает вид:
Где \(z\) — число лопастей, \(H\) — шаг винта.
Проблема механического износа: Главный враг тахометрических расходомеров — трение. Опоры вращения (подшипники) изнашиваются, особенно если жидкость содержит абразивные частицы (песок). Это приводит к тому, что со временем счетчик начинает «врать» в меньшую сторону (тормозится сильнее). Поэтому для газов (которые не смазывают подшипники) такие приборы применяют реже или используют специальные системы смазки.
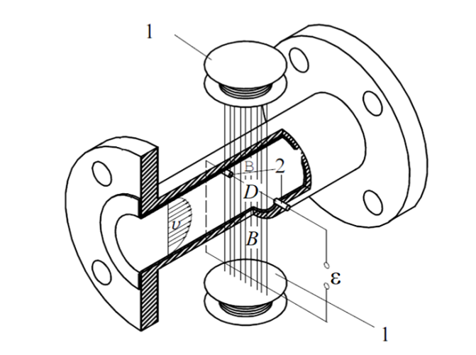
5. Электромагнитные расходомеры: Никакой механики
Этот тип приборов считается одним из самых надежных для измерения токопроводящих жидкостей (вода, молоко, кислоты, пульпа).
5.1. Принцип действия
В основе лежит закон электромагнитной индукции Фарадея. Если проводник движется в магнитном поле, в нем наводится электродвижущая сила (ЭДС). В данном случае роль проводника выполняет сама жидкость.

Рис. 4. Схема электромагнитного расходомера: 1 — электромагнит; 2 — электроды для съема сигнала; \(B\) — магнитная индукция; \(\upsilon\) — скорость потока.
Конструкция (Рис. 4) включает трубу из немагнитного материала, внутри которой есть изоляционное покрытие (футеровка), чтобы сигнал не замыкался на корпус. Снаружи установлены электромагниты 1, создающие поле с индукцией \(B\). Два электрода 2 контактируют с жидкостью.
5.2. Математическая модель
Индуцируемая ЭДС \(\varepsilon\) рассчитывается как:
Где \(D\) — расстояние между электродами (диаметр трубы). Подставляя выражение для объемного расхода, получаем:
Преимущества очевидны:
- Нет выступающих частей внутри трубы (нет потери давления).
- Линейная шкала.
- Нечувствительность к вязкости и плотности.
- Возможность измерения агрессивных и абразивных сред (зависит только от материала футеровки и электродов).
6. Ультразвуковые расходомеры: Звук на службе метрологии
Ультразвуковые (акустические) расходомеры — это современные, часто накладные приборы, позволяющие измерять расход без врезки в трубу.
6.1. Времяимпульсный метод (Transit-Time)
Метод основан на измерении разницы времени прохождения ультразвукового импульса по течению и против него (Рис. 5).
Представьте пловца. Плыть по течению реки ему легче и быстрее, чем против течения. То же самое происходит со звуковой волной.

Рис. 5. Схема ультразвукового расходомера: ПЭП1 и ПЭП2 — пьезоэлектрические преобразователи; \(\alpha\) — угол ввода луча.
6.2. Расчет скорости потока
Скорость звука в неподвижной среде обозначим \(c_0\).
Скорость звука по потоку: \(c_1 = c_0 + \upsilon \cos\alpha\).
Скорость звука против потока: \(c_2 = c_0 — \upsilon \cos\alpha\).
Времена прохождения сигнала на расстоянии \(L_A\) составят:
Измеряя разность \(\Delta t = t_2 — t_1\), можно вычислить скорость потока \(\upsilon\), исключив скорость звука \(c_0\):
(Формула упрощена для наглядности, точное выражение зависит от конкретной реализации). Итоговый расход:
Где \(K\) — поправочный коэффициент, учитывающий, что ультразвук измеряет среднюю скорость по линии луча, а нам нужна средняя скорость по сечению (учет эпюры скоростей).
7. Сравнительный анализ расходомеров
Для правильного выбора прибора необходимо сопоставить их характеристики. Ниже представлена таблица сравнения основных типов.
| Тип расходомера | Принцип действия | Преимущества | Недостатки | Применение |
|---|---|---|---|---|
| Перепад давления (Диафрагмы) | Закон Бернулли (\(\Delta P \sim Q^2\)) | Универсальность, нормированы ГОСТ, работают при экстремальных T и P | Потеря давления, узкий диапазон (3:1), износ кромок | Пар, газ, вода на больших диаметрах (ТЭЦ, заводы) |
| Ротаметры | Постоянный перепад (баланс сил) | Простота, не нужно питание, наглядность | Только вертикальная установка, не подходят для высоких давлений, хрупкость | Лаборатории, медицина, малые расходы газов |
| Тахометрические (Турбинные) | Вращение крыльчатки | Дешевизна, автономность, простота монтажа | Механический износ, чувствительность к загрязнениям, инерционность | Квартирный учет воды (ЖКХ), чистые нефтепродукты |
| Электромагнитные | Э/м индукция (Закон Фарадея) | Нет потерь давления, высокая точность, широкий диапазон (100:1) | Только для токопроводящих жидкостей, высокая стоимость, энергозависимость | Сточные воды, пищевая промышленность, химия, теплосети |
| Ультразвуковые | Акустический (время пролета) | Накладной монтаж (без врезки), широкий диапазон, нет потерь давления | Чувствительность к пузырькам газа и взвесям (для времяимпульсных), цена | Коммерческий учет газа, воды, проверка других счетчиков |
8. Интересные факты о расходометрии
- 1. Эффект Кориолиса. Существуют массовые расходомеры, использующие силу Кориолиса — инерционную силу, возникающую при вращении. Они «взвешивают» протекающую жидкость в реальном времени с точностью до 0,1% и считаются эталоном в нефтегазе.
- 2. Древний Египет. Ниломеры — одни из первых «уровнемеров-расходомеров», использовались жрецами для предсказания разливов Нила и установления налогов еще 5000 лет назад.
- 3. Кровь — тоже жидкость. В медицине используются ультразвуковые доплеровские расходомеры для измерения скорости кровотока в сосудах человека без хирургического вмешательства.
- 4. Сверхчистая вода. Электромагнитные расходомеры не могут измерить расход дистиллированной или деионизированной воды, так как она является диэлектриком.
- 5. Квадратичная зависимость. В расходомерах на сужающих устройствах увеличение расхода в 2 раза приводит к росту перепада давления в 4 раза, а в 3 раза — в 9 раз. Это «съедает» энергию насосов.
- 6. Вихревая дорожка Кармана. Если в поток поместить плохо обтекаемое тело (например, стержень), за ним будут образовываться вихри. Частота их срыва прямо пропорциональна скорости потока. На этом принципе работают вихревые расходомеры.
- 7. Газ или жидкость? Сверхкритические флюиды (состояния вещества при высоких давлениях и температурах) обладают плотностью жидкости, но вязкостью газа, что создает уникальные сложности для измерения.
9. Часто задаваемые вопросы (FAQ)
Заключение
Измерение расхода — это сложная инженерная задача, лежащая на стыке гидродинамики, акустики и электромагнетизма. Мы рассмотрели эволюцию методов от простейших трубок Вентури до сложных ультразвуковых систем. Понимание физических основ, таких как уравнение Бернулли и закон электромагнитной индукции, позволяет инженерам выбирать правильное оборудование, обеспечивая точность учета ресурсов и эффективность технологических процессов.
Нормативная база и литература
- ГОСТ 8.586.1-2005 (ИСО 5167-1:2003). ГСИ. Измерение расхода и количества жидкостей и газов с помощью стандартных сужающих устройств. Часть 1. Принцип метода измерений и общие требования.
- ГОСТ 8.586.5-2005. ГСИ. Измерение расхода и количества жидкостей и газов с помощью стандартных сужающих устройств. Методика выполнения измерений.
- ГОСТ Р 8.740-2011. ГСИ. Расход и количество газа. Методика измерений с помощью турбинных, ротационных и вихревых расходомеров и счетчиков.
- ГОСТ 8.611-2013. ГСИ. Расход и количество газа. Методика (метод) измерений с помощью ультразвуковых преобразователей расхода.
- ГОСТ 28723-90. Расходомеры скоростные, электромагнитные и вихревые. Общие технические требования и методы испытаний.
- Кремлевский П.П. Расходомеры и счетчики количества веществ: Справочник. — СПб.: Политехника, 2002.
- Хансуваров К.И., Цейтлин В.Г. Техника измерения давления, расхода, количества и уровня жидкости, газа и пара. — М.: Издательство стандартов, 1990.
