Содержание страницы
- 1. Структурная схема и принцип действия приборов прямого действия
- 2. Магнитоэлектрические приборы: Точность и линейность
- 3. Магнитоэлектрические логометры: Измерение отношений
- 4. Электромагнитные приборы: Простота и надежность
- 5. Сравнительная таблица типов приборов
- 6. Интересные факты
- 7. FAQ: Часто задаваемые вопросы
- Заключение
Электромеханические измерительные приборы — это класс устройств, которые преобразуют энергию электромагнитного поля в механическую работу по перемещению указателя (стрелки). Проще говоря, они делают невидимое электричество видимым для человеческого глаза.
1. Структурная схема и принцип действия приборов прямого действия
Большая группа используемых в настоящее время аналоговых измерительных средств построена на базе электромеханических преобразователей. Это классика метрологии, которая, несмотря на цифровую революцию, сохраняет актуальность там, где важна мгновенная оценка тренда изменений.
Суть работы всех этих устройств едина: они преобразуют измеряемую электрическую величину (ток, напряжение) в механическое перемещение, удобное для восприятия оператором. Спектр применения огромен: измерение силы тока (амперметры), напряжения (вольтметры), мощности (ваттметры), частоты, фазовых сдвигов и сопротивлений.
В сфере автомобильного транспорта роль этих приборов критически важна. Здесь они часто выступают вторичными устройствами, измеряющими неэлектрические величины, предварительно преобразованные датчиками в электрический сигнал. Примеры включают:
- Температуру охлаждающей жидкости;
- Давление масла;
- Уровень топлива в баке;
- Скорость движения (спидометр) и число оборотов двигателя (тахометр).
Структурную схему приборов прямого действия можно разложить на последовательные этапы преобразования, как показано на Рисунке 1.

Рис. 1. Структурная схема приборов прямого действия
Давайте разберем эту схему подробно:
- Измерительная цепь: Это «входные ворота» прибора. Она обеспечивает преобразование первичной измеряемой электрической величины \( X \) в некоторую промежуточную величину \( Y \) (обычно это ток или напряжение), которая функционально связана с \( X \).Пример: Если нужно измерить высокое напряжение (скажем, 220 В), а механизм рассчитан на милливольты, измерительная цепь (в данном случае добавочный резистор) понизит его до приемлемого уровня.
- Измерительный механизм: Это «сердце» прибора. Величина \( Y \) непосредственно воздействует на него. Главная задача механизма — преобразовать электромагнитную энергию в механическую работу, необходимую для отклонения подвижной части на угол \( \alpha \).
Уникальность этой структуры в унификации. Различные измерительные цепи позволяют использовать один и тот же измерительный механизм для измерения совершенно разнородных величин: напряжения, тока, сопротивления или температуры. То есть, меняется только входная часть, а стрелочный узел остается неизменным.
\( \alpha = f[Y(x)] = F(x) \)
Где \( \alpha \) — угол отклонения стрелки, являющийся функцией от входного параметра \( x \).
2. Магнитоэлектрические приборы: Точность и линейность
Магнитоэлектрическая система (часто называемая системой Д’Арсонваля) считается одной из самых точных и чувствительных. Принцип действия этих приборов основан на фундаментальном физическом законе — взаимодействии магнитного поля постоянного магнита и магнитного поля проводника (контура) с током.
Конструктивно измерительные механизмы делятся на два основных типа:
- С подвижной рамкой (наиболее распространены);
- С подвижным магнитом (встречаются реже, более устойчивы к перегрузкам).

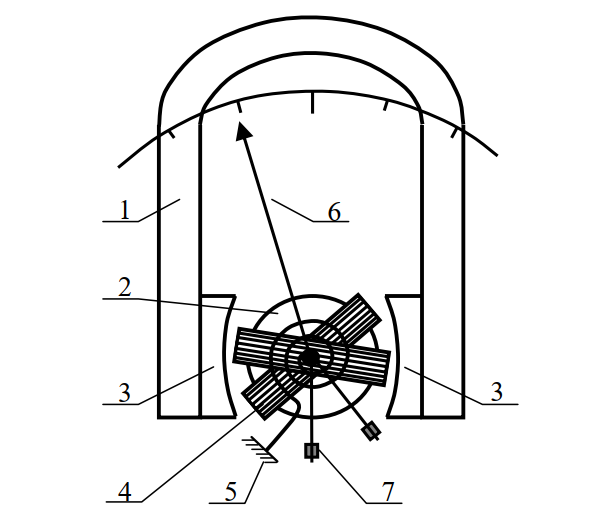
Рис. 2. Устройство магнитоэлектрического прибора
Рассмотрим детальное устройство механизма, представленное на Рисунке 2. Описание компонентов строго соответствует их нумерации на схеме, так как каждый элемент выполняет критическую функцию:
- 1 – Корректор: Механический винт на лицевой панели, который позволяет выставить стрелку точно на «ноль» при отсутствии тока. Он механически поворачивает точку крепления пружины.
- 2 – Две спиральные пружины: Выполняют двойную функцию. Во-первых, они служат для подвода электрического тока к подвижной рамке. Во-вторых, они создают противодействующий момент, который стремится вернуть стрелку в нулевое положение. Изготавливаются обычно из фосфористой бронзы, так как она немагнитна и обладает отличной упругостью.
- 3 – Рамка: Легкая конструкция из тонкого изолированного провода, намотанного на алюминиевом каркасе. Почему алюминий? Это важно: при движении каркаса в магнитном поле в алюминии возникают вихревые токи (токи Фуко), которые тормозят резкие движения, обеспечивая успокоение стрелки.
- 4 – Полюсные наконечники: Специальные насадки на магнит, которые формируют геометрию поля. Вместе с цилиндром (6) они образуют однородное радиальное магнитное поле.
- 5 – Стрелка: Легкий указатель (часто трубчатый или плоский), визуализирующий показания.
- 6 – Стальной цилиндр: Расположен внутри рамки неподвижно. Он необходим для уменьшения магнитного сопротивления зазора и обеспечения радиальности магнитных силовых линий (чтобы они входили в рамку перпендикулярно в любой точке поворота).
- 7 – Постоянный магнит: Источник сильного и стабильного магнитного поля.
- 8 – Грузики: Крошечные балансировочные элементы на хвостовике стрелки. Они нужны для балансировки подвижной части прибора, чтобы показания не зависели от наклона корпуса.
- 9 – Неподвижная катушка: (В варианте с подвижным магнитом) создает управляющее поле.
- 10 – Магнитоиндукционный успокоитель: Медный или алюминий стакан (или пластина), выполняющий функции демпфера колебаний.
Математическая модель и уравнение шкалы
Вращающий момент \( M_{vr} \), действующий на рамку, определяется законом Ампера. Противодействующий момент \( M_{pr} \) создается пружинами.
Противодействующий момент: \( M_{pr} = K_{pr} \cdot \alpha \)
В установившемся режиме моменты равны (\( M_{vr} = M_{pr} \)). Отсюда получаем уравнение шкалы:
Где:
- \( \alpha \) – угол поворота стрелки;
- \( B \) – магнитная индукция в воздушном зазоре (Тесла);
- \( w \) – число витков катушки;
- \( S = b \cdot l \) – активная площадь катушки (\( b \) – ширина, \( l \) – длина каркаса);
- \( K_{pr} \) – жесткость спиральных пружин (удельный противодействующий момент).
- \( I \) – измеряемый ток.
Комплекс постоянных величин можно обозначить как чувствительность прибора по току \( S_I \):
Таким образом, \( \alpha = S_I \cdot I \). Из этой формулы следует важнейший вывод: шкала магнитоэлектрических приборов является линейной (равномерной), что делает их исключительно удобными для считывания показаний.
Преимущества и Недостатки:
Достоинства (подвижная катушка):
- Высочайшая чувствительность (могут измерять микроамперы).
- Высокая точность (классы точности 0.1, 0.2, 0.5).
- Линейность шкалы.
- Малое собственное потребление энергии.
Достоинства (подвижный магнит):
- Огромная перегрузочная способность.
- Малые габариты и простота.
- Низкая стоимость.
Общий недостаток: Работают только на постоянном токе (без выпрямителей) и чувствительны к перегрузкам (особенно рамочные).
3. Магнитоэлектрические логометры: Измерение отношений
Слово «логометр» происходит от греческого logos — отношение. Магнитоэлектрический механизм с двумя катушками (рамками), жестко скрепленными на одной оси, называют логометром. Это гениальное изобретение позволило создать приборы, показания которых не зависят от напряжения источника питания, что критически важно для бортовой сети автомобиля, где напряжение может «гулять» от 11 до 14.5 Вольт.

Рис. 3. Магнитоэлектрический логометр
Рассмотрим устройство логометра, представленное на Рисунке 3, обращая внимание на отличия от обычного гальванометра:
- 1 – Постоянный магнит: Источник поля.
- 2 – Сердечник (Стальной цилиндр): В отличие от предыдущего типа, здесь он может иметь овальную форму или срезы.
- 3 – Полюсные наконечники: Имеют специальный профиль.
- 4 – Две рамки: Жестко скреплены друг с другом под определенным углом (обычно 60° или 90°).
- 5 – Три спиральные пружины: ВНИМАНИЕ! Это ключевое отличие. Пружины здесь очень мягкие и «безмоментные». Они установлены так, чтобы их механические моменты взаимно компенсировались. Они используются только как токоподводы. Механический противодействующий момент отсутствует.
- 6 – Стрелка.
- 7 – Грузики.
Особенности работы и физика процесса
В чем «соль» этого устройства?
- Неравномерный зазор: Воздушный зазор между наконечниками (3) и сердечником (2) специально сделан неравномерным. Магнитная индукция \( B \) распределяется так: в центре она максимальна, а к краям падает.
- Борьба моментов: Токи в рамках направлены так, что создаваемые ими вращающие моменты действуют в противоположные стороны.
\( M_1 = B_1(\alpha) \cdot F_1 \cdot w_1 \cdot I_1 \)
\( M_2 = B_2(\alpha) \cdot F_2 \cdot w_2 \cdot I_2 \)
Подвижная часть поворачивается до тех пор, пока моменты не уравновесятся (\( M_1 = M_2 \)). Рамка с бóльшим током стремится в область слабого поля, а рамка с меньшим током втягивается в сильное поле. Равновесие наступает в точке, зависящей только от соотношения токов.
\( B_1(\alpha) \cdot I_1 = B_2(\alpha) \cdot I_2 \) (упрощенно, при одинаковых рамках)
\( \frac{B_1(\alpha)}{B_2(\alpha)} = \frac{I_2}{I_1} \)
Так как распределение индукции \( B(\alpha) \) — это известная конструктивная функция, то угол поворота зависит только от отношения токов:
Почему это важно для автомобиля?
Если напряжение в сети упадет, то токи \( I_1 \) и \( I_2 \) уменьшатся пропорционально (одновременно). Их отношение \( I_1/I_2 \) останется неизменным, и стрелка не сдвинется. Именно поэтому логометры идеальны для измерения температуры двигателя, уровня топлива и сопротивления (мегомметры).
4. Электромагнитные приборы: Простота и надежность
Электромагнитные приборы — это «рабочие лошадки» в щитовых измерениях переменного тока. Их принцип действия основан на втягивании ферромагнитного сердечника в катушку с током или отталкивании двух намагниченных сердечников.

Рис. 4. Электромагнитный прибор
Конструкция, показанная на Рисунке 4, включает:
- 1 – Неподвижная катушка: Обтекается измеряемым током. Обычно намотана толстым проводом (для амперметров).
- 2 – Подвижный ферромагнитный сердечник: Пластинка из мягкого железа, эксцентрично укрепленная на оси 3.
- 3 – Ось подвижной системы.
- 4 – Спиральная пружина: Создает противодействующий момент.
В механизме обязательно используются успокоители (воздушные или жидкостные), так как собственное магнитное демпфирование здесь слабое.
Уравнение шкалы и квадратичная зависимость
Энергия магнитного поля катушки равна \( W = \frac{L \cdot I^2}{2} \). Вращающий момент стремится увеличить индуктивность \( L \) системы (втянуть сердечник):
Приравнивая к моменту пружины \( K_{pr} \cdot \alpha \), получаем:
1. Шкала неравномерна (сжата в начале и растянута в конце).
2. Полярность тока не важна! Минус на минус дает плюс. Поэтому прибор работает и на постоянном, и на переменном токе без выпрямителей.
Конструкторы научились бороться с неравномерностью шкалы, подбирая особую форму лепестка сердечника (2), чтобы производная \( dL/d\alpha \) компенсировала квадратичность. Это позволяет сделать шкалу «почти равномерной» начиная с 15-20% диапазона.
Недостатки:
1. Влияние внешних магнитных полей (нужно экранирование).
2. Гистерезис (погрешность при перемагничивании сердечника) — на постоянном токе показания могут быть чуть выше, на переменном — ниже.
3. Низкая чувствительность (нужны большие токи для создания момента).
5. Сравнительная таблица типов приборов
| Характеристика | Магнитоэлектрические | Логометры | Электромагнитные |
|---|---|---|---|
| Принцип действия | Взаимодействие рамки с током и постоянного магнита | Взаимодействие полей двух рамок в неравномерном поле | Втягивание сердечника в катушку |
| Род тока | Постоянный (DC) | Постоянный (DC) | Переменный (AC) и Постоянный (DC) |
| Шкала | Равномерная (Линейная) | Зависит от конструкции полюсов | Квадратичная (неравномерная) |
| Зависимость от U питания | Есть (нужен стабильный источник) | Нет (измеряет отношение) | Зависит |
| Точность | Очень высокая | Средняя | Низкая / Средняя |
| Применение в авто | Амперметры, современные тахометры | Топливомеры, Термометры | Редко (в основном промышленные щиты) |
6. Интересные факты
- Виброустойчивость: В авиационных приборах подвижная часть балансируется с точностью до микрограмма, чтобы перегрузки при взлете (g-force) не отклоняли стрелку.
- Зеркальная шкала: На точных лабораторных приборах под стрелкой есть зеркальная полоса. Чтобы снять точное показание, оператор должен закрыть один глаз и совместить стрелку с её отражением — это убирает ошибку параллакса (угла зрения).
- Материалы: Керны (оси) приборов часто опираются на камни из синтетического рубина или сапфира, как в дорогих швейцарских часах, для минимизации трения.
- Гистерезис: Электромагнитные приборы могут «врать» после сильного скачка тока, так как железо внутри остаётся немного намагниченным.
- Успокоение: Без успокоителя стрелка чувствительного прибора может качаться туда-сюда несколько минут. Инженеры используют воздух, масло или электромагнитное торможение.
- Мегомметры: Старые мегомметры с ручкой (генератором) — это классические логометры. Чем быстрее крутишь, тем выше напряжение, но показания сопротивления не меняются благодаря логометрическому принципу.
- Биметалл: В самых простых старых автомобилях приборы были не магнитными, а тепловыми (биметаллическими). Ток нагревал пластину, она изгибалась и тянула стрелку. Они были очень медленными, но дешевыми.
7. FAQ: Часто задаваемые вопросы
Заключение
Электромеханические приборы, несмотря на почтенный возраст технологии, остаются фундаментом метрологии. Понимание принципов их работы — магнитоэлектрического, логометрического и электромагнитного — необходимо не только инженерам-конструкторам, но и специалистам по диагностике автомобилей, энергетике и автоматизации. Эти устройства демонстрируют элегантную связь между электрическими и механическими явлениями, обеспечивая надежный контроль параметров в самых суровых условиях эксплуатации.
Нормативная база
- ГОСТ 30012.1-2002 (МЭК 60051-1:1997) — Приборы аналоговые показывающие электроизмерительные прямого действия и вспомогательные части к ним. Часть 1. Определения и основные требования.
- ГОСТ 8.401-80 — Классы точности средств измерений. Общие требования.
- ГОСТ 5365-83 — Приборы электроизмерительные. Циферблаты и шкалы. Общие технические требования.
- ГОСТ 23913-79 — Средства измерений электроимерительные. Общие технические условия.
Список литературы
- Атамалян Э. Г. Приборы и методы измерения электрических величин: Учебное пособие. — М.: Дрофа, 2005. — 416 с.
- Панфилов В. А. Электрические измерения: Учебник. — М.: Форум: ИНФРА-М, 2021. — 224 с.
- Тартаковский Д. Ф., Ястребов А. С. Метрология, стандартизация и технические средства измерений. — М.: Высшая школа, 2018. — 213 с.
