Содержание страницы
- 1. Физическая природа тензоэффекта
- 2. Основные характеристики и параметры
- 3. Источники погрешностей и методы борьбы с ними
- 4. Конструкция и типы тензорезисторов
- 5. Схемы включения: Мост Уитстона
- 6. Практическое применение и виды измерений
- 7. Комплексные измерительные системы
- 8. Сравнительная таблица материалов тензорезисторов
- 9. Преимущества и недостатки тензометрического метода
- 10. Интересные факты о тензометрии
- 11. FAQ: Часто задаваемые вопросы
- Заключение
Тензорезистор (или тензодатчик сопротивления) — это фундаментальный элемент современной измерительной техники, представляющий собой резистор, сопротивление которого изменяется при его деформации. Простыми словами, это устройство, которое «чувствует» растяжение или сжатие детали, на которую оно наклеено, и переводит это механическое изменение в понятный электрический сигнал.
История создания: Фундамент тензометрии был заложен лордом Кельвином (Уильямом Томсоном) еще в 1856 году, когда он обнаружил, что сопротивление железной и медной проволоки меняется при их растяжении. Однако практическое применение это открытие нашло лишь спустя почти век. Современный фольговый тензорезистор был изобретен независимо двумя учеными в конце 1930-х годов: Эдвардом Симмонсом (Калифорнийский технологический институт) и Артуром Руге (Массачусетский технологический институт). Их изобретение произвело революцию в инженерии, позволив точно измерять напряжения в конструкциях самолетов, мостов и машин.

1. Физическая природа тензоэффекта
Тензорезисторами называют измерительные преобразователи, осуществляющие преобразование механических деформаций в изменение электрического сопротивления. Принцип их действия основан на тензоэффекте. Тензоэффектом называется свойство проводниковых и полупроводниковых материалов изменять свое электрическое сопротивление при изменении объёма или напряжённого состояния кристаллической решетки.
Изменение сопротивления \( R \) проводника описывается полным дифференциалом формулы сопротивления \( R = \rho \frac{l}{S} \):
Где:
\( \rho \) — удельное сопротивление материала;
\( l \) — длина проводника;
\( S \) — площадь поперечного сечения.
1.1. Особенности полупроводниковых материалов
У полупроводниковых материалов тензоэффект имеет иную природу, чем у металлов. Он связан не столько с изменением геометрии, сколько со значительным изменением удельного сопротивления \( \rho \) под действием механических напряжений. Знак тензоэффекта (увеличение или уменьшение сопротивления) напрямую зависит от типа проводимости полупроводникового материала (p-тип или n-тип), а величина эффекта — от выбранного кристаллографического направления.
Наиболее ярко тензорезистивный эффект выражен в монокристаллах германия и кремния. Однако в современной промышленности для создания полупроводниковых тензорезистивных элементов применяются преимущественно кремний.
Почему кремний победил германий?
- Высокая тензочувствительность: Кремниевые датчики в 50-80 раз чувствительнее проволочных.
- Механическая прочность: Кремний — чрезвычайно упругий материал, практически лишенный гистерезиса (остаточной деформации) до точки разрушения.
- Температурная стойкость: Выдерживает более высокие рабочие температуры.
Важно отметить, что тензометрические свойства кремния анизотропны, то есть зависят от направления вырезки кристалла относительно осей кристаллической решетки. Наибольшей тензочувствительностью обладают те тензорезисторы, у которых направление прикладываемой деформации строго совпадает с оптимальным кристаллографическим направлением (обычно [111] или [100] в зависимости от типа легирования).
2. Основные характеристики и параметры
Для правильного выбора датчика инженер должен понимать ключевые параметры, которыми характеризуются тензорезисторы:
- Тензочувствительность (\( K_T \)): Коэффициент преобразования механической деформации в электрический сигнал.
- Номинальное сопротивление (\( R \)): Начальное сопротивление без нагрузки.
- Допустимая деформация (\( \varepsilon_{add} \)): Предел, до которого датчик работает линейно и без разрушения.
- Погрешность преобразования: Совокупность температурных и гистерезисных ошибок.
2.1. Математика чувствительности
Для обоих видов тензочувствительных материалов (проводниковых и полупроводниковых) тензоэффект количественно характеризуется величиной коэффициента тензочувствительности. Он устанавливает связь между относительным изменением сопротивления и относительной деформацией в направлении измерений.
Чувствительность тензорезистора описывается зависимостью:
Где:
\( R \) – номинальное начальное сопротивление тензорезистора при заданной температуре окружающей среды в отсутствии механических нагрузок;
\( l \) – начальная длина недеформированного тензочувствительного элемента (база);
\( \Delta R \) – абсолютное изменение сопротивления тензорезистора, вызванное деформацией;
\( \Delta l \) – абсолютное изменение длины тензочувствительного элемента вследствие деформации.
2.2. Рабочие диапазоны
Величины номинального сопротивления для классических проволочных и фольговых тензорезисторов стандартизированы и обычно находятся в пределах 10…800 Ом (наиболее популярные стандарты — 120, 350 и 700 Ом).
Для полупроводниковых тензорезисторов этот диапазон значительно шире и составляет 50…50 000 Ом, что позволяет создавать датчики с высоким выходным сигналом при малом токе потребления.
Критической характеристикой является допустимая деформация (\( E_{add} \)). Её превышение катастрофично: оно приводит к появлению необратимых остаточных деформаций, дрейфу нуля, а при дальнейшем увеличении нагрузки — к обрыву проволочных проводников или хрупкому разрушению пластины полупроводниковых преобразователей.
Для стандартных металлических тензорезисторов допустимая относительная деформация составляет \( \varepsilon_{add} = (3 \dots 5) \cdot 10^{-3} \) (или 3000–5000 мкм/м).
3. Источники погрешностей и методы борьбы с ними
В реальных условиях эксплуатации идеальная линейная характеристика искажается. Погрешности измерения тензорезисторами возникают за счёт следующих основных факторов:
- Температурный фактор: Это враг №1. Влияние температуры проявляется двояко: меняется собственное сопротивление материала (терморезистивный эффект) и происходит температурное расширение самого датчика и детали, на которую он наклеен. Если их коэффициенты расширения не совпадают, возникает «мнимая деформация».
- Ползучесть (Creep): Изменение показаний во времени при постоянной нагрузке. Это вызывается релаксацией напряжений в клеевом слое и материале подложки при длительном действии значительных нагрузок, близких к допустимым.
- Гистерезис: Невоспроизводимость характеристики преобразования при цикле «нагрузка — разгрузка». Показания при увеличении силы могут не совпадать с показаниями при её уменьшении.
- Старение: Изменение крутизны характеристики преобразования со временем. Особенно этому подвержены клеящие компоненты, которые могут рассыхаться или впитывать влагу.
- Динамические ошибки: Снижение чувствительности при увеличении частоты деформаций. Это происходит, когда длина звуковой волны деформации, распространяющейся в детали, становится соизмеримой с геометрической длиной (базой) преобразователя. Датчик просто не успевает «усреднить» волну.
4. Конструкция и типы тензорезисторов
Конструктивно тензорезистор представляет собой чувствительный элемент в виде зигзагообразного проводника (решетки), нанесённого на гибкую изолирующую подложку. Такая форма («змейка») выбирается не случайно: она позволяет максимизировать длину проводника в направлении измерения деформации, сохраняя компактные размеры датчика.

Описание конструкции (см. Рис. 1):
Общий вид и различные типы тензорезисторов представлены на рисунке выше. Основой служит полоска тонкой рисовой бумаги (в старых моделях) или, что гораздо чаще сегодня, эластичная полимерная плёнка 1 (обычно полиимид или фенолформальдегид). В эту основу вклеивается или на неё наносится решётка.
В случае проволочных датчиков — это зигзагообразно уложенная тонкая проволока 2 диаметром всего 0,02…0,05 мм (обычно из константана).
Однако на современной полимерной основе решётка обычно не укладывается вручную, а протравливается из тончайшей фольги методом фотолитографии, аналогично печатным платам.
К концам чувствительной решетки надежно присоединяются (методом точечной сварки или пайки) более толстые выводные медные проводники 3 для подключения к измерительной аппаратуре.
Сверху весь преобразователь покрывается защитным слоем лака (также обозначен как часть элемента 1 для герметизации), оберегающим тонкую структуру от влаги и механических повреждений.
Принцип работы в сборе: Такой преобразователь приклеивается к испытуемой детали специальным жестким клеем (цианакрилатным или эпоксидным). Клей передает деформации поверхностного слоя детали на подложку, а та — на решетку. Таким образом, естественной входной величиной наклеиваемого тензопреобразователя является деформация поверхностного слоя детали, на которую он наклеен, а выходной – изменение омического сопротивления преобразователя, строго пропорциональное этой деформации.
4.1. Технологии изготовления
Тензорезисторы, изготовленные методом фотохимического травления из константановой фольги, имеют толщину всего 4…12 мкм. Они образуют плоскую решётку с широкими площадками для выводов, как показано на схеме рис. 1. Такая планарная технология позволяет изготавливать на одной подложке не просто одиночные резисторы, а целые «розетки» — несколько тензорезисторов, ориентированных в перпендикулярных направлениях или под углом 45 градусов. Это необходимо для анализа сложных двухосных напряженных состояний.
В последние годы развитие микроэлектроники породило ещё один способ массового изготовления тензорезисторов, заключающийся в вакуумной возгонке (напылении) тензочувствительного материала и последующей конденсации его на подложку через маску. Такие тензорезисторы получили название плёночных. Они отличаются высочайшей стабильностью и миниатюрностью.
5. Схемы включения: Мост Уитстона
Изменение сопротивления тензорезистора очень мало (сотые доли ома). Обычным омметром его измерить невозможно. Поэтому в качестве измерительной цепи для тензорезисторов обычно применяют мостовую схему (мост Уитстона) или делитель напряжения.
Делитель напряжения с питанием постоянным током применяют редко — лишь в том случае, когда интересуются только переменной составляющей измеряемой величины (динамические удары, вибрации). При этом постоянная составляющая падения напряжения на сопротивлении \( R_n \) тензопреобразователя, которая в сотни раз превышает полезный сигнал, отфильтровывается разделительным конденсатором \( C \).
Во всех других случаях (статика и динамика) в качестве измерительной цепи используется одинарный мост постоянного или переменного тока, показанный на рис. 2.

Анализ схемы (Рис. 2):
Тензорезисторы обычно включают в одно плечо (четверть-мост) или в два плеча \( R_{T1} \), \( R_{T2} \) моста постоянного тока (полумост).
Схема включения в два плеча выполняется обычно тензорезисторами с перпендикулярной ориентацией:
- Первый тензорезистор (\( R_{T1} \)) располагают вдоль линии действия основной деформации (растяжение/сжатие).
- Второй (\( R_{T2} \)) — перпендикулярно этой линии (где действует деформация Пуассона).
Такое включение позволяет не только увеличить полезный сигнал (за счет сложения эффектов), но и существенно ослабить температурную зависимость. Если температура детали изменится, сопротивления обоих резисторов изменятся одинаково, и баланс моста не нарушится. Это применяется на объектах с изменяющейся температурой (двигатели, уличные конструкции).
Работа схемы:
Питание моста осуществляется в диагональ AC. Мост предварительно уравновешивают балансировочными резисторами \( R1 \) или \( R2 \) в отсутствии приложенной силы, добиваясь нулевого напряжения на выходе.
Сигнал разбаланса моста формируется в измерительной диагонали BD. Этот сигнал, пропорциональный деформации, затем поступает в указатель равновесия (УР) — усилитель или АЦП. Указатель равновесия градуируют непосредственно в единицах измеряемого механического напряжения (Па) или силы (Н).
6. Практическое применение и виды измерений
На исследуемую деформируемую поверхность тензорезисторы обычно приклеивают специальными клеями или используют специальные механические захваты (для съемных датчиков). Путем изменения формы упругого элемента (тела датчика) и типа захватов создаются тензометры различных назначений:
- Датчики силы (Load Cells) для весов.
- Датчики давления (мембранные).
- Акселерометры.
- Датчики крутящего момента.
- Для измерений угла закручивания образца или размеров трещин.
Достоинствами таких тензометров являются относительно малая основная погрешность (0,2…0,5 %) при погрешности линейности и гистерезиса всего 0,05…0,2 % и, что крайне важно для динамики, высокая собственная частота датчика (до 10 кГц и выше).
6.1. Диапазоны измеряемых деформаций
| Тип тензорезистора | Статическая деформация | Динамическая деформация | Особенности |
|---|---|---|---|
| Фольговые / Проволочные | 0,005…2 % | < 0,2 % | Самые распространенные, стабильные. |
| Полупроводниковые | 0,1…0,2 % | < 0,02 % | Очень высокая чувствительность, но хрупкие. |
| Свободные проволочные | до 5…10 % | Низкая | Закреплены только по концам базы, для больших перемещений. |
| Эластичные электрохимические | 30…50 % | Средняя | Для измерения огромных деформаций (резина, биологические ткани). |
В динамическом режиме (удары, вибрация) максимально допустимые значения деформаций для проволочных и полупроводниковых тензорезисторов должны быть на порядок меньше, чем в статике, так как при знакопеременном режиме накапливается усталость металла решетки и уменьшается надежность тензорезисторов.
7. Комплексные измерительные системы
Часто тензорезисторы включают в состав сложных лабораторных установок и испытательных машин. Тензометры, используемые совместно с испытательными машинами, обеспечивают измерения с относительно малыми погрешностями (0,2…1,5 %), поскольку их можно градуировать (калибровать) «по месту» совместно с датчиком при помощи образцовых средств измерений длины или силы.
Особенностью испытаний сложных изделий (например, крыла самолета) является наличие большого числа точек тензометрирования. Поэтому для этих целей используются многоканальные тензостанции и Информационно-Измерительные Системы (ИИС) для прочностных испытаний, способные опрашивать сотни датчиков в секунду.
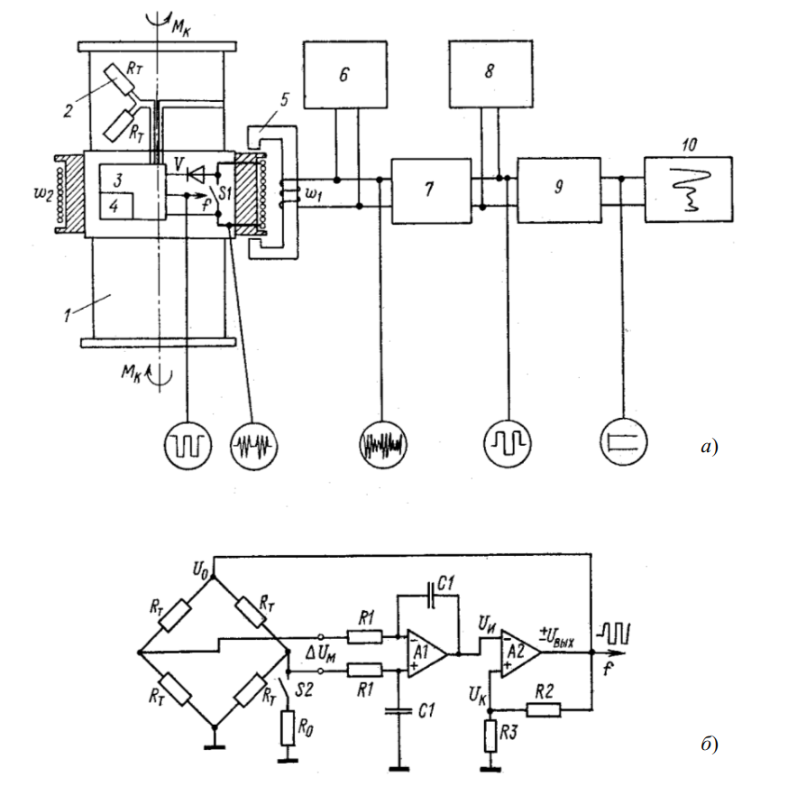
7.1. Пример сложной системы: Бесконтактный моментомер
Одной из сложнейших задач является снятие сигнала с вращающихся деталей. В качестве примера рассмотрим бесконтактный моментомер (торсиометр) для измерения крутящего момента на вращающемся валу (рис. 3). Это устройство решает проблему передачи сигнала без использования скользящих контактов (щеток), которые создают шумы и быстро изнашиваются.

Принцип работы (согласно Рис. 3):
Выходной сигнал, пропорциональный крутящему моменту и, соответственно, скручивающему механическому напряжению в материале вала, формируется при помощи тензорезисторов.
Тензорезисторы включены в плечи мостовой измерительной схемы, которая работает совместно с преобразователем напряжение-частота (ПНЧ) 3. Главная особенность: питание измерительной схемы и ПНЧ, а также вывод выходного сигнала осуществляются бесконтактно — через вращающийся трансформатор 5.
На вращающемся валу 1 расположены:
- Тензометрический мост 2, составленный из четырех тензорезисторов \( R_т \) (полный мост для максимальной чувствительности к кручению и компенсации изгиба).
- Преобразователь напряжение-частота 3.
- Цепь управления 4.
- Вторичная обмотка с числом витков \( \omega_2 \) вращающегося трансформатора 5.
- Выпрямительный диод V и электронный ключ S1.
Цикл измерения:
Первичная обмотка вращающегося трансформатора \( \omega_1 \) (на неподвижной части) питается от стационарного генератора синусоидального напряжения 6 с частотой 5…10 кГц. В течение одного полупериода, когда ключ разомкнут, энергия передается через трансформатор, выпрямляется диодом V, стабилизируется и питает тензомост.
Напряжение разбаланса с диагонали тензометрического моста \( \Delta U_м \) (рис. 3 б) подается на вход интегратора на операционном усилителе А1. Выходное напряжение интегратора \( U_u \) сравнивается компаратором А2 с опорным напряжением \( U_k \), которое пропорционально напряжению питания моста \( U_0 \). Это логометрический метод, исключающий ошибки от нестабильности питания.
При неизменном значении разбаланса \( \Delta U_м \) напряжение на выходе интегратора линейно растет. Как только оно достигает уровня \( U_k \), срабатывает компаратор, изменяется полярность напряжений, и начинается новый цикл интегрирования.
В итоге на выходе компаратора формируется прямоугольный сигнал, частота которого \( f \) линейно зависит от относительного разбаланса моста.
Для тензометрического моста с четырьмя рабочими плечами формула напряжения разбаланса:
А частота напряжения на выходе компаратора определяется выражением:
Сигнал с выхода ПНЧ управляет ключом S1, который с частотой \( f \) накоротко замыкает вторичную обмотку трансформатора \( \omega_2 \). Это вызывает модуляцию потребляемого тока, что отражается на первичной обмотке \( \omega_1 \). Это напряжение после амплитудного демодулятора 7 (на статоре) подается на аналоговый или цифровой частотомер 8, а также через частотный демодулятор 9 поступает на вход регистрирующего прибора 10 (осциллографа или самописца).
При несущей частоте 5 кГц чувствительность прибора к относительному изменению сопротивления тензорезисторов составляет \( S = \Delta f / \varepsilon = 5000 \text{ Гц/\%} \).
Калибровка: Для периодической коррекции погрешности используется метод образцовых сигналов. Параллельно одному из тензорезисторов с помощью геркона S2 (рис. 3 б) подключается резистор \( R_0 \) с известным прецизионным сопротивлением. Это имитирует заданную деформацию и приводит к изменению частоты. Управление герконом S2 осуществляется бесконтактным способом — путем приближения к нему внешнего постоянного магнита без остановки вращения вала.
8. Сравнительная таблица материалов тензорезисторов
| Характеристика | Металлические (Константан/Фольга) | Полупроводниковые (Кремний) |
|---|---|---|
| Коэффициент тензочувствительности (K) | 2.0 … 2.2 | 100 … 170 |
| Линейность | Отличная (в широком диапазоне) | Средняя (требуется линеаризация) |
| Температурная стабильность | Высокая (самокомпенсация) | Низкая (сильный дрейф) |
| Усталостная прочность | Средняя (миллионы циклов) | Низкая (хрупкость кристалла) |
| Стоимость | Низкая | Высокая |
| Основное применение | Общее машиностроение, весы, строительные конструкции | Микросенсоры давления, высокочувствительные приборы |
9. Преимущества и недостатки тензометрического метода
Преимущества:
- Универсальность: Возможность измерения статических и быстропеременных динамических процессов.
- Малые габариты: Датчики практически не меняют массу и жесткость исследуемой детали.
- Дистанционность: Возможность передачи сигнала на большие расстояния.
- Высокая точность: При правильной схеме включения погрешность не превышает сотых долей процента.
Недостатки:
- Чувствительность к влаге: Требуют тщательной гидроизоляции.
- Сложность установки: Процесс наклейки требует квалификации и чистоты поверхности.
- Температурный дрейф: Необходимость применения схем термокомпенсации.
- Одноразовость: Большинство наклеиваемых датчиков нельзя снять и использовать повторно.
10. Интересные факты о тензометрии
- Космос: На корпусе одной ракеты-носителя может быть установлено более 5000 тензорезисторов для мониторинга нагрузок при старте.
- Весы: Электронные весы, на которых вы взвешиваете продукты в магазине, работают на тензорезисторах, спрятанных под платформой.
- Размеры: Самые маленькие тензорезисторы меньше спичечной головки, а их решетку можно разглядеть только под микроскопом.
- Бетон: Существуют специальные тензодатчики длиной до 10-20 см для закладки внутрь бетонных плотин, чтобы усреднять неоднородность щебня.
- Медицина: Тензорезисторы используются в хирургических роботах, чтобы манипулятор «чувствовал» силу нажатия скальпеля.
- Смартфоны: В экранах с функцией 3D Touch (чувствительность к силе нажатия) используется технология, родственная тензометрии.
- История: В годы Второй мировой войны тензодатчики считались стратегической технологией для улучшения прочности бомбардировщиков.
11. FAQ: Часто задаваемые вопросы
1. Какой клей лучше использовать для тензорезисторов?
Для экспресс-монтажа при комнатной температуре идеально подходят цианакрилатные клеи (типа Z70 или Super Glue высокого качества). Для долговременных измерений и высоких температур используют эпоксидные смолы горячего отверждения, которые обеспечивают минимальную ползучесть.
2. Можно ли использовать один тензорезистор без мостовой схемы?
Теоретически да, но практически это бессмысленно. Изменения сопротивления настолько малы, что без мостовой схемы их «съедают» шумы и температурный дрейф. Минимум — это полумост (два датчика).
3. Как проверить, работает ли наклеенный тензорезистор?
Нужно измерить его сопротивление омметром (оно должно соответствовать номиналу, например, 120 Ом ±0.5%) и сопротивление изоляции между датчиком и металлической деталью (должно быть > 1000 МОм). Если изоляция плохая — показания будут «плыть».
4. Что такое «розетка» тензорезисторов?
Это готовый блок из 2 или 3 тензорезисторов на одной подложке, расположенных под углами (0°, 45°, 90°). Она нужна, когда заранее неизвестно направление главной деформации, чтобы вычислить вектор главного напряжения математически.
5. Влияет ли длина проводов на точность?
Да! Длинные провода имеют свое сопротивление, которое меняется от температуры. Чтобы исключить это, применяют «трехпроводную» или «четырехпроводную» схему подключения к мосту.
Заключение
Тензорезисторы остаются «золотым стандартом» в мире измерения механических величин. Несмотря на появление оптических и пьезоэлектрических методов, именно резистивная тензометрия предлагает наилучшее соотношение цены, точности и надежности для большинства инженерных задач. Понимание физики их работы, особенностей монтажа и схемотехники (особенно компенсационных мостовых схем и методов бесконтактного съема сигнала, как в рассмотренном моментомере) является обязательным навыком для инженера-испытателя и конструктора современной техники.
Нормативная база
- ГОСТ 21616-91 «Тензорезисторы. Общие технические условия». Основной документ, регламентирующий типы и параметры.
- ГОСТ 15077-78 «Тензорезисторы проволочные и фольговые. Методы испытаний».
- ГОСТ 8.543-86 «Государственная система обеспечения единства измерений. Государственная поверочная схема для средств измерений деформации».
Список литературы:
- Клокова Н.П. Тензорезисторы: Теория, методики расчета, разработки. — М.: Машиностроение, 1990.
- Ильинская Л.С. Элементы и устройства электромеханических систем. — М.: Энергоатомиздат, 1995.
- Справочник по электрическим измерениям механических величин / Под ред. Д.И. Агейкина.
