Содержание страницы
- 1. Физическая природа теплового излучения
- 2. Фундаментальные законы излучения и «Черное тело»
- 3. Классификация пирометров
- 4. Яркостные пирометры (с исчезающей нитью)
- 5. Цветовые пирометры (мультиспектральные)
- 6. Радиационные пирометры (полного излучения)
- 7. Тепловизоры: Визуализация температурных полей
- 8. Сравнительная таблица методов
- 9. Семь удивительных фактов о тепловом излучении
- 10. FAQ: Часто задаваемые вопросы
- Заключение
Пирометрия (от греч. pyr — огонь и metreo — измеряю) — это совокупность методов и средств измерения температуры тел бесконтактным способом, основанных на законах теплового излучения. Если говорить простым языком, это способ узнать, насколько горяч предмет, не прикасаясь к нему, а лишь анализируя исходящий от него свет или невидимое тепло.

1. Физическая природа теплового излучения
Любое тело, температура которого выше абсолютного нуля (\( -273.15^\circ \text{C} \)), является источником непрерывного электромагнитного излучения. Это фундаментальное свойство материи. Тепловое излучение возникает в результате хаотического теплового движения частиц вещества — атомов и молекул. Когда заряженные частицы ускоряются или переходят на другие энергетические уровни, они испускают фотоны.
Энергия такого излучения определяется исключительно двумя факторами: температурой и оптическими свойствами самого тела. По своей природе это излучение электромагнитное, то есть оно представляет собой поток волн, распространяющихся со скоростью света.
1.1. Спектральные характеристики
Тепловое излучение, как и любой другой вид электромагнитных волн, описывается частотой и длиной волны. Совокупность всех длин волн, излучаемых телом, образует его спектр. Спектры бывают:
- Сплошные: Характерны для твердых тел и жидкостей. Излучение идет на всех длинах волн без разрывов.
- Линейчатые и полосовые: Характерны для газов и плазмы.
В пирометрии (бесконтактном измерении температуры) нас интересует оптический диапазон. Он гораздо шире того, что видит человеческий глаз, и включает в себя:
- Ультрафиолетовую область (УФ): от 10 до 380 нм.
- Видимую область: от 380 до 780 нм (то, что мы воспринимаем как свет).
- Инфракрасную область (ИК): от 760 нм до 1 мм (именно здесь переносится основная тепловая энергия при температурах, с которыми мы сталкиваемся в быту и промышленности).
1.2. Основные энергетические величины
Для точного описания излучения инженеры и физики используют строгий набор параметров. Понимание их необходимо для грамотного выбора пирометра.
- Поток излучения \( \Phi \) (Мощность излучения): Полная энергия \( W \), излучаемая поверхностью во все стороны (в полусферу) за единицу времени.
\( \Phi = \frac{dW}{dt} \quad [\text{Вт}] \)
- Сила излучения \( I \): Пространственная плотность излучения. Показывает, сколько энергии уходит в конкретном направлении внутри телесного угла \( \Omega \).
\( I = \frac{d\Phi}{d\Omega} \quad [\text{Вт/ср}] \)
- Энергетическая светимость \( R_T \): Мощность излучения, приходящаяся на единицу площади самой излучающей поверхности \( S \). Это ключевой параметр для радиационных пирометров.
\( R_T = \frac{d\Phi}{dS} \quad [\text{Вт/м}^2] \)
- Лучеиспускательная способность \( r_{\lambda,T} \): Спектральная плотность светимости. Показывает, сколько энергии излучается на конкретной длине волны.
- Энергетическая яркость \( E_{\lambda,T} \): Энергия, излучаемая в единичном телесном угле с единичной площадки, видимой под углом (проекции площади). Этот параметр критичен для яркостных пирометров, так как он определяет, насколько «ярким» кажется объект для датчика.
2. Фундаментальные законы излучения и «Черное тело»
В реальном мире разные материалы излучают по-разному при одной и той же температуре. Отполированный алюминий излучает очень слабо, а сажа — очень сильно. Чтобы навести порядок в этом хаосе, физики ввели эталон — Абсолютно Черное Тело (АЧТ).
Абсолютно черное тело — это идеализированный объект, который поглощает всё падающее на него излучение (ничего не отражает). Следовательно, его собственное излучение зависит только от его температуры. Это эталонный излучатель.
Для реальных тел вводится понятие коэффициента излучения (черноты) \( \varepsilon \) или \( K \). Он показывает отношение излучения реального тела к излучению черного тела при той же температуре. Для АЧТ \( \varepsilon = 1 \), для реальных тел \( \varepsilon < 1 \).
2.1. Основные законы, на которых строятся пирометры
1. Закон Кирхгофа:
Отношение излучательной способности тела к его поглощательной способности одинаково для всех тел при данной температуре и равно излучательной способности абсолютно черного тела. Проще говоря: кто хорошо поглощает, тот хорошо и излучает.
2. Закон Стефана-Больцмана:
Интегральная (полная) энергетическая светимость черного тела пропорциональна четвертой степени его абсолютной температуры. Это мощнейшая зависимость: увеличение температуры в 2 раза увеличивает излучение в 16 раз!
где \( \sigma = 5,67 \cdot 10^{-8} \, \text{Вт}/(\text{м}^2 \cdot \text{К}^4) \) — постоянная Стефана-Больцмана.
Для реального (не черного) тела формула корректируется:
где \( T_0 \) — температура окружающей среды (фона).
3. Закон смещения Вина:
Длина волны, на которую приходится максимум энергии излучения, обратно пропорциональна температуре.
где \( b = 2,9 \cdot 10^{-3} \, \text{м} \cdot \text{К} \).
Именно поэтому при нагреве металл сначала становится красным (длинные волны), потом желтым, и наконец белым (смесь всех волн, пик уходит в синюю область).

Анализируя график на Рис.1, можно выделить ключевые закономерности:
- При повышении температуры кривая идет вверх — растет яркость и светимость на всех длинах волн.
- Пик («горб» графика) смещается влево, в сторону коротких длин волн (ультрафиолета). Это иллюстрация закона Вина.
- Площадь под кривой (полная энергия) резко растет с температурой.
3. Классификация пирометров
В зависимости от того, какой параметр излучения используется для измерения, пирометры делятся на три больших класса:
- Яркостные (оптические): Сравнивают яркость объекта с эталоном на одной длине волны.
- Цветовые (спектрального отношения): Измеряют отношение яркостей на двух разных длинах волн.
- Радиационные (полного излучения): Ловят всё тепловое излучение во всем спектре.
4. Яркостные пирометры (с исчезающей нитью)
Это классические приборы, которые до сих пор используются в металлургии благодаря своей простоте и надежности. Их принцип основан на законе Планка для одной длины волны.
Принцип действия
В яркостном пирометре «с исчезающей нитью» глаз оператора (или фотодатчик) сравнивает яркость нагретого объекта с яркостью нити специальной эталонной лампы, находящейся внутри прибора. Сравнение происходит в узком спектральном диапазоне, обычно красном (\( \lambda \approx 650 \) нм), который вырезается светофильтром.

1 – излучатель (объект); 2 и 3 – линза объектива; 4 и 6 – ограничивающая диафрагма; 5 – нить накаливания эталонной лампы; 7 – красный светофильтр; 8 – линза окуляра; 9 – показывающий прибор (гальванометр); 10 – источник питания; 11 – реостат для регулировки тока.
Работа с прибором (по Рис. 2):
- Изображение излучателя 1 с помощью линз 2 и 3 фокусируется точно в плоскости, где находится нить накаливания 5.
- Оператор смотрит в окуляр 8 через красный светофильтр 7. Он видит нить лампы на фоне раскаленного объекта.
- Перемещая движок реостата 11, оператор меняет ток в лампе, изменяя её яркость.
- Задача оператора — добиться того, чтобы нить «исчезла» на фоне объекта.
- Если нить темная — её температура ниже объекта.
- Если нить светлая — её температура выше.
- Если нить невидима — яркости равны.
- В момент исчезновения прибор 9 фиксирует ток, который заранее проградуирован в градусах Цельсия.
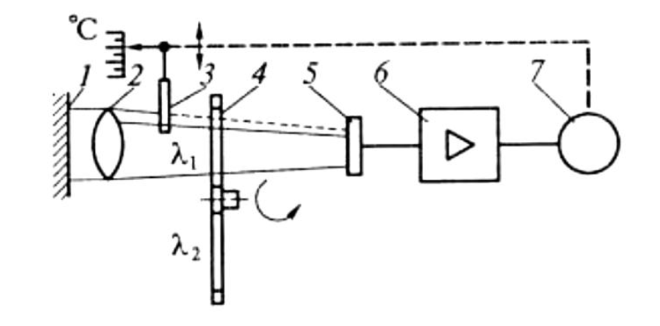
5. Цветовые пирометры (мультиспектральные)
Яркостный метод сильно зависит от запыленности воздуха, дыма и коэффициента излучения. Цветовые пирометры решают эту проблему, используя информацию о цвете излучения, а не только о его интенсивности.
Суть метода
Как мы выяснили из закона Вина, цвет нагретого тела меняется с температурой:
Темно-красный (800°C) \(\rightarrow\) Оранжевый (1100°C) \(\rightarrow\) Желтый (1300°C) \(\rightarrow\) Белый (>1500°C).
Цветовой пирометр измеряет интенсивность излучения на двух разных длинах волн (\( \lambda_1 \) и \( \lambda_2 \)) и вычисляет их отношение. Это отношение однозначно связано с температурой и, что самое важное, почти не зависит от расстояния до объекта или частичного перекрытия обзора дымом.

1 – объект измерения; 2 – объектив; 3 – уравновешивающий клин (фильтр); 4 – обтюратор (вращающийся диск); 5 – фотоэлемент; 6 – электронный усилитель; 7 – реверсивный двигатель.
Описание работы схемы (Рис. 3):
Световой поток от объекта измерения 1 попадает в объектив. На пути стоит обтюратор 4 — это диск с отверстиями, закрытыми разными светофильтрами (например, красным и синим). При вращении обтюратора на фотоэлемент 5 поочередно попадают потоки излучения разных длин волн \( \lambda_1 \) и \( \lambda_2 \).
Если отношение интенсивностей не соответствует настройке, на выходе фотоэлемента возникает переменный сигнал. Этот сигнал усиливается блоком 6 и запускает двигатель 7. Двигатель механически перемещает оптический клин (фильтр переменной плотности) 3, меняя соотношение потоков до тех пор, пока амплитуды сигналов от обоих фильтров не сравняются. Положение клина 3 и является мерой цветовой температуры.
Преимущества: Высокая точность для «серых» тел (тел, у которых коэффициент излучения одинаков на разных волнах). Грязь на линзе или дым в цеху ослабляют оба сигнала одинаково, поэтому их отношение (и показания температуры) не меняется.
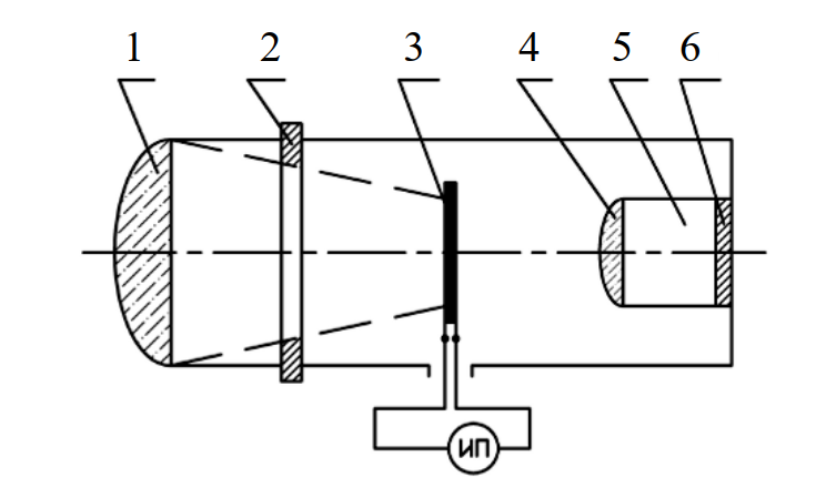
6. Радиационные пирометры (полного излучения)
Эти приборы ловят «всё, что есть». Они используют интегральное излучение (закон Стефана-Больцмана) и обычно работают в широком диапазоне ИК-спектра.

1 – линза объектива; 2 – диафрагма; 3 – термобатарея (приемник); 4 – окуляр для наводки; 5 – визирное устройство; 6 – защитное стекло (фильтр).
Главный элемент здесь — приемник излучения. Он должен быть черным, чтобы поглощать всё падающее тепло. Используются:
- Термобатареи: Это «букет» из последовательно соединенных термопар (см. Рис. 7.21). Горячие спаи 1 собраны в центре на зачерненной подложке, куда фокусируется излучение. Холодные спаи находятся на периферии корпуса. Нагрев центра вызывает появление ЭДС.
- Болометры: Терморезисторы, меняющие сопротивление при нагреве излучением.
- Пироэлектрики: Кристаллы, генерирующие электрический заряд только в момент изменения температуры (реагируют на динамику).

Оптические схемы радиационных пирометров
Оптика бывает двух типов:
- Рефракторная (линзовая) — Рис. 6 а: Использует линзы. Проблема: стекло не пропускает дальний ИК (тепло). Нужны линзы из кварца, флюорита или германия. Излучение от объекта 1 через объектив 2 и диафрагму 3 греет приемник 4.
- Рефлекторная (зеркальная) — Рис. 6 б: Использует вогнутые зеркала. Зеркала отражают все волны одинаково хорошо, нет проблем с поглощением в стекле. Излучение от объекта 1 проходит через тонкую защитную пленку 2 и фокусируется зеркалом 5 на приемник 3.

7. Тепловизоры: Визуализация температурных полей
Если классические пирометры позволяют измерять температуру только в одной локальной точке объекта контроля, то для получения полной картины теплового состояния применяют тепловизоры. Это устройства, которые преобразуют невидимое человеческим глазом инфракрасное излучение в видимое графическое изображение — термограмму.
Современный тепловизор использует матрицу микроболометров (аналог матрицы в цифровой камере, но чувствительной к ИК). Каждая ячейка матрицы — это крошечный пирометр. Результат обрабатывается процессором и выводится на дисплей в псевдоцветах: холодное — синее, горячее — красное/белое.
7.1. Принцип действия сканирующих тепловизоров
Исторически первыми приборами для визуализации были сканирующие тепловизоры с оптико-механической разверткой. Их работа основана на последовательном просмотре поверхности объекта точка за точкой.
Принцип действия сканирующего тепловизора (см. рис. 7) заключается в просмотре по заданному закону движения поверхности объекта узким лучом, сформированным оптической системой. По такому же принципу происходило формирование изображения в старых телевизорах с электронно-лучевой трубкой, только здесь процесс обратный — мы не «рисуем» лучом, а «считываем» им.
При этом интенсивность луча и, как следствие, яркость изображения на экране зависят от электрического сигнала приемника ИК-лучей. Этот сигнал, в свою очередь, прямо пропорционален температуре конкретного малого участка поверхности объекта, на который в данный момент наведен прибор. Таким образом, на экране монитора последовательно формируются области с различной градацией яркости, которые и составляют тепловое изображение объекта.

1 – приемная оптическая система;
2 – приемник ИК лучей;
3 – сканирующая система (оптико-механическая развертка);
4 – усилитель;
5 – система синхронизации и развертки;
6 – монитор (видеоконтрольное устройство);
7 – поверхность объекта контроля.
7.2. Современные матричные тепловизоры
В современных приборах на смену сложной механике пришли твердотельные технологии. Детектором таких тепловизоров является матрица фокальной плоскости (FPA). На эту матрицу через объектив проецируется изображение объекта целиком, без необходимости механического сканирования.
Матрицы делятся на два больших класса:
- Охлаждаемые (фотонные): Обладают феноменальной чувствительностью и быстродействием. Используются в науке и военной технике. Часто изготавливаются на основе антимонида индия (InSb) или арсенида индия (InAs).
- Неохлаждаемые (тепловые): Самый массовый тип. Принцип основан на изменении электрического сопротивления микроболометров при нагреве ИК-излучением.

Слева — структура гибридной матрицы. Фоточувствительный слой (например, InAs) соединяется с кремниевым чипом считывания (мультиплексором) через тысячи микроскопических контактов — индиевых столбиков.
Справа — схема прохождения сигнала: от ИК-объектива через детектор и блок обработки на дисплей.
7.3. Функциональные возможности и интерфейс
По сигналам совокупности микроболометров, преобразованным в цифровой вид, процессор восстанавливает тепловое изображение и выводит его на экран. Современный тепловизор — это измерительный компьютер, который выполняет следующие функции:
- Визуализация (Термограмма): Отображение распределения температур в псевдоцветах.
- Поиск экстремумов: Автоматическая индикация самой горячей (Max) и самой холодной (Min) точки в кадре.
- Изотерма: Окрашивание красным цветом всех областей, температура которых выше заданного порога аварийности.

На экране виден перегрев центральной фазы автоматического выключателя. Курсор автоматически нашел самую горячую точку (Max Temp: 154.3°C). Справа видна температурная шкала (цветовая легенда).
7.4. Применение в диагностике
Как видно на примере выше (рис. 9), тепловизоры незаменимы для предотвращения аварий. Основные области применения:
- Энергетика: Локализация перегрева контактов (как на фото), перегрузка кабелей, дефекты изоляторов. Перегрев в 154°C, показанный на рисунке, является критическим и требует немедленного отключения оборудования во избежание пожара.
- Строительство: Поиск мостиков холода, мест утечек тепла через окна и кровлю.
- Механика: Диагностика подшипников (нагрев от трения) и расцентровка валов.
7.5. Мобильная термография: Технология в кармане
В последнее десятилетие произошла настоящая революция в миниатюризации неохлаждаемых болометров. Это привело к появлению класса мобильных тепловизоров.
Теперь это не только дорогостоящее оборудование для промышленности, но и доступный гаджет. Рынок предлагает два форм-фактора:
- Тепловизионные приставки (модули): Миниатюрные камеры, подключаемые к разъему зарядки обычного смартфона (например, FLIR One, Seek Thermal). Экран телефона служит дисплеем, а его процессор обрабатывает данные.
- Защищенные смартфоны: Устройства со встроенным тепловизионным сенсором (бренды Caterpillar (CAT), Blackview, Ulefone).
8. Сравнительная таблица методов
| Тип прибора | Физический принцип | Преимущества | Недостатки | Область применения |
|---|---|---|---|---|
| Яркостный пирометр | Сравнение яркости на одной длине волны (\(\lambda \approx 650\) нм) | Простота, надежность, возможность измерения очень малых объектов (нити ламп) | Субъективность (зависит от глаза оператора), зависимость показаний от дыма и \( \varepsilon \) | Металлургия (плавка стали), лабораторные эталоны |
| Цветовой пирометр | Отношение интенсивностей на двух длинах волн (\(\lambda_1 / \lambda_2\)) | Исключает влияние пыли, дыма, грязных стекол. Высокая точность для металлов («серых» тел) | Сложная конструкция, высокая стоимость. Дает ошибку, если объект имеет селективное излучение | Прокатные станы, цементные печи, литейное производство |
| Радиационный пирометр | Закон Стефана-Больцмана (интегральное излучение) | Работает при низких температурах (даже минус), полная бесконтактность, быстродействие | Сильно зависит от состава атмосферы (CO\(_2\), пар) и требует точного знания коэффициента черноты \( \varepsilon \) | Пищевая промышленность, производство пластмасс, ЖКХ |
| Тепловизор | Визуализация поля температур с помощью матрицы микроболометров | Наглядность: мгновенный поиск перегрева (Max/Min). Безопасность и документирование дефектов | Самая высокая стоимость. Требует квалификации для расшифровки термограмм (блики, отражения) | Энергоаудит зданий, диагностика электрощитовых, поиск утечек, военные цели, медицина |
9. Семь удивительных фактов о тепловом излучении
- Человек-лампочка: Человеческое тело постоянно излучает энергию, как лампочка мощностью около 100 Вт. Однако вся эта энергия уходит в инфракрасном диапазоне (длина волны около 10 мкм), поэтому мы не светимся в темноте для обычного глаза, но сияем для тепловизора.
- Градусник для звезд: Астрономы не могут долететь до звезд, но знают их точную температуру. Они используют законы пирометрии (закон смещения Вина), анализируя цвет звезды. Голубые звезды — самые горячие (>10 000 К), желтые (как Солнце) — средние (6000 К), красные — «холодные» (3000 К).
- Змеиное зрение: Некоторые змеи (гадюки, питоны, гремучие змеи) имеют природные «пирометры» — чувствительные ямки на голове между глаз. Это позволяет им видеть теплокровную добычу (мышь) в абсолютной темноте с точностью до 0,003°C.
- Стеклянная стена: Обычное оконное стекло прозрачно для света, но абсолютно непрозрачно для теплового излучения (дальнего ИК). Для тепловизора стекло выглядит как зеркало, отражающее тепло оператора. Именно поэтому оптику для тепловизоров делают из германия — металла, который стоит дороже золота, но пропускает ИК-лучи.
- Солнце — черное тело: В физике термин «абсолютно черное тело» означает не цвет, а способность поглощать энергию. Солнце — это почти идеальное черное тело по своим физическим свойствам, хотя для нашего глаза оно ослепительно белое из-за высокой температуры.
- Военные корни: Первый прообраз тепловизора (системы ночного видения) был создан в 1929 году венгерским физиком Кальманом Тиханьи для нужд британских ПВО, чтобы обнаруживать вражеские бомбардировщики по теплу двигателей в ночном небе.
- Другой мир: Если бы наши глаза видели в ИК-диапазоне, привычный мир изменился бы до неузнаваемости. Мы не смогли бы видеть сквозь очки (линзы стали бы черными), но зато легко видели бы сквозь плотный черный мусорный пакет, так как полиэтилен прозрачен для тепловых волн.
10. FAQ: Часто задаваемые вопросы
Главная проблема — низкий коэффициент излучения (\(\varepsilon\)) и высокая способность отражать чужое тепло. Пирометр видит не собственное тепло металла, а отражение вашего тела или лампы.
Для примера, посмотрите разницу коэффициентов:
| Материал | Коэффициент (\(\varepsilon\)) | Результат замера |
|---|---|---|
| Матовая резина | 0.95 | ✅ Точный |
| Полированный алюминий | 0.05 | ❌ Занижен в разы |
Решение: Наклейте на металл кусочек малярного скотча или закрасьте точку замера черным маркером.
Это отношение расстояния до объекта (Distance) к диаметру пятна измерения (Spot). Это важнейшая характеристика, определяющая «дальнобойность» прибора.
— С расстояния 12 см прибор меряет пятно диаметром 1 см.
— С расстояния 120 см (1.2 метра) пятно будет уже 10 см.
Если объект меньше этого пятна, пирометр захватит температуру фона и покажет неверное усредненное значение.
Строго специальный медицинский. Не пытайтесь использовать строительный пирометр для проверки лихорадки!
- Строительный пирометр: Диапазон -50…+500°C. Погрешность ±2°C. Он может показать 34°C у здорового человека и 35°C у больного — разницу вы не увидите.
- Медицинский пирометр: Диапазон +32…+42°C. Погрешность ±0.2°C. Он откалиброван специально под кожу человека.
Заключение
Бесконтактные методы измерения температуры прошли долгий путь эволюции и сегодня являются неотъемлемой частью промышленности и науки. Понимание физических законов теплового излучения — законов Планка, Стефана-Больцмана и Вина — позволяет инженерам выбирать правильные инструменты для конкретных задач, будь то плавка стали, диагностика электропроводки или медицинские исследования. Будущее за интеграцией этих методов в системы автоматического управления и машинного зрения.
Нормативная база
- ГОСТ 28243-96 «Пирометры. Общие технические требования». (Основной стандарт, описывающий классификацию и требования).
- ГОСТ Р 8.566-96 «ГСИ. Излучатели эталонные (модели абсолютно черного тела). Методика поверки».
Рекомендуемая литература:
- Линевег Ф. Измерение температур в технике. Справочник. — М.: Металлургия, 1980. (Классика инженерной термометрии).
- Магунов А. Н. Спектральная пирометрия. — М.: Физматлит, 2012. (Современный взгляд на методы).
- Фрикке К. Введение в применение термографии. — Гамбург, 2015.
