Содержание страницы
Что такое терморезистор? Если говорить простым языком, это электронный компонент, который «чувствует» температуру и реагирует на нее изменением своего электрического сопротивления. В отличие от обычных резисторов, где зависимость от нагрева является паразитным эффектом, в терморезисторах это главное рабочее свойство. Они являются основой современной термометрии, систем защиты от перегрева и схем термокомпенсации.
1. Физика процесса и материалы
В основе работы лежит полупроводниковый эффект. В металлах при нагреве атомы кристаллической решетки начинают колебаться сильнее, мешая пролету электронов, что увеличивает сопротивление. В полупроводниках же нагрев работает как катализатор: тепловая энергия «выбивает» электроны на уровни проводимости, увеличивая концентрацию носителей заряда.
В случае с металлом: Нагрев — это как внезапно начавшийся ремонт дороги и хаотичное движение пешеходов поперек трассы. Машинам (электронам) сложнее проехать, скорость падает, сопротивление потоку растет.
В случае с полупроводником (NTC): Изначально дорога пустая, но закрыта шлагбаумами. Нагрев — это команда открыть шлагбаумы. Чем выше температура, тем больше полос открывается для движения. Машин становится больше, и общий поток (ток) усиливается, значит, сопротивление падает.
Современные полупроводниковые терморезисторы изготавливаются не из чистого кремния, а на основе поликристаллической керамики. Это сложные смеси оксидных материалов. Для достижения требуемых характеристик используются оксиды переходных металлов:
- Марганца (Mn);
- Никеля (Ni);
- Кобальта (Co);
- Меди (Cu);
- Углерода (C);
- Магния (Mg).
Процесс производства напоминает керамическое дело. Порошки оксидов смешивают с пластичным связующим веществом. Затем методом прессования смеси придается необходимая форма (сферическая, цилиндрическая, бусинковая или дисковая). После этого заготовки спекаются при высоких температурах (более 1000°C), образуя прочную керамику.

Форма — это не просто вопрос дизайна, это вопрос назначения.
- Бусинковые терморезисторы: Имеют крошечный диаметр (до 0,5 мм). Часто покрываются защитной стеклянной глазурью. Их главное преимущество — малая тепловая инерция. Они реагируют на изменение температуры практически мгновенно, что делает их идеальными для измерения быстроменяющихся температур газов или жидкостей.
- Дисковые и шайбовые: Имеют большую массу, способны рассеивать большую мощность, но реагируют медленнее. Используются в цепях защиты и компенсации.
- Цилиндрические (стержневые): Обеспечивают высокое сопротивление и удобство монтажа в трубчатые зонды.
Для защиты от агрессивной внешней среды (кислоты, влага, механические удары) чувствительный элемент часто помещают в герметичные капсулы — тонкостенные стеклянные или металлические трубки. Это позволяет сохранить тепловой контакт, но изолировать химически.
2. Классификация: NTC и PTC
Все терморезисторы делятся на две глобальные группы в зависимости от того, как они реагируют на нагрев.
2.1 Термисторы (NTC — Negative Temperature Coefficient)
Это наиболее распространенный класс. У них отрицательный температурный коэффициент сопротивления (ТКС). При нагревании их сопротивление значительно снижается.
Температурная зависимость сопротивления большинства NTC-термисторов является экспоненциальной и описывается уравнением Аррениуса:
Где:
- \( R \) — сопротивление при температуре \( T \) (в Омах);
- \( T \) — абсолютная температура в Кельвинах (\( K \));
- \( A \) — постоянный коэффициент, зависящий от физических свойств материала и геометрии образца (сопротивление при \( T \to \infty \));
- \( B \) — постоянная чувствительности материала (характеризует ширину запрещенной зоны полупроводника), измеряется в Кельвинах. Обычно лежит в диапазоне 2000–5000 К.
Статические характеристики термисторов нелинейны. Это создает определенные трудности при проектировании измерительных схем, требуя линеаризации (программной или аппаратной). Однако крутизна характеристики (чувствительность) у них в 10-20 раз выше, чем у металлических термометров сопротивления.

Для сравнения представлены характеристики медного терморезистора 1 (линейная зависимость, слабое изменение) и полупроводникового 2 (экспоненциальное падение сопротивления).
Как видно из Рис. 2, график полупроводникового термистора (кривая 2) резко уходит вниз, демонстрируя высокую чувствительность в области низких и средних температур. Медный резистор (прямая 1) меняется предсказуемо, но очень слабо.
2.2 Позисторы (PTC — Positive Temperature Coefficient)
Существует другая группа полупроводниковых терморезисторов, у которых ТКС в определенном диапазоне положителен. Они называются позисторами. Их поведение радикально отличается.
Материалом для позисторов служит титанат бария \( BaTiO_3 \), который является сегнетоэлектриком. Для получения проводимости его легируют примесями редкоземельных элементов:
- Стронций (Sr);
- Церий (Ce);
- Ниобий (Nb);
- Лантан (La).
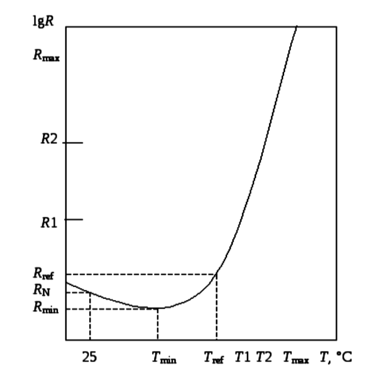
Пока температура низкая, позистор проводит ток хорошо. Но при достижении определенной температуры (точки Кюри), кристаллическая структура перестраивается, и сопротивление скачкообразно возрастает на несколько порядков.

Rmin – минимальное сопротивление (сопротивление при Т = Тmin);
Тmin – температура, при которой ТКС из отрицательного становится положительным;
Rref – опорное сопротивление (принято, что Rref = 2Rmin). Считается, что с Rref начинается быстрый лавинообразный рост зависимости R = f(T);
Тref – характеристическая температура, при которой R = Rref; (для ряда позисторов вместо Тref и Rref указываются пороговая температура ТNAT и соответствующее ей значение сопротивления RNAT, лежащие немного выше Тref и Rref);
Тmax – максимально допустимая температура термистора;
Rmax – сопротивление при Тmax.
3. Сравнительная характеристика термочувствительных элементов
Чтобы студент или инженер мог правильно выбрать тип датчика, необходимо четко понимать различия. Мы составили таблицу сравнения основных технологий.
| Характеристика | Термистор (NTC) | Позистор (PTC) | Металлический (RTD, Pt100) |
|---|---|---|---|
| Знак ТКС | Отрицательный (сопротивление падает) | Положительный (в рабочем диапазоне резко растет) | Положительный (растет) |
| Линейность | Низкая (экспонента) | Крайне нелинейная (скачкообразная) | Высокая (почти прямая линия) |
| Чувствительность | Очень высокая (\(\sim 4\%/^{\circ}C\)) | Экстремально высокая в точке переключения | Низкая (\(\sim 0.4\%/^{\circ}C\)) |
| Диапазон температур | От -50°C до +300°C (обычно) | Точка срабатывания (обычно 60…180°C) | От -200°C до +850°C |
| Основное применение | Измерение температуры, компенсация, контроль пусковых токов | Защита от перегрузки по току, самовосстанавливающиеся предохранители, нагреватели | Прецизионные лабораторные измерения, промышленность |
| Стоимость | Низкая | Средняя | Высокая |
4. Преимущества и недостатки полупроводниковых терморезисторов
Преимущества
- Высокий номинал сопротивления: В отличие от металлов (где счет идет на десятки Ом), термисторы могут иметь номиналы от 1 кОм до 1 МОм. Это позволяет игнорировать сопротивление проводов линии связи, что упрощает схему подключения (не нужна 4-х проводная схема).
- Компактность: Бусинковые термисторы могут быть размером с маковое зерно, позволяя измерять температуру в одной точке («точечное измерение»).
- Дешевизна: Технология массового производства керамики делает их самыми доступными датчиками на рынке.
- Устойчивость к механическим воздействиям: Отсутствие тонких спиралей и подвижных частей делает их вибростойкими.
Недостатки
- Нелинейность: Требует сложных формул для пересчета сопротивления в температуру (уравнение Стейнхарта — Харта) или использования таблиц (Look-up tables) в микроконтроллерах.
- Разброс параметров: Дешевые экземпляры могут иметь допуск 5-10%, что требует индивидуальной калибровки для точных приборов.
- Эффект саморазогрева: Протекающий измерительный ток нагревает термистор. Если ток слишком велик, датчик начнет показывать температуру самого себя, а не среды.
- Старение: Со временем кристаллическая структура может деградировать, приводя к дрейфу показаний («уход» параметров).
7. Семь интересных фактов о терморезисторах
- Космос: Термисторы используются в марсоходах для мониторинга температуры батарей и электроники. Без них миссия замерзла бы первой же марсианской ночью.
- 3D-печать: Маленькая стеклянная капелька на печатающей головке вашего 3D-принтера — это NTC термистор, контролирующий плавление пластика с точностью до градуса.
- Саморегуляция: Позисторы (PTC) используются как нагревательные элементы в сушилках для обуви. Они нагреваются до определенной точки и сами перестают потреблять ток, не требуя термостата.
- Пусковой ток: В блоках питания компьютеров стоят мощные NTC термисторы. При включении они холодные и имеют высокое сопротивление, гася искру в розетке. Нагреваясь от работы, они снижают сопротивление до нуля, не мешая работе ПК.
- Алмазы: Существуют алмазные термисторы, способные работать при температурах выше 600°C, где обычная керамика разрушается.
- Медицина: Электронные градусники, которыми мы измеряем температуру тела за секунды, работают именно на базе миниатюрных термисторов с малой инерцией.
- Автопром: В современном автомобиле может быть до 50 терморезисторов: от контроля климат-контроля до температуры масла в коробке передач.
6. FAQ: Часто задаваемые вопросы
Наиболее частые причины:
- Саморазогрев: Слишком большой ток измерения.
- Плохой тепловой контакт: Между датчиком и объектом есть воздушная прослойка (нужна термопаста).
- Неверная модель: В программе микроконтроллера заложен коэффициент B (Beta) = 3950, а установлен датчик с B = 3435.
Заключение
Полупроводниковые терморезисторы — это фундаментальный элемент современной электроники. Пройдя путь от лабораторных экспериментов Фарадея до массового внедрения в каждое электронное устройство, они доказали свою незаменимость. Понимание разницы между NTC и PTC типами, особенностей их характеристик (отображенных на Рис. 2 и Рис. 3) и физических принципов работы позволяет инженерам создавать надежные системы термоконтроля, а студентам — глубже понимать процессы в твердотельной электронике.
Нормативная база
При проектировании и использовании терморезисторов в РФ и странах СНГ необходимо руководствоваться действующими стандартами. Это гарантирует надежность и взаимозаменяемость компонентов.
- ГОСТ 21414-75 «Резисторы. Термины и определения». Базовый документ, определяющий терминологию.
- ГОСТ 15150-69 «Машины, приборы и другие технические изделия. Исполнения для различных климатических районов». Определяет условия эксплуатации, важные для выбора защитного покрытия термистора.
Список литературы
- Пасынков В.В., Чиркин Л.К. «Полупроводниковые приборы: Учебник для вузов». — СПб.: Лань, 2002.
- Шашков А.Г. «Терморезисторы и их применение». — М.: Энергия, 1997.
- Справочник по электрическим конденсаторам и резисторам / Под ред. И.И. Четверткова. — М.: Радио и связь.
