Содержание страницы
- 1. Теоретические основы колебательных процессов
- 2. Методы измерения и физика преобразователей
- 3. Индуктивные преобразователи и вихретоковые системы
- 4. Измерение абсолютной вибрации и инерционные системы
- 5. Резистивные и пьезорезистивные технологии
- 6. Пьезоэлектрические акселерометры: Углубленный анализ
- 7. Влияние монтажа на точность измерений
- 8. Сравнительный анализ датчиков
- 9. Интересные факты
- 10. Часто задаваемые вопросы (FAQ)
- Заключение
Вибродиагностика — это «стетоскоп» современной промышленности. Подобно тому, как врач слушает сердцебиение пациента для выявления патологий, инженер анализирует вибрацию механизмов для предотвращения аварий.
Механическое колебание или вибрация — это циклический процесс изменения состояния объекта во времени относительно положения равновесия. История изучения вибраций уходит корнями в работы Галилея и Гука, но как прикладная дисциплина виброметрия сформировалась в XX веке с появлением высокооборотистых турбин и авиации. Изначально измерения проводились простейшими механическими вибрографами, которые царапали иглой закопченное стекло. Сегодня мы используем прецизионные пьезоэлектрические и лазерные системы, способные регистрировать смещения размером с атом.
1. Теоретические основы колебательных процессов
Любой вибросигнал несет в себе закодированную информацию о источнике возбуждения. В колебательном процессе принято фундаментально различать два типа явлений:
- Детерминированные процессы: Это предсказуемые колебания, подчиняющиеся строгому математическому закону. Примером служит вращение идеально сбалансированного ротора. Они повторяются во времени, и их можно описать формулой вида \( x(t) = A \sin(\omega t + \phi) \).
- Стохастические (случайные) процессы: Беспорядочные колебания, которые не описываются единой аналитической функцией. Они возникают из-за турбулентности потоков жидкости, трения, кавитации или процесса горения. Для их анализа используют теорию вероятностей и статистические оценки (среднеквадратичное значение — SKZ/RMS, спектральная плотность).
Для понимания физики процесса важно связать три ключевых параметра вибрации, переходящих друг в друга через операции дифференцирования и интегрирования:
Если мы знаем массу \( m \) и жесткость \( k \) системы, мы можем моделировать ее поведение. Однако на практике задача виброметрии — обратная: измерить реакцию системы и понять, какая сила на нее действует.
2. Методы измерения и физика преобразователей
Измерение вибрации всегда сводится к преобразованию механической энергии в электрический сигнал. На рис. 1 схематически показаны базовые механические колебательные системы, которые лежат в основе датчиков.

а ‒ вибратор с пружинной подвеской; б ‒ вибратор с изгибными колебаниями; 1 ‒ тензорезистор
В системах, представленных на рис. 1, имеется возможность измерения перемещений \( S \) на свободном конце вибратора. Это может быть реализовано двумя путями:
- Вибратор с пружинной подвеской (а): Классическая система «масса-пружина». Инерционная масса подвешена на упругом элементе. При воздействии вибрации масса стремится сохранить покой, а пружина деформируется.
- Вибратор с изгибным колебанием (б): Здесь упругим элементом выступает сама балка (кантилевер). Тензорезистор 1, наклеенный на балку, меняет свое сопротивление при изгибе.
В зависимости от инженерной задачи измеряют либо перемещение \( S \) (важно для контроля зазоров), либо силу \( F \) (важно для оценки нагрузки на опоры). Взаимосвязь между ними описывается законом Гука и вторым законом Ньютона.
3. Индуктивные преобразователи и вихретоковые системы
Для бесконтактного измерения относительной вибрации (например, биения вала внутри подшипника скольжения) золотым стандартом являются индуктивные и вихретоковые методы. Приборы этой группы делятся на пассивные (индуктивные) и активные (пьезоэлектрические, о которых позже).

а ‒ жестко соединенным с объектом посредством втяжного якоря; б ‒ соединенным с объектом посредством щупа с силовым замыканием; в ‒ бесконтактно связанным с движущимся объектом измерения; г ‒ бесконтактно связанным с движущимся объектом измерения, с дифференциальным соединением двух преобразователей для измерения горизонтальной вибрации вращающегося вала;
А ‒ преобразователь измеряемой величины; В ‒ неподвижная опора; М ‒ движущийся объект измерения
Рассмотрим схемы на рис. 2 подробнее. Основной принцип — изменение индуктивности катушки при перемещении ферромагнитного сердечника или проводящего объекта:
- Схема (а) и (б) — Контактные методы: Сердечник жестко связан с объектом (а) или прижат щупом (б). Корпус преобразователя \( A \) крепится к неподвижной опоре \( B \). Это позволяет измерять амплитуды от ±0,1 до ±300 мм. Однако контактные методы имеют ограничение по частоте из-за инерции щупа и возможного «дребезга».
- Схема (в) и (г) — Бесконтактные методы: Наиболее прогрессивный способ. На рис. 2 (г) показана дифференциальная схема для измерения вибрации вращающегося вала. Два датчика работают в паре, что линеаризует характеристику и компенсирует температурные дрейфы.
Современные вихретоковые датчики (Proximity probes) работают на частоте несущей порядка 1-2 МГц и способны «видеть» зазор с точностью до 1 мкм.
4. Измерение абсолютной вибрации и инерционные системы
Что делать, если у нас нет неподвижной опоры, чтобы закрепить датчик? Например, мы измеряем вибрацию корпуса летящего самолета или движущегося автомобиля. На помощь приходят инерционные (сейсмические) преобразователи.

1 ‒ объект измерения; 2 ‒ преобразователь перемещений; 3 ‒ виброперемещение корпуса; 4 ‒ демпфирующий магнит; 5 ‒ сейсмическая масса (демпфирующая пластина); 6 ‒ виброперемещение сейсмической массы в центре тяжести маятника; 7 ‒ пружина для компенсации силы земного притяжения; 8 ‒ корпус; 9 ‒ пружинный шарнир
Рассмотрим устройство классического низкочастотного сейсмодатчика на рис. 3.
Объект измерения 1 передает вибрацию на корпус 8. Внутри корпуса на пружинном шарнире 9 подвешена сейсмическая масса 5 (тяжелая медная пластина).
Физика работы: При высокой частоте колебаний корпуса масса 5, благодаря своей инерции, стремится остаться на месте. В результате возникает относительное движение между корпусом и массой, которое регистрируется преобразователем перемещений 2.
- Демпфирование: Пластина 5 движется в зазоре постоянного магнита 4. Возникающие токи Фуко тормозят движение, предотвращая бесконечный резонанс. Это и есть магнитное демпфирование.
- Компенсация гравитации: Пружина 7 нужна для того, чтобы удерживать массу в горизонтальном положении, компенсируя вес пластины (силу земного притяжения).
Такие приборы часто имеют низкую собственную частоту (0,7…5,0 Гц) и способны измерять огромные амплитуды до ±25 мм, что критично при мониторинге землетрясений или колебаний мостов.
5. Резистивные и пьезорезистивные технологии
В резистивных преобразователях используется принцип изменения электрического сопротивления материала при его механической деформации. Элементами могут служить проволочные тензорезисторы, фольговые решетки или полупроводниковые кристаллы (пьезорезисторы).
Тензорезисторы включаются в схему моста Уитстона (двуплечего или четырехплечего). Это позволяет измерять малейшие изменения сопротивления \( \Delta R \).
Пьезорезистивные датчики лишены многих недостатков проволочных собратьев. Они обладают гигантской чувствительностью (коэффициент тензочувствительности у полупроводников в 50-100 раз выше, чем у металлов) и способны работать вплоть до постоянного тока (0 Гц), что делает их незаменимыми для измерения статических перегрузок.
6. Пьезоэлектрические акселерометры: Углубленный анализ
На сегодняшний день пьезоэлектрические акселерометры являются самыми распространенными датчиками в промышленной вибродиагностике. Они являются активными преобразователями — генерируют заряд без внешнего питания.
Принцип прямого пьезоэффекта
При сжатии или сдвиге кристаллической решетки некоторых материалов (кварц, титанат бария, пьезокерамика PZT) на их гранях образуются электрические заряды. Величина заряда \( q \) прямо пропорциональна действующей силе \( F \), а сила, согласно второму закону Ньютона, пропорциональна ускорению \( a \):
где \( d_{ij} \) — пьезомодуль материала, \( m \) — сейсмическая масса.
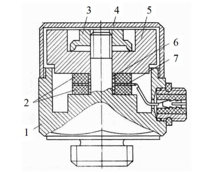
1 ‒ основание; 2 ‒ пьезоэлементы; 3 ‒ гайка пружинная; 4 ‒ крышка; 5 ‒ масса инерционная; 6 ‒ втулка; 7 ‒ контакт
Конструкция датчиков типа ДН (Рис. 4)
Рассмотрим детально внутреннее устройство распространенных отечественных датчиков серии ДН (Датчик Направленный). Это классическая схема «сжатия» (compression mode).
- Основание 1: Жесткая база, которая передает вибрацию от объекта внутрь датчика.
- Пьезоэлементы 2: «Сердце» прибора. Обычно это диски из пьезокерамики. Они зажаты между основанием и массой.
- Инерционная масса 5: Работает как молот, сдавливая пьезоэлементы при ускорении основания вверх.
- Гайка пружинная 3: Критически важный элемент. Она создает предварительное усилие сжатия (pre-load). Без этого при сильной вибрации мог бы произойти отрыв массы от пьезоэлементов. Кроме того, затяжкой гайки 3 регулируется жесткость системы, а значит — и собственная резонансная частота датчика.
- Крышка 4 и Втулка 6: Обеспечивают герметичность и изоляцию.
- Контакт 7: Выход сигнала. В современных датчиках здесь часто встроен микроусилитель (система IEPE/ICP), но классические ДН выдают высокоимпедансный зарядовый сигнал.
Спецификация моделей:
ДН-3: Рабочий диапазон 1000…4000 Гц.
ДН-4: Широкополосный, 1000…12500 Гц.
ДН-5: Низкочастотный, 200…500 Гц.
Преобразователи с кварцевым элементом могут работать при температурах до 400°С, что позволяет ставить их прямо на блоки цилиндров ДВС или газовые турбины.
7. Влияние монтажа на точность измерений
Даже самый лучший датчик покажет неверные данные, если он неправильно закреплен. Способ крепления работает как механический фильтр низких частот: чем мягче крепление, тем ниже частота, на которой датчик начинает «врать».
а) установка с помощью шпильки; б) установка с помощью заглушки и воска; в) установка щупа вручную
Рассмотрим варианты, представленные на рис. 5, от лучшего к худшему:
- Крепление шпилькой (а): Обеспечивает максимальную жесткость контакта. Резонансная частота установленного датчика практически равна его собственной частоте. Идеально для диагностики подшипников и редукторов (до 10-20 кГц).
- Клеевое крепление / Воск (б): На рис. 5 (б) показан вариант с использованием воска (для быстрых тестов) или заглушки. Жесткость такого соединения ниже, верхняя граничная частота падает примерно до 2-5 кГц. Воск удобен для временной установки на горизонтальных поверхностях (например, для ДН-5).
- Ручной щуп (в): Самый быстрый, но наименее точный метод. Оператор прижимает датчик вручную. Упругость рук человека и нестабильность силы прижима гасят высокие частоты. Достоверные измерения возможны только до 500-1000 Гц. Ошибки по амплитуде могут достигать 20-30%.
Аналогия: Представьте, что вы слушаете музыку через стену.
Шпилька — это открытая дверь (слышно все скрипки).
Магнит/Клей — это тонкая перегородка (высокие частоты приглушены).
Щуп — это толстая подушка, прижатая к уху (слышны только басы).
8. Сравнительный анализ датчиков
Для выбора правильного средства измерения необходимо понимать плюсы и минусы каждой технологии.
| Тип датчика | Физический принцип | Преимущества | Недостатки | Область применения |
|---|---|---|---|---|
| Пьезоэлектрический (PE) | Прямой пьезоэффект | Широчайший частотный диапазон, прочность, работа без питания (зарядовые), t° до 400-600°C | Не измеряет постоянную составляющую (статику), высокий импеданс (нужен спец. кабель) | Турбины, насосы, авиация, общая диагностика |
| Индуктивный (LVDT / Eddy Current) | Токи Фуко / Изменение индуктивности | Бесконтактное измерение, «видит» вал сквозь масло, высокая надежность, измеряет статику | Требует калибровки под материал вала, сложный монтаж (сверление корпуса) | Подшипники скольжения, осевой сдвиг роторов |
| Пьезорезистивный (MEMS) | Тензоэффект в полупроводнике | Измеряет от 0 Гц (статику и гравитацию), миниатюрность, встроенная электроника | Хрупкость при ударах, ограниченный ВЧ диапазон, температурный дрейф | Автомобильные краш-тесты, системы стабилизации, сейсмология |
| Лазерный виброметр | Эффект Доплера | Абсолютно бесконтактно, измерение на расстоянии, высочайшая точность | Очень высокая стоимость, чувствительность к чистоте поверхности, сложность настройки | Лабораторные исследования, легкие конструкции, мембраны |
9. Интересные факты
- Смертельный резонанс: Знаменитый Такомский мост обрушился в 1940 году не из-за урагана, а из-за ветрового резонанса (флаттера), частота которого совпала с собственной частотой моста.
- Шум Земли: Наша планета постоянно вибрирует («гул Земли») на очень низких частотах (миллигерцы), что фиксируется сейсмическими датчиками глубокого залегания.
- Опасные 7 Гц: Инфразвук частотой около 7 Гц совпадает с альфа-ритмами мозга и собственной частотой внутренних органов человека, что может вызывать панику и необъяснимый страх.
- Стрижи и пьезоэффект: Конструкция костей крыльев некоторых птиц обладает пьезоэлектрическими свойствами, что, возможно, помогает им чувствовать давление воздуха.
- Нано-вибрации: Современные атомно-силовые микроскопы используют кантилеверы, вибрирующие на нанометровых амплитудах, чтобы «ощупывать» отдельные атомы.
- Энергия из ниоткуда: Технология «Energy Harvesting» использует пьезоэлементы для сбора энергии паразитной вибрации мостов и дорог для питания датчиков IoT.
- Лунные землетрясения: Вибродатчики, оставленные миссиями Аполлон, зафиксировали, что Луна после удара метеорита может «звенеть» как колокол часами из-за отсутствия воды, гасящей волны.
10. Часто задаваемые вопросы (FAQ)
1. Что лучше измерять: виброперемещение, виброскорость или виброускорение?
Зависит от частоты. Перемещение (\( \mu m \)) информативно на низких частотах (до 10-20 Гц) и для оценки зазоров. Скорость (\( mm/s \)) — универсальный параметр энергии, стандарт ISO 10816 (10-1000 Гц). Ускорение (\( m/s^2 \)) необходимо для высоких частот (подшипники, зацепления) выше 1000 Гц.
2. Что такое ICP / IEPE датчик?
Это пьезодатчик со встроенным микроусилителем. Он преобразует высокоомный заряд в низкоомное напряжение, что позволяет использовать длинные обычные кабели и снижает помехи. Требует питания током (обычно 4 мА) по сигнальному проводу.
3. Как часто нужно калибровать виброметры?
Согласно большинству промышленных регламентов и ГОСТ, межповерочный интервал составляет 1 год. Пьезокерамика стареет, теряя чувствительность, а падения датчика могут вызвать микротрещины.
4. Можно ли использовать магнит для постоянного мониторинга?
Не рекомендуется. Со временем магнит может «сползти» от вибрации, накапливать металлическую стружку под собой, что исказит сигнал. Для стационарных систем (АЗ и ПЗ) используется только резьбовое крепление.
5. В чем разница между SKZ (RMS) и Пиковым значением (Peak)?
SKZ (Среднеквадратичное значение) характеризует энергию колебания и разрушительную способность. Пик показывает максимальное отклонение. Для гармонического сигнала \( Peak = \sqrt{2} \cdot RMS \), но для ударов разница может быть в разы больше.
Заключение
Нормативная база
- ГОСТ ISO 10816-1-97 — Вибрация. Оценка состояния машин по измерениям на невращающихся частях.
- ГОСТ 30296-95 — Аппаратура общего назначения для определения основных параметров вибрационных процессов. Общие технические требования.
- ГОСТ Р 8.669-2009 — ГСИ. Виброметры с пьезоэлектрическими, индукционными и вихретоковыми вибропреобразователями. Методика поверки.
- ГОСТ ИСО 5348-2024 — Вибрация и удар. Механическое крепление акселерометров.
Рекомендуемая литература:
- Генкин М.Д., Соколова А.Г. Виброакустическая диагностика машин и механизмов. — М.: Машиностроение.
- Ширман А., Соловьев А. Практическая вибродиагностика и мониторинг состояния механического оборудования.
- Брюль и Къер (Bruel & Kjaer). Техническая документация и справочники по измерению вибрации и удара.
