Содержание страницы
- 1. Измерение линейных скоростей: Аэродинамика и Термодинамика
- 2. Измерение частоты вращения: Тахометрия
- 3. Электрические методы: Генерация сигнала
- 4. Стробоскопический метод: Остановка времени
- 5. Сравнительный анализ и Выбор метода
- 6. Интересные факты о тахометрии
- 7. FAQ: Часто задаваемые вопросы
- Заключение
Измерение скорости движения — линейной или угловой — является одной из фундаментальных задач в инженерном деле, физике и транспорте. От точности этих измерений зависит безопасность полетов авиации, эффективность работы промышленных станков и даже корректность показаний спидометра вашего автомобиля.
В данном материале мы подробно разберем, как работают современные и классические методы измерения скорости, от аэродинамики до стробоскопического эффекта.
1. Измерение линейных скоростей: Аэродинамика и Термодинамика
Измерение линейной скорости объекта, движущегося в газовой или жидкостной среде (например, самолета или судна), требует особых подходов, так как здесь нет «вращающегося колеса», к которому можно подключить датчик. Инженеры используют свойства самой среды — давление, температуру и кинетическую энергию потока.
1.1. Аэрометрический метод: Давление как мера скорости
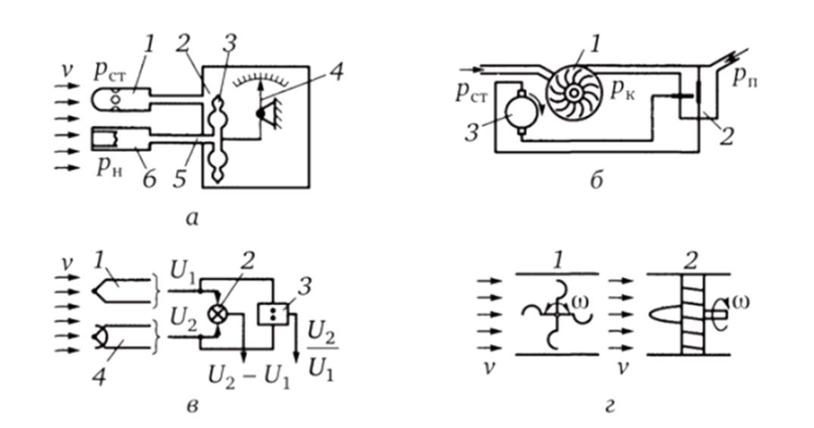
Аэрометрический метод является стандартом де-факто в авиации. Он базируется на фундаментальном уравнении Бернулли. Суть метода (см. Рис. 1 а) заключается в измерении так называемого скоростного (динамического) напора \( p_H \). Этот параметр функционально и неразрывно связан со скоростью тела, движущегося в воздушной среде.
\( p_H = \frac{\rho v^2}{2} \)где \( \rho \) — плотность воздуха, а \( v \) — скорость потока.
Технически это реализуется с помощью дифференциального манометра. Скоростной напор определяется чувствительной манометрической коробкой 3. Внутри прибора происходит сравнение двух давлений:
- Статического давления (\( p_{st} \)), которое забирается из невозмущенного потока через приемник статического давления 1.
- Полного давления, которое воспринимается приемником полного давления (трубкой Пито-Прандтля) 6 и включает в себя как статическое, так и динамическое давление.
Результат этого сравнения механически передается на стрелку 4, которая отклоняется по шкале отсчетного устройства. Чем быстрее летит самолет, тем сильнее встречный поток «давит» в трубку, и тем выше показания. Средства измерения, построенные на аэрометрическом методе, позволяют измерять скорость с погрешностью, не превышающей 2…3 %. Эта погрешность вызвана турбулентностью и изменением плотности воздуха на высоте.

а) Аэрометрический метод; б) Компенсационный метод; в) Термодинамический метод; г) Турбинный метод.
1.2. Компенсационный метод: Автоматическое равновесие
Компенсационный метод (см. Рис. 1 б) представляет собой более сложную систему с обратной связью, обеспечивающую высокую точность. Он основан на автоматическом уравновешивании (компенсации) полного давления набегающего потока \( p_n \) искусственно создаваемым давлением \( p_k \), которое развивает воздушный компрессор 1.
Сердцем системы является манометрическое реле 2 с двумя изолированными полостями. В одну полость подается внешнее полное давление \( p_n \), а во вторую — давление от компрессора \( p_k \). Работа системы циклична:
- Если внешнее давление \( p_n \) становится больше давления компрессора \( p_k \), мембрана манометрического реле 2 прогибается влево.
- Это приводит к замыканию электрической цепи двигателя 3.
- Двигатель 3 раскручивает компрессор 1, повышая давление \( p_k \).
- Как только давления уравниваются, контакты размыкаются.
Таким образом, частота вращения электродвигателя поддерживается именно такой, чтобы обеспечивать равенство \( p_n \) и \( p_k \). Измеряя обороты этого двигателя, мы косвенно, но очень точно измеряем внешнее давление, а значит и скорость.
1.3. Термодинамический метод: Скорость через тепло
Для сверхзвуковых скоростей, где воздух сильно сжимается и нагревается, применяют термодинамический метод (см. Рис. 1 в). Он основан на физическом эффекте превращения кинетической энергии потока в тепловую при его торможении. Измеряется температура так называемого «заторможенного потока».
Система использует два датчика:
- Открытая термопара 1, подверженная прямому воздействию потока.
- Экранированная термопара 4, защищенная от скоростного напора.
Разность электрических напряжений \( U_1 \) и \( U_2 \), генерируемых этими термопарами, обрабатывается сумматором 2 и делителем 3. Для эффективной работы метода критически важны малоинерционные измерители температуры, способные реагировать на изменения за доли секунды. Основной недостаток — погрешности, обусловленные непостоянством параметров самих преобразователей (термопар 1 и 4) при старении или загрязнении.
1.4. Турбинный метод: Поток вращает лопасти
В турбинном методе (см. Рис. 1 г) кинетическая энергия движущейся среды (воздуха или воды) напрямую преобразуется в механическое вращение. Поток воздействует на лопасти тангенциальной 1 или аксиальной 2 турбинки.
Физика здесь проста: частота вращения турбинки \( \omega \) прямо пропорциональна скорости движения потока \( v \). Чем быстрее поток, тем быстрее крутится винт.
2. Измерение частоты вращения: Тахометрия
При измерении скоростей вращения валов двигателей, турбин и механизмов в современной технике доминируют центробежные, магнитоиндукционные, электрические и стробоскопические методы. Рассмотрим их детально.
2.1. Центробежный метод: Сила инерции
Это классика механики. Центробежный метод характерен тем, что чувствительный элемент (грузики) реагирует на центробежную силу \( F = m\omega^2r \), развиваемую вращающимися массами. Под действием этой силы грузики расходятся, сжимая пружину и перемещая муфту, связанную со стрелкой. Этот метод реализуется в конических и кольцевых тахометрах.
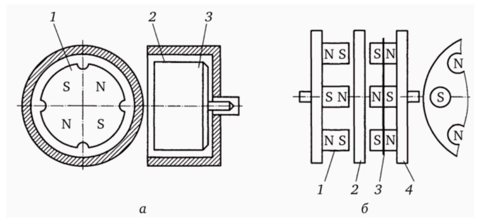
2.2. Магнитоиндукционный метод: Вихревые токи
Вы наверняка видели этот прибор — это основа классического спидометра автомобиля. Метод основан на законе электромагнитной индукции и зависимости наводимых в металлическом теле вихревых токов (токов Фуко) от частоты вращения магнитного поля.

а) с полым ротором (цилиндром); б) с диском.
1 — постоянный магнит; 2 — чувствительный элемент (цилиндр/диск); 3 — термомагнитный шунт.
Тахометры этого типа выполняются в двух конструктивных вариантах: с цилиндрическим чувствительным элементом (Рис. 2 а) и дисковым чувствительным элементом (Рис. 2 б). Основной частью узла является мощный постоянный магнит 1, который жестко связан с вращающимся валом объекта.
Рядом с магнитом (но не касаясь его!) расположен чувствительный элемент 2 — полый цилиндр или диск из немагнитного металла с высокой электропроводностью (обычно алюминий или медь). Когда магнит вращается, его поле пронизывает чувствительный элемент, вызывая в нем вихревые токи. Взаимодействие этих токов с магнитным полем создает вращающий момент, увлекающий цилиндр за магнитом. Цилиндр удерживается от свободного вращения спиральной пружиной. Угол поворота цилиндра пропорционален скорости вращения магнита.
3. Электрические методы: Генерация сигнала
Электрический метод измерения является наиболее удобным для систем автоматического управления. Он основан на двух принципах:
- Зависимость генерируемого напряжения (ЭДС) от частоты вращения (для тахогенераторов постоянного тока).
- Зависимость частоты генерируемого тока от частоты вращения (для переменных и импульсных токов).
3.1. Тахогенераторы постоянного тока
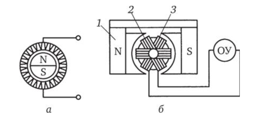
Такие устройства (см. Рис. 3) по сути являются миниатюрными электростанциями. Они включают в себя сам тахогенератор и измерительный прибор (гальванометр/вольтметр).
а) тахогенератор с ограниченным углом поворота (\( \varphi < \varphi_0 \)); б) тахогенератор постоянного тока с неограниченным вращением.1 — постоянный магнит; 2 — обмотка якоря; 3 — коллектор с щетками; ОУ — отсчетное устройство.
- С ограниченным углом поворота (Рис. 3 а): Имеет неподвижную статорную обмотку, внутри которой находится постоянный магнит. Магнит не вращается полностью, а лишь поворачивается на небольшой угол. Такие специфические датчики применяются как преобразователи угловой скорости и элементы обратной связи в прецизионных гироскопических системах. Их главное достоинство — отсутствие трущихся частей (коллектора и щеток), что дает бесконечный ресурс и отсутствие помех.
- С неограниченным углом поворота (Рис. 3 б): Это классический генератор постоянного тока. Основными элементами являются статор с постоянным магнитом 1 и магнитопроводами, вращающаяся обмотка якоря 2 и щеточно-коллекторный узел 3. Снимаемое с коллектора напряжение прямо пропорционально оборотам: \( U = k \cdot n \). Это напряжение измеряется гальванометром.
3.2. Тахометры переменного тока
Чтобы избавиться от ненадежного щеточного контакта, используют генераторы переменного тока. Здесь магнит вращается, а обмотка неподвижна. Измерение угловой скорости сводится либо к измерению амплитуды (она растет со скоростью), либо частоты тока. Частотный метод предпочтительнее, так как амплитуда может зависеть от нагрузки и температуры, а частота переменного тока жестко привязана к частоте вращения ротора и не искажается при передаче по проводам.
3.3. Индукционные тахометры: Асинхронный принцип
Индукционные тахометры (см. Рис. 4) представляют собой электрическую машину асинхронного типа. Конструкция состоит из внешнего и внутреннего магнитопроводов. В зазоре между ними располагаются две обмотки (статорная): обмотка возбуждения и сигнальная обмотка. Между ними вращается легкий алюминиевый тонкостенный ротор в виде стакана.

Принцип действия следующий: К обмотке возбуждения подводится опорное переменное напряжение (часто 400 Гц в авиации). При вращении ротора в нем возникают токи, которые создают собственное поперечное магнитное поле. Это поле наводит ЭДС в сигнальной обмотке. С сигнальной обмотки снимается напряжение \( U_c \) той же частоты, но его амплитуда строго пропорциональна угловой скорости вращения полого ротора.
4. Стробоскопический метод: Остановка времени
Стробоскопический метод — это бесконтактный способ измерения, похожий на магию. Он основан на инерционности человеческого зрения (свойстве глаза сохранять видимое изображение на десятые доли секунды после его исчезновения) и эффекте стробоскопа. Средства измерения, построенные по этому принципу, являются одними из наиболее точных и не нагружают вращающийся вал механически.
Этот метод незаменим в лабораторных исследованиях, при балансировке роторов и создании эталонных средств измерений, так как позволяет визуально «остановить» деталь и рассмотреть ее в движении.

1 — вращающийся вал; 2 — импульсный источник света; 3 — глаз оператора; 4 — метка на валу; УРВ — устройство регулирования частоты вспышек.
Принцип реализации эффекта поясняет Рис. 5. Представьте вращающийся вал 1, на который нанесена контрастная метка 4. Мы освещаем его мощными короткими вспышками света от источника 2 (например, ксеноновой или LED лампы).
Глаз оператора 3 видит вал только в моменты вспышек.
- Если частота вспышек точно совпадает с частотой вращения вала, метка каждый раз будет освещаться в одном и том же положении. Для глаза она будет казаться неподвижной.
- Если частота вспышек чуть меньше или больше, метка будет смещаться, создавая иллюзию медленного вращения вперед или назад.
Подбирая частоту вспышки посредством устройства регулирования вспышки (УРВ), оператор добивается полной визуальной остановки метки. В этот момент частота вспышек, которую мы знаем точно от генератора прибора, равна (или кратна) частоте вращения вала. Точность измерения определяется исключительно стабильностью генератора частоты вспышек и остротой глаза оператора, регистрирующего момент «остановки».
5. Сравнительный анализ и Выбор метода
Чтобы понять, какой метод лучше подходит для конкретной задачи, сведем основные характеристики в таблицу сравнения. Для студента важно понимать, что идеального метода не существует — всё зависит от условий эксплуатации.
| Метод измерения | Диапазон применения | Точность | Преимущества | Недостатки |
|---|---|---|---|---|
| Аэрометрический | Авиация, вентиляция | Средняя (2-3%) | Простота, нет движущихся частей в потоке, надежность. | Зависит от плотности среды, не работает на малых скоростях. |
| Магнитоиндукционный | Транспорт (автомобили) | Средняя (1-5%) | Надежность, не требует внешнего питания, механическая прочность. | Температурная зависимость, механический износ узлов. |
| Тахогенератор (DC) | Станки, автоматика | Высокая (0.1-1%) | Линейная характеристика, мощный выходной сигнал. | Наличие щеток (искрение, износ), пульсации сигнала. |
| Индукционный (AC) | Авиация, точная механика | Очень высокая | Бесконтактность внутри (нет щеток), долговечность, точность. | Сложная вторичная аппаратура (нужен фазовый детектор). |
| Стробоскопический | Лаборатории, диагностика | Высочайшая (0.01%) | Бесконтактный, не нагружает вал, визуальный контроль дефектов. | Требует участия оператора, сложно автоматизировать, вреден для глаз. |
6. Интересные факты о тахометрии
- Леонардо да Винчи спроектировал прообраз одометра для измерения пройденного пути, который является «предком» современных механических счетчиков, хотя и не измерял мгновенную скорость.
- Эффект «колеса телеги» в кино, когда колеса машины крутятся назад — это пример стробоскопического эффекта, где частота кадров камеры не совпадает с частотой вращения колеса.
- Первый штраф за превышение скорости был выписан в 1896 году в Великобритании. Водитель ехал со скоростью 8 миль в час (около 13 км/ч) при разрешенных 2 милях в час. Тогда полицейские использовали секундомеры.
- Оптика против механики: Современные лазерные тахометры могут измерять скорость вращения лопаток турбины через стекло иллюминатора, находясь на расстоянии нескольких метров.
- Биология: Человеческий глаз не может различить мелькания с частотой выше 24-30 Гц, сливая их в единое изображение. Это биологическое ограничение лежит в основе кино и стробоскопического метода.
- Сверхзвук: Трубки Пито на сверхзвуковых самолетах имеют специальный подогрев, так как на высоте -50°C они мгновенно обледеневают, что приводило к катастрофам в истории авиации.
- Вихревые токи в магнитоиндукционных тахометрах также используются в тормозных системах скоростных поездов и грузовиков (ретардерах) для бесконтактного торможения.
7. FAQ: Часто задаваемые вопросы
Наибольшую точность обеспечивают цифровые счетно-импульсные (лазерные) и стробоскопические тахометры, так как измерение времени и частоты в современной электронике выполняется с прецизионной точностью (кварцевая стабилизация).
Магнитоиндукционный спидометр настроен на определенный диаметр колес. Если вы поставите колеса большего диаметра, спидометр будет занижать скорость. Также влияет износ пружины и температурные колебания (хотя они компенсируются шунтом).
Тахометр измеряет частоту вращения (обороты в минуту, об/мин) вала двигателя. Спидометр — это тот же тахометр, который измеряет обороты выходного вала трансмиссии, но его шкала проградуирована в километрах в час (км/ч) с учетом диаметра колеса.
Это состояние газа, когда его скорость условно падает до нуля при встрече с препятствием (датчиком). Вся кинетическая энергия движения молекул переходит в тепловую, резко повышая температуру в точке измерения.
Да, но есть нюанс: стробоскоп может «остановить» вентилятор на частоте, кратной реальной (например, при 2 или 3 вспышках за один оборот). Нужно начинать с высокой частоты и плавно снижать её, пока не появится первое четкое неподвижное изображение одной метки.
Заключение
Мы рассмотрели широкий спектр методов измерения скорости — от аэродинамических трубок до магнитных муфт и электронных стробоскопов. Каждый из этих методов прошел долгий путь эволюции и занял свою нишу. Если в авиации безраздельно властвуют трубки Пито и аэрометрический метод, то в автомобилестроении и бытовой технике стандартом стали магнитные и электронные датчики. Понимание физических основ работы этих приборов позволяет инженерам создавать более надежные и точные системы, а студентам — глубже разбираться в процессах, происходящих внутри машин и механизмов.
Нормативная база
- ГОСТ 18303-72 «Тахометры. Термины и определения». (Базовый стандарт, определяющий понятийный аппарат).
- ГОСТ 21339-82 «Тахометры. Общие технические условия». (Описывает требования к изготовлению и точности приборов).
- ГОСТ 8.285-2013 «ГСИ. Тахометры. Методика поверки».
Рекомендуемая литература
- Фрамтон, Р. Измерение скорости, ускорения и вибрации. — М.: Энергоатомиздат, 2015.
- Электрические измерения неэлектрических величин. Под ред. П.В. Новицкого. — Л.: Энергия, 2010.
- Справочник по измерительным приборам и системам. / А.А. Бодров. — М.: Машиностроение, 2018.
