Содержание страницы
Электрические машины постоянного тока (МПТ) — это электромеханические преобразователи энергии, которые были первыми в истории человечества устройствами для непрерывной генерации электроэнергии и приведения механизмов в движение.
1. Назначение и классификация электрических машин
Электрические машины представляют собой устройства, в которых электрическая энергия, поступающая от сети, превращается в механическую энергию вращения вала электрического двигателя. Другой вид электрических машин — генераторы — превращают механическую энергию турбины, дизельного двигателя, ветра и т.д. в электрическую энергию.
Глобально все электрические машины подразделяются на два класса:
- Машины постоянного тока.
- Машины переменного тока (которые, в свою очередь, делятся на однофазные и трехфазные, синхронные и асинхронные).
Следует отметить важный факт: приведенная классификация одинаково применима как к генераторам, так и к двигателям. Таким образом, генераторы и двигатели могут быть постоянного тока, однофазными, трехфазными, синхронными и асинхронными.
2. Конструкция электрических машин и свойство обратимости
В конструкции электрических машин постоянного и переменного тока можно выделить общие функциональные части:
- Статор: неподвижная часть.
- Ротор: подвижная (вращающаяся) часть.
На рис. 1 в качестве примера приведена машина постоянного тока. Статор и ротор изготавливаются из специальной электротехнической (магнитной) стали. Ротор машин всегда набирается из изолированных пластин для снижения потерь на вихревые токи. Статор же изготавливается в виде пакета пластин только для тех машин, которые могут работать и на переменном токе (или в условиях пульсирующих полей). На статор и ротор наматывают электрические обмотки, по которым протекает электрический ток. Вал ротора закреплен на подшипниках для уменьшения потерь при вращении. С помощью специальных муфт он соединяется с механическим устройством.

1 — коллектор; 2 — щетка; 3 — сердечник якоря; 4 — сердечник главного полюса; 5 — полюсная катушка; 6 — статор; 7 — подшипниковый щит; 8 — вентилятор; 9 — обмотка якоря
Следует отметить, что конструкции генератора и двигателя различаются незначительно. Электрические машины обратимы: одна и та же машина может работать и как генератор, и как двигатель. Однако это не означает, что любой двигатель можно бездумно использовать в качестве генератора. Обычно машины проектируются и оптимизируются по назначению — либо как двигатель, либо как генератор. А свойство обратимости показывает, что во время работы двигатель может перейти в режим работы генератором (например, при торможении) и наоборот.
3. Генераторы постоянного тока
3.1. Назначение и принцип действия
Генераторы постоянного тока предназначены для производства электрической энергии постоянного тока. Они широко применяются в качестве автономных источников питания, сварочных генераторов, для питания двигателей постоянного тока, используемых в тяжелом машиностроении, металлургии и в прецизионных системах автоматики.
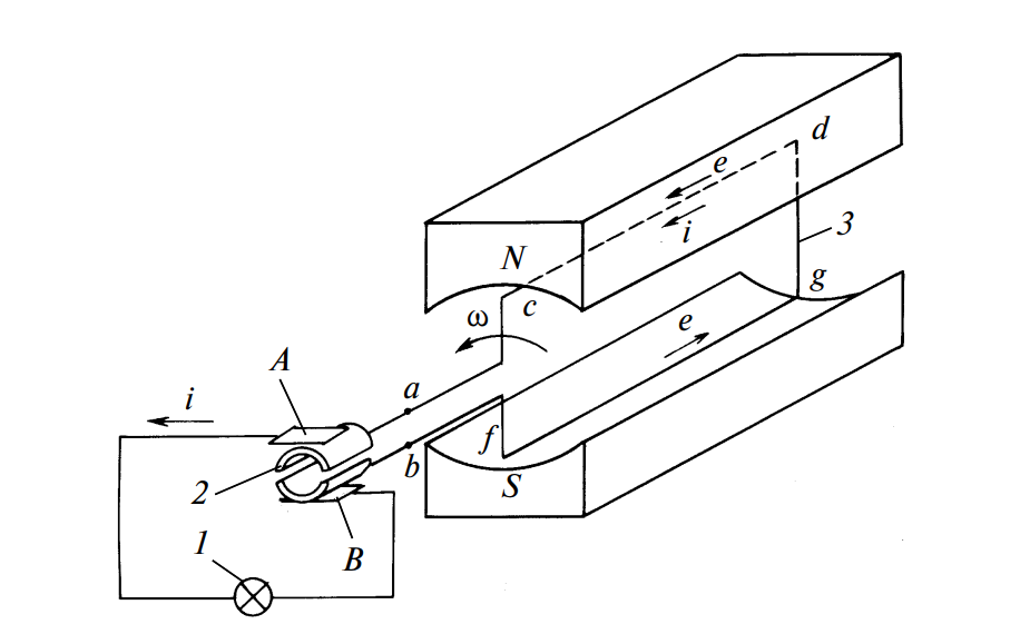
Принцип действия генератора основан на явлении электромагнитной индукции — появлении ЭДС в рамке, вращающейся в магнитном поле (см. рис. 2). Соединим зажимы a и b рамки с разрезанным медным кольцом (коллектором), по которому скользят щетки. Предположим, что рамка и кольцо образуют жесткую механическую систему, закрепленную на подшипниках, которая может вращаться в магнитном поле постоянного магнита с полюсами N и S.

1 — лампа; 2 — коллектор; 3 — рамка; А, В — щетки
При вращении рамки с угловой частотой \(\omega\) в проводах fg и cd рамки будет возникать ЭДС индукции \(e\). Направление ЭДС \(e\) можно определить по правилу правой руки. Ток в проводниках рамки (если цепь замкнута) будет совпадать с направлением ЭДС. В положении, показанном на рис. 2, ток \(i\) протекает от зажима f к зажиму g проводника fg. Как только рамка повернется на 180° и проводник fg займет положение cd, ток в этом проводнике поменяет свое направление и будет протекать в направлении от g к f.

Электродвижущая сила рамки \(e\) будет изменяться по синусоидальному закону:
где \(E_m\) — амплитуда ЭДС; \(\omega\) — угловая частота, которую можно выразить через частоту вращения рамки \(n\):
Также синусоидальным будет и напряжение самой рамки \(u_{ab}\). Однако напряжение на щетках \(u_{AB}\) будет иметь вид выпрямленной синусоиды (пульсирующего тока одного направления), как показано на рис. 3а. Таким образом, разрезанное медное кольцо — коллектор — механически выпрямляет синусоидальный ток, индуцируемый в рамке.

1—9 — точки на кривой \(u_{ab}(t)\), показывающие мгновенные значения ЭДС

Вверху — положение витка в магнитном поле при углах поворота \(\alpha\);
Внизу — график токов:
красная сплошная линия — переменный ток в витке якоря (\(I_{max}\) меняет знак);
синяя пунктирная линия — выпрямленный (пульсирующий) ток во внешней цепи, который получился через разрезанное медное кольцо — коллектор.
3.2. Устройство генератора постоянного тока
Основными частями генератора постоянного тока являются статор (неподвижная часть) и ротор (подвижная часть).
Статор состоит из станины 1 (рис. 4), к которой с внутренней стороны крепятся главные полюсы 2. На каждый главный полюс помещают катушки 3 обмотки возбуждения, которые соединяют последовательно. Обмотку возбуждения подключают к отдельному источнику постоянного тока или параллельно обмотке якоря (самовозбуждение). Для более равномерного распределения магнитного поля в воздушном зазоре главные полюсы имеют наконечники 4.
Станина вместе с главными полюсами и наконечниками изготавливается из ферромагнитного материала. Вместе с обмоткой возбуждения они образуют систему, которая называется индуктором. Индуктор создает постоянное магнитное поле, силовые линии которого замыкаются через главные полюсы, наконечники, якорь и станину (путь 5). Обычно станина машин постоянного тока выполняется из сплошного материала (литая сталь), в то время как полюсы и особенно полюсные наконечники изготавливаются из листовой магнитной стали (шихтованные пакеты) для снижения потерь.

1 — статор; 2 — полюсы; 3 — обмотка возбуждения; 4 — полюсные наконечники; 5 — силовые линии; 6 — якорь; 7 — пазы; 8 — обмотка якоря; 9 — коллектор; 10 — щетки
Подвижную часть машин постоянного тока — ротор — обычно называют якорем. Якорь представляет собой цилиндр, собранный из листовой электротехнической стали (для минимизации вихревых токов при перемагничивании). В цилиндре имеются пазы 7, куда закладывается обмотка якоря. На рис. 4 обмотка якоря показана в виде проводников 8. Проводники образуют витки, которые объединяются в секции. Каждая секция соединяется с коллекторными пластинами коллектора 9.
Коллектор является частью ротора и представляет собой цилиндр, состоящий из медных пластин, изолированных друг от друга миканитом или другим диэлектриком. К каждой пластине коллектора подсоединяются два конца секций якоря. С помощью неподвижных угольно-графитовых щеток 10 осуществляется скользящий электрический контакт с обмоткой вращающегося якоря. Напряжение на щетках якоря \(U_я\) является выходным напряжением генератора, к которому подключают нагрузку.
3.3. Конструкция обмотки и ЭДС якоря
Рассмотрим процесс формирования ЭДС подробнее. Выделим на кривой \(e(t)\) точки 1, 2, …, 9, сдвинутые по времени одна от другой на \(T/8\). Каждой точке соответствует определенное положение рамки.
Представим, что якорь имеет восемь пазов и в каждом пазу уложено два проводника (рис. 5): четные проводники находятся внутри, нечетные — у поверхности паза. Эти 16 проводников образуют восемь катушек, расположение которых в пространстве совпадает с положением рамок, соответствующих точкам 1…9 кривой \(e(t)\).

1—16 — номера проводников в пазах якоря
Соединим все катушки в такой последовательности:
1 → 10 → 3 → 12 → 5 → 14 → 7 → 16 → 9 → 2 → 11 → 4 → 13 → 6 → 15 → 8 → 1. (Формула 1)
В результате получим замкнутый контур (рис. 6), в котором алгебраическая сумма ЭДС, наводимых в катушках, будет равна нулю (\(\sum e = 0\)), поэтому ток в контуре при холостом ходе отсутствует.

1—8 — номера катушек; 8—1, 10—3, 6—15 — соединения проводников якоря с коллектором. Пунктиром показана геометрическая нейтраль.
Щетки располагают на геометрической нейтрали — линии, проходящей перпендикулярно оси главных полюсов (через катушки 1 и 5 на схеме). В этих катушках ЭДС индукции в данный момент равна нулю, следовательно, коммутация (переключение) происходит с минимальным искрением.
Приведенная схема соответствует петлевой обмотке. Также существуют волновые обмотки.
Щетки делят обмотку якоря на параллельные ветви. Количество параллельных ветвей обозначают \(2a\). Для петлевой обмотки \(a = p\) (число пар полюсов).
ЭДС якоря рассчитывается по фундаментальной формуле электромашиностроения:
где:
\(N_я\) — число проводников обмотки якоря;
\(\Phi\) — магнитный поток;
\(n\) — частота вращения;
\(C_e\) — конструктивная постоянная машины.
3.4. Электромагнитный момент и уравнение генератора
При протекании тока по обмотке якоря в магнитном поле возникает электромагнитная сила \(F = B l I\). Суммарный момент всех сил создает электромагнитный момент машины:
Это показывает, что момент зависит от потока и тока якоря.
Уравнение генератора:
В обмотке якоря наводится ЭДС \(E = C_e \Phi n\). При подключении нагрузки \(R_н\) по цепи течет ток \(I_я\). Напряжение на выходе генератора меньше ЭДС на величину падения напряжения внутри машины:
Ток нагрузки определяется как:

3.5. Виды генераторов и их характеристики
Свойства генераторов критически зависят от способа питания обмотки возбуждения (ОВ). Различают:
- Независимого возбуждения (ОВ питается от стороннего источника) — рис. 8, а.
- Параллельного возбуждения (шунтовые, ОВ параллельна якорю) — рис. 8, б.
- Последовательного возбуждения (сериесные, ОВ последовательна якорю) — рис. 8, в.
- Смешанного возбуждения (компаундные, две обмотки) — рис. 8, г.

а — независимого возбуждения; б — параллельного; в — последовательного; г — смешанного
Главная характеристика генератора — внешняя характеристика \(U = f(I)\), показывающая, как проседает напряжение при росте нагрузки (рис. 9).

1 — независимое возбуждение (жесткая); 2 — параллельное (мягкая); 3 — смешанное (может быть возрастающей)
4. Двигатели постоянного тока (ДПТ)
4.1. Принцип действия и уравнения
Конструкция двигателя полностью аналогична генератору. Разница в физике процессов: теперь мы подаем напряжение \(U\) из сети на якорь и возбуждение. Ток якоря, взаимодействуя с полем, создает вращающий момент \(M_{эм}\).
Основные уравнения двигателя:
Уравнение напряжений: \( U = E + R_я I_я \)
Ток якоря: \( I_я = \frac{U — E}{R_я} = \frac{U — C_e \Phi n}{R_я} \)
Частота вращения: \( n = \frac{U — R_я I_я}{C_e \Phi} \)
4.2. Характеристики двигателей
Для инженера важнейшей является механическая характеристика \(n = f(M)\) — зависимость скорости от нагрузки на валу.

Двигатель независимого возбуждения имеет «жесткую» характеристику (скорость мало падает при нагрузке) и отличные регулировочные свойства. Изменяя напряжение \(U\), можно плавно менять скорость (линии смещаются параллельно).
У двигателя последовательного возбуждения (рис. 11, кривая 2) при малых нагрузках (\(M \to 0\)) частота вращения резко возрастает. Теоретически она стремится к бесконечности. Это явление называется «разнос». Центробежные силы могут разорвать обмотки и разрушить коллектор.
Запрещено включать двигатели последовательного возбуждения без нагрузки на валу (ременная передача также запрещена, только муфта или шестерни)!

1 — параллельного возбуждения; 2 — последовательного возбуждения (гипербола); 3 — смешанного возбуждения
Рабочие характеристики (рис. 12) связывают КПД, ток и момент с полезной мощностью \(P_2\). Максимум КПД обычно проектируют не на номинальную нагрузку, а на уровень \(0.65…0.7 P_{ном}\), так как двигатели редко работают на пределе постоянно.

4.3. Пуск и регулирование
Прямой пуск мощных ДПТ невозможен, так как при \(n=0\) противо-ЭДС \(E=0\), и пусковой ток \(I_{пуск} = U/R_я\) превышает номинальный в 20–25 раз. Это «смертельно» для коллектора (круговой огонь) и сети.
Способы пуска:
- Понижение напряжения питания (плавный пуск).
- Введение пускового реостата последовательно с якорем.
Регулирование скорости осуществляется изменением напряжения \(U\), сопротивления цепи якоря или магнитного потока \(\Phi\).
5. Сравнительный анализ и таблица
Таблица: Генератор vs Двигатель
| Параметр | Генератор постоянного тока | Двигатель постоянного тока |
|---|---|---|
| Входная энергия | Механическая (вращение вала) | Электрическая (ток и напряжение) |
| Выходная энергия | Электрическая | Механическая |
| Правило руки для ЭДС/Силы | Правило правой руки | Правило левой руки |
| ЭДС якоря | \(E > U\) (источник ЭДС) | \(E < U\) (противо-ЭДС) |
| Основное применение | Сварка, резервное питание, возбудители синхронных машин | Электротранспорт (трамваи, метро), прокатные станы, краны, робототехника |
Преимущества и недостатки МПТ
Преимущества:
- Линейные регулировочные характеристики, простота управления скоростью.
- Огромный пусковой момент (особенно у последовательного возбуждения).
- Высокая перегрузочная способность.
Недостатки:
- Наличие коллекторно-щеточного узла (искрение, износ, необходимость обслуживания).
- Высокая стоимость изготовления по сравнению с асинхронными двигателями.
- Радиопомехи от искрения щеток.
6. Интересные факты о машинах постоянного тока
- Война токов: Томас Эдисон был ярым сторонником постоянного тока и даже пытался дискредитировать переменный ток Теслы, используя его для электрического стула, чтобы доказать «опасность» AC.
- Первый электроход: В 1838 году Борис Якоби установил свой электродвигатель постоянного тока на лодку. Она перевозила 14 пассажиров по Неве против течения. Питание шло от 320 гальванических элементов.
- Круговой огонь: Самая страшная авария для ДПТ — «круговой огонь» на коллекторе, когда дуга замыкает щетки разной полярности. Это равносильно короткому замыканию внутри машины.
- Трамвайная тяга: Почти 100 лет трамваи и троллейбусы использовали исключительно двигатели постоянного тока последовательного возбуждения из-за их идеальной тяговой характеристики (чем тяжелее ехать, тем сильнее «тянет» двигатель).
- Микродвигатели: Самые маленькие ДПТ используются в виброзвонках телефонов и медицинских роботах, их размер — несколько миллиметров.
- Рекуперация: ДПТ легко возвращают энергию в сеть. Если трамвай едет с горки, его двигатели становятся генераторами и отдают ток обратно в провода.
- Универсальность: Коллекторный двигатель (например, в дрели или пылесосе) — это, по сути, машина постоянного тока последовательного возбуждения, которая может работать и от переменного тока.
7. FAQ: Часто задаваемые вопросы
1. Почему двигатель постоянного тока нельзя включать прямо в розетку без пускового устройства?
Потому что сопротивление обмотки якоря очень мало (доли Ома). При неподвижном роторе противо-ЭДС равна нулю. По закону Ома \(I = U/R\), ток получится огромным, что сожжет обмотки.
2. Зачем нужен коллектор?
В генераторе он работает как механический выпрямитель (превращает переменный ток рамки в постоянный). В двигателе — как инвертор (переключает ток в обмотках так, чтобы момент вращения всегда был направлен в одну сторону).
3. Чем опасен разрыв цепи возбуждения у работающего двигателя?
Если это двигатель параллельного возбуждения, то при обрыве тока возбуждения магнитный поток \(\Phi\) резко падает (до остаточного). Чтобы скомпенсировать это и поддержать противо-ЭДС, двигатель будет пытаться разогнаться до запредельных скоростей («разнос»).
4. Что такое реакция якоря?
Это воздействие магнитного поля, создаваемого током якоря, на главное магнитное поле полюсов. Это искажает поле, смещает физическую нейтраль и ухудшает коммутацию (вызывает искрение).
5. Почему сердечник якоря шихтованный, а станина литая?
Якорь вращается в магнитном поле, и в нем наводятся вихревые токи (Фуко), которые греют металл. Изолированные пластины разрывают эти токи. Станина же находится в постоянном поле, перемагничивания нет, поэтому её можно делать цельной (что дешевле и добавляет прочности).
Заключение
Машины постоянного тока остаются эталоном управляемости в электроприводе. Несмотря на вытеснение их частотно-регулируемым асинхронным приводом, понимание принципов работы ДПТ является ключом к глубокому изучению всей электромеханики. Их свойство обратимости, гибкость характеристик и понятная физика процессов делают их идеальным объектом для изучения и важным элементом современной техники.
Нормативная база
При проектировании и эксплуатации следует руководствоваться действующими стандартами. Важно: перед применением проверяйте статус документа на актуальность.
- ГОСТ IEC 60034-1-2014 — «Машины электрические вращающиеся. Часть 1. Номинальные параметры и рабочие характеристики».
- ГОСТ 183-74 — «Машины электрические вращающиеся. Общие технические условия».
- ГОСТ 10159-79 — «Машины электрические вращающиеся. Обозначения буквенные выводов обмоток».
- ГОСТ 11828-86 — «Машины электрические вращающиеся. Общие методы испытаний».
Список литературы
- Вольдек А.И. Электрические машины. Учебник для вузов. — Л.: Энергия, 1978.
- Копылов И.П. Математическое моделирование электрических машин. — М.: Высшая школа, 2001.
- Кацман М.М. Электрические машины. — М.: Высшая школа, 2003.
