Молниезащита
Промышленная автоматика
Статьи / Промышленная автоматика
  31.10.24  |  
Шкафы автоматики: назначение, виды и преимущества Шкафы автоматики — это специальные устройства, предназначенные для размещения и защиты электрического оборудования, используемого в системах управления, ...[ далее ]
  06.09.24  |  
Электронные модули являются важнейшими компонентами в автоматизации процессов и управления в различных отраслях промышленности. Они представляют собой компактные устройства, обеспечивающие связь между ...[ далее ]
  23.01.24  |  
В информационных технологиях термин миграция означает процесс фундаментального изменения существующего системного ландшафта или существенной части этого ландшафта. Миграция может касаться как аппаратного, ...[ далее ]
  27.04.23  |  
АСУ ТП – это автоматизированная система управления технологическим процессом. Она представляет собой комплекс технических средств и программного обеспечения, который обеспечивает автоматическое управление ...[ далее ]
Мониторинг CO2 в офисных помещениях
Что такое CO2? Углекислый газ (CO2) – вещество, содержащееся в выдыхаемом воздухе. Установка датчика CO2 может выполняться в людных местах, таких, как офисные помещения, для оценки качества воздуха ...[ далее ]
Ваш ИБП только тогда ИБП, когда его батареи в порядке
Когда происходит сбой электросети, единственной вещью, защищающей критическую нагрузку, являются ваш ИБП и ваши батареи. Это действительно единственная ситуация, когда вы узнаете, подходят ли ваши батареи ...[ далее ]
Машины контактной сварки - особенности функционирования и разновидности
Контактная сварка подразумевает соединение различных металлов между собой, путем их нагрева через электрический ток и пластическое деформирование. Оказываемое сжимающее усилие обеспечивает полное взаимодействие ...[ далее ]
Аппаратура управления машиной контактной сварки
Для включения (и выключения) сварочного трансформатора в сеть служат специальные устройства — тиристорные контакторы. На машинах небольшой мощности (МТР, МТ-1230, МТ-1503) с невысокими требованиями к ...[ далее ]
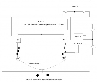
Как правило, измерение крутящего момента стационарного металлического вала не вызывает затруднений. В случае если предел упругости вала не превышен, величина скручивания вала пропорциональна действующему ...[ далее ]
Палка, веревка - автоматизация в сельском хозяйстве в условиях российских реалий.
К нам обратился клиент с задачей заменить импортный блок управления приводами скреперной установки навозоудаления в коровнике, на что-то по проще и надежнее. И получилось из этого следующее... Для начала ...[ далее ]
Автоматизация производства полимерного профиля на базе оборудования ОВЕН
Автоматизацию производства полимерного профиля на базе обновленного программируемого логического контроллера ОВЕН ПЛК110 осуществила Группа компаний «Силур» (г. Арамиль Свердловской области). Полимерный ...[ далее ]
Управление технологической схемой подачи газа обеспечивают приборы ОВЕН
С использованием сенсорной панели оператора ОВЕН СП270 разработан шкаф управления, предназначенный для работы в составе комплекса оборудования резервуарного парка снабжения газовой котельной. Разработку ...[ далее ]
Автоматическая система управления насосами на базе контроллера ОВЕН ПЛК73
Автоматическая система управления насосами на базе свободно программируемого логического контроллера ОВЕН ПЛК73 разработана компанией «H2O Крым» (г. Симферополь). Система обеспечивает автоматическое управление ...[ далее ]
На базе оборудования ОВЕН автоматизирована станция поддержания давления
В основу системы автоматизации положен панельный программируемый контроллер ОВЕН СПК107. Автоматическая станция предназначена для поддержания давления в 20-этажном доме. Разработку проекта осуществила ...[ далее ]
Автоматическое управление насосами и системой подпитки котельной
Комплекс автоматического управления насосами и системой подпитки котельной разработан компанией «Монтаж автоматики» (г. Чита) на базе оборудования ОВЕН. На базе приборов ОВЕН разработаны два щита управления: ...[ далее ]
На базе оборудования ОВЕН разработано устройство защиты обжиговой печи по газу
Устройство защиты обжиговой печи по газу разработано на базе программируемого реле ОВЕН ПР110. Реализацией проекта занималась компания «Акето» (г. Рудный Костанайской области Республика Казахстан). Система ...[ далее ]
Котельная в Коломне автоматизирована на базе оборудования ОВЕН
Компания «Ренаком-центр» (г. Коломна Московской обл.) осуществила автоматизацию котельной. На базе приборов ОВЕН был разработан щит управления насосами отопления и задвижкой КЗР. В основу щита управления ...[ далее ]
Автоматизация мини-ТЭЦ в Нижегородской области
В Нижегородской области на базе отдыха «Кусторка» с целью удешевления электрической и тепловой энергии была построена малая теплоэлектроцентраль (мини-ТЭЦ), диспетчеризация которой была осуществлена с ...[ далее ]
Управление технологическим оборудованием аквапарка
Компания «Черемшина ЭНЕРГОСТАНДАРТ» (г. Севастополь) разработала автоматизированную систему, предназначенную для удаленного управления оборудованием аквапарка. АСУ обеспечивает управление и мониторинг ...[ далее ]
Управление инженерными системами загородного дома на базе СПК207
Система дистанционного контроля и управления инженерным оборудованием загородного дома разработана компанией «Термоэнергосервис» (г. Чехов, Московская обл.) на базе панельного контроллера ОВЕН СПК207. Все ...[ далее ]
123  »