Содержание страницы
Давление — это один из основных термодинамических параметров, определяющий состояние вещества и протекание множества технологических процессов. Ответ на вопрос «Что это?» прост и сложен одновременно: физически это скалярная величина, характеризующая интенсивность нормальных сил, с которыми одно тело действует на поверхность другого (например, газ на стенки сосуда). Математически это отношение силы к площади: \( P = F/S \). Однако за этой формулой скрывается огромный пласт инженерной науки.
Историческая справка: История научного измерения давления берет начало в XVII веке. В 1643 году итальянский физик Эванджелиста Торричелли, ученик Галилея, провел знаменитый опыт с ртутью, доказав существование атмосферного давления и создав первый барометр. Позднее Блез Паскаль подтвердил зависимость давления от высоты, а в XIX веке Эжен Бурдон изобрел трубчатую пружину, которая до сих пор является «сердцем» миллионов механических манометров по всему миру.
1. Классификация и физические основы методов измерения

В современной измерительной технике существует строгое разделение приборов в зависимости от физического эффекта, положенного в основу преобразования давления в сигнал. Рассмотрим основные группы, определяющие принцип действия соответствующих средств измерения:
- Жидкостные: Классический метод, где измерение давления происходит путем уравновешивания его столбом жидкости (ртуть, вода, масло, спирт) соответствующей высоты. Это наиболее точный метод для низких давлений, часто используемый как эталонный.
- Пружинные (деформационные): Самая массовая группа промышленных приборов. В них значение давления определяется путем измерения упругой деформации чувствительных элементов (трубок, мембран, сильфонов). Закон Гука здесь работает на практике.
- Грузопоршневые: Основаны на фундаментальном определении давления. Уравновешивание сил, создаваемых измеряемым давлением с одной стороны, и калиброванными грузами, действующими на поршень известного сечения, с другой. Являются лабораторными эталонами высочайшей точности.
- Электрические: Современный стандарт для автоматизации. Измерение осуществляется путем преобразования давления в электрическую величину (сопротивление, емкость, заряд, частоту) за счет изменения электрических свойств материала.
- Ионизационные: Применяются для глубокого вакуума. Под низким давлением происходит изменение степени ионизации молекул газа потоком электронов. Эмиссия может быть термоэлектрической (накаленный катод) или радиоактивной.
- Теплофизические (тепловые): Используют зависимость теплопроводности разреженного газа от давления. Чем меньше молекул газа, тем хуже переносится тепло от нагретой нити.
Терминология по виду измеряемого давления
Для инженера критически важно понимать, относительно чего производится измерение. Средства измерения подразделяют на следующие типы:
- Манометры: Приборы для измерения избыточного давления (давления выше атмосферного). Если манометр показывает 0, это значит, давление равно атмосферному.
- Вакуумметры: Служат для измерения разрежения (давления ниже атмосферного).
- Мановакуумметры: Универсальные приборы, измеряющие как избыточное давление, так и вакуум (обычно имеют шкалу с нулем посередине или смещенным нулем).
- Напоромеры: Специализированные манометры для измерения малых избыточных давлений (обычно до 40 кПа).
- Тягомеры: Приборы для измерения малых разрежений (тяги в топках котлов).
- Тягонапоромеры: Комбинированные приборы для малых давлений и разрежений.
- Дифференциальные манометры (дифманометры): Измеряют разность (перепад) двух давлений, ни одно из которых не является атмосферным. Незаменимы при измерении расхода на сужающих устройствах и уровня в закрытых резервуарах.
- Барометры: Используются для измерения абсолютного атмосферного давления.
2. Жидкостные средства измерения давления
Несмотря на цифровизацию, жидкостные приборы остаются эталоном простоты и надежности в лабораторных условиях. Действие жидкостных средств измерений базируется на гидростатическом принципе: измеряемое давление уравновешивается давлением столба затворной (рабочей) жидкости. Разница уровней \( h \) в зависимости от плотности жидкости \( \rho \) является прямой мерой давления.
2.1. Двухтрубный (U-образный) манометр
Простейшим, но фундаментальным прибором для измерения давления или разности давлений является двухтрубный манометр (см. Рис. 1, а). Конструктивно он представляет собой согнутую стеклянную U-образную трубку, заполненную рабочей жидкостью (обычно ртутью для высоких давлений или подкрашенной водой/спиртом для низких) и закрепленную на жестком основании со шкалой.
Принцип работы: Один конец трубки сообщается с атмосферой (опорное давление), а другой подключается к измеряемому объекту. Разность давлений вытесняет жидкость, создавая перепад уровней. Значение давления определяется из основного уравнения гидростатики:
Где:
\( p \) – измеряемое избыточное давление, Па;
\( h \) – разность уровней жидкости (сумма смещений в обоих коленах), м;
\( \rho \) – плотность рабочей жидкости, кг/м³;
\( g \) – ускорение свободного падения, м/с².
Верхний предел измерения таких манометров обычно ограничен высотой трубки и составляет 1…10 кПа (для воды) или до 100 кПа (для ртути). Приведенная погрешность лежит в диапазоне 0,2…2 %.
2.2. Однотрубный (чашечный) манометр
Для удобства эксплуатации и снижения погрешности отсчета был разработан однотрубный манометр (см. Рис. 1, б). В этой конструкции одно из колен заменено широким сосудом (чашкой), диаметр которого \( D \) значительно (обычно в 20 раз и более) превышает диаметр измерительной трубки \( d \).
При подаче давления жидкость перетекает из широкого сосуда в узкую трубку. Из-за разницы площадей уровень в чашке понижается незначительно, в то время как в трубке он растет быстро. Расчетная формула принимает вид:
Где \( f, F \) – площади сечения трубки и широкого сосуда соответственно. Так как соотношение \( f/F \) мало, понижением уровня в чашке часто пренебрегают (или шкала уже проградуирована с учетом этой поправки), и отсчет ведут только по одной трубке \( h_1 \). Однотрубные манометры имеют пределы измерения 1,6…10 кПа и более высокую точность (0,25…0,4 %).
2.3. Микроманометр с наклонной трубкой
Для прецизионного измерения малых давлений (тяги, напора вентиляторов до 2-3 кПа) используется микроманометр (см. Рис. 1, в). Его особенность — возможность изменять угол наклона измерительной трубки \( \alpha \) к горизонту.

Рисунок 1. Жидкостные манометры:
а) Двухтрубный (U-образный); б) Однотрубный (чашечный); в) Микроманометр с наклонной трубкой.
При наклоне трубки длина столба жидкости \( l \) увеличивается при той же высоте подъема \( h \). Связь выражается как \( h_1 = l \sin \alpha \). С учетом уравнения для чашечного манометра и пренебрегая малостью отношения сечений, формула принимает вид:
Недостатки жидкостных приборов: Отсутствие дистанционной передачи данных, хрупкость (стекло), токсичность (в случае ртути), узкий диапазон измерений. Однако простота и дешевизна делают их незаменимыми для наладки вентиляции и лабораторных работ.
3. Деформационные (пружинные) средства измерения
Эта группа приборов доминирует в промышленности. Принцип действия основан на законе Гука: сила давления или вакуума вызывает упругую деформацию чувствительного элемента, которая пропорциональна величине давления. Эта деформация преобразуется механизмом в движение стрелки или в электрический сигнал.
Материалы: Ключевое требование к чувствительным элементам — отсутствие гистерезиса (возвращение в исходную точку) и стабильность модуля упругости. Используются: бронза (БрОФ), латунь (Л63), нержавеющая сталь, хромоникелевые сплавы (36НХТЮ), бериллиевая бронза.
3.1. Типы чувствительных элементов
На Рис. 2 представлены основные виды упругих элементов, применяемых в приборостроении:

Рисунок 2. Деформационные чувствительные элементы средств измерения давления:
а) Одновитковая трубчатая пружина (Трубка Бурдона); б) Многовитковая (геликоидальная) пружина; в) Упругая плоская мембрана; г, д) Мембранные коробки (анероидные); е, ж) Двойные мембранные коробки (сильфонного типа); з) Сильфон.
- Трубка Бурдона (а): Овальная трубка, согнутая в дугу. При подаче давления сечение стремится стать круглым, что приводит к разгибанию трубки.
- Мембрана (в): Гибкая пластина, прогибающаяся под давлением. Бывают плоские и гофрированные (для увеличения линейного хода).
- Сильфон (з): Тонкостенная гофрированная трубка (гармошка). Обладает большим ходом и используется в самописцах и пневматических датчиках.
3.2. Трубчато-пружинные манометры (Классическая конструкция)
Трубчато-пружинные приборы — это «рабочие лошадки» промышленности. Рассмотрим детальное устройство классического технического манометра (Рис. 3).

Рисунок 3. Устройство пружинного манометра:
1 – корпус; 2 – полая трубка (пружина Бурдона); 3 – шкала; 4 – стрелка; 5 – шестерня (трибка); 6 – зубчатый сектор; 7 – поводок (тяга); 8 – штуцер; 9 – спиральная пружина (волосок).
Принцип работы механизма:
Измеряемая среда через штуцер 8 поступает в полую трубку 2. Трубка имеет овальное сечение и согнута по дуге (обычно на 270°). Один конец трубки впаян в держатель штуцера, а второй — свободен и заглушен. Под действием давления (силы, стремящейся «раздуть» овал в круг) кривизна трубки уменьшается, и она «разгибается».
Свободный конец трубки перемещается и через поводок 7 тянет хвост зубчатого сектора 6. Сектор поворачивается вокруг своей оси и приводит во вращение сцепленную с ним малую шестерню (трибку) 5. На оси шестерни сидит стрелка 4, которая показывает значение на шкале 3.
Характеристики: Манометры такого типа изготавливаются на давления до 160 кПа и выше (до 1000 МПа в спецсплавах). Классы точности: 0.6, 1.0, 1.5, 2.5 (промышленные) и 0.15, 0.25 (образцовые).
3.3. Мембранные приборы (Для малых давлений)
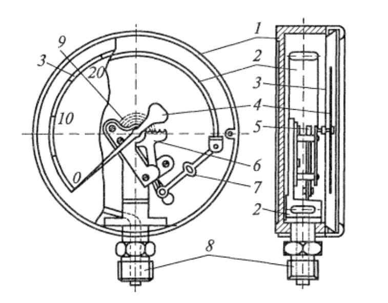
Для измерения низких давлений (тяги газа, наддува), где жесткость трубки Бурдона слишком велика, используют мембранные коробки. На Рис. 4 показан профильный мановакуумметр.

Рисунок 4. Конструкция мембранного мановакуумметра с профильной шкалой:
1 – рычаг; 2 – стопорный винт; 3 – противовес; 4 – ось стрелки; 5 – указательная стрелка; 6 – мембранная коробка (чувствительный элемент); 7 – передаточный рычаг; 8 – ось рычага; 9 – поводок; 10 – плоская пружина; 11 – винт корректора нуля; 12 – трубка подвода среды; 13 – штуцер; 14 – тяга; 15 – спиральная пружина.
Описание взаимодействия частей: Чувствительным элементом является мембранная коробка 6 (две спаянные гофрированные мембраны). Среда подается внутрь через трубку 12 и штуцер 13. При раздувании коробки ее центр поднимается, толкая поводок 9. Поводок поворачивает Г-образный рычаг 7, закрепленный на упругой оси (плоской пружине) 10. Движение передается через тягу 14 на рычаг 1 и ось 4, поворачивая стрелку 5. Противовес 3 балансирует систему. Винт 11 позволяет смещать механизм для настройки «нуля».
3.4. Сильфонные приборы
Сильфоны (см. Рис. 2, з) изготавливаются методом гидроформовки из тонкостенных трубок. Они обладают значительным ходом и мощным усилием на выходе, что позволяет использовать их в самописцах без усилителей. Применяются для давлений до 400 кПа.
3.5. Дифференциальные манометры (Датчики перепада)
В современной автоматике критически важно измерять не просто давление, а перепад (например, загрязненность фильтра = давление до минус давление после). Для этого используются дифманометры (Рис. 5).

Рисунок 5. Устройство мембранного дифманометра с дифференциально-трансформаторным преобразователем:
1 – вялая мембрана; 2 – жесткий центр (шайба); 3 – железный сердечник (плунжер); 4 – настроечная гайка; 5 – пружина диапазона; 6 – дифференциально-трансформаторный преобразователь (катушки); 7 – нижняя пружина.
Принцип действия: Прибор имеет две камеры: «плюсовую» (высокое давление) и «минусовую» (низкое). Разделяет их мембрана 1 с жестким центром 2. Если \( P_1 > P_2 \), мембрана прогибается вниз, сжимая пружину 7 и растягивая пружину 5. Вместе с мембраной перемещается сердечник 3 внутри катушки трансформатора 6. Это нарушает магнитную симметрию, и на выходе катушек появляется электрический сигнал, пропорциональный смещению (и, следовательно, перепаду давления). Такие приборы выдают стандартный сигнал (например, 0-5 мА или 4-20 мА) в системы управления.
4. Электрические манометры: Эра электроники
Для интеграции в цифровые системы управления (АСУ ТП) механическое перемещение неудобно. Электрические датчики преобразуют давление напрямую в электрический параметр.
4.1. Тензометрические преобразователи (Strain Gauges)
Самый распространенный тип промышленных датчиков давления (Сапфир, Метран и др.). Работают на основе тензоэффекта — изменения активного сопротивления проводника или полупроводника при его деформации.
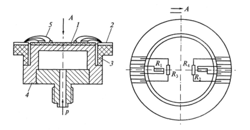
КНС-структуры (Кремний на Сапфире): На Рис. 6 показана классическая схема датчика «Сапфир».

Рисунок 6. Конструкция тензометрического манометра (КНС):
1 – сапфировая мембрана (пластина); 2 – контактные площадки (сборные пластинки); 3 – диэлектрическое основание; 4 – титановый корпус; 5 – золотые выводные провода; R1-R4 – тензорезисторы мостовой схемы.
На упругую пластину из искусственного сапфира 1, припаянную к титановому корпусу 4, методом эпитаксии нанесены кремниевые резисторы \( R1-R4 \). Сапфир — идеальный изолятор и абсолютно упругий материал (не имеет остаточной деформации до разрушения).
Под действием давления мембрана прогибается. Два резистора растягиваются (сопротивление растет), два — сжимаются (сопротивление падает). Резисторы включены в измерительный мост Уитстона. Разбаланс моста дает линейный сигнал напряжения.
- Преимущества: Высокая стабильность, малые габариты, работа в агрессивных средах, высокая чувствительность (тензочувствительность полупроводников в 50-80 раз выше, чем у проволоки).
4.2. Пьезоэлектрические датчики (Для быстропротекающих процессов)
Для измерения взрывов, пульсаций в двигателях внутреннего сгорания или ударов тензометры слишком инерционны. Здесь применяют пьезоэлектрики (кварц, титанат бария, керамика ЦТС).

Рисунок 7. Конструкция и вид пьезоэлектрического преобразователя:
а) Конструкция: 1 – крышка; 2, 4, 5 – токосъемные металлические прокладки; 3 – центральный проводник; 6 – соединительный штуцер; 7 – разделительная мембрана; 8, 9 – пьезоэлементы (таблетки); 10 – передающий шарик.
б) Общий вид датчика.
Физика процесса: При сжатии кристаллической решетки пьезоэлектрика происходит смещение центров положительных и отрицательных зарядов, возникает дипольный момент. На гранях кристалла появляются электрические заряды.
Измеряемое давление через мембрану 7 и шарик 10 (для центровки силы) давит на стопку пьезоэлементов 8 и 9. Заряд снимается с центральной прокладки 4 через проводник 3. Корпус является вторым электродом (землей).
Где \( k \) — пьезомодуль материала (Кл/Н).
5. Сравнительный анализ методов
| Метод измерения | Диапазон давлений | Точность (Класс) | Преимущества | Недостатки | Применение |
|---|---|---|---|---|---|
| Жидкостный | Низкий (до 0.1 МПа) | Высокая (эталон) | Стабильность, простота, дешевизна, наглядность. | Хрупкость, нет выхода на ПК, ртуть токсична, медленный отклик. | Лаборатории, поверка других приборов, вентиляция |
| Пружинный (Бурдон) | Средний/Высокий (до 1000 МПа) | Средняя (0.6 — 4.0) | Автономность (не нужно питание), широкий диапазон, надежность. | Наличие подвижных частей (износ), чувствительность к вибрации, гистерезис. | Теплоэнергетика, водоснабжение, газовое хозяйство |
| Мембранный | Низкий/Средний | Средняя | Стойкость к перегрузкам, возможность защиты покрытием | Меньшая точность по сравнению с кварцевыми | Химпром (агрессивные среды), вязкие жидкости |
| Тензометрический (КНС) | От вакуума до сверхвысоких | Очень высокая (0.1 — 0.5) | Малые размеры, выход 4-20 мА, вибростойкость, перегрузочная способность. | Требует внешнего питания и вторичной аппаратуры, выше стоимость. | АСУ ТП, нефтегазовая отрасль, авиация |
| Пьезоэлектрический | Высокий (быстропеременный) | Специфическая | Безынерционность, измерение процессов за микросекунды. | Не измеряет статику, требует усилителей заряда, дорогой кабель. | Испытания двигателей, баллистика, акустика |
6. Интересные факты о давлении
- Кровь и ртуть: В медицине давление до сих пор измеряют в миллиметрах ртутного столба (мм рт. ст.), хотя в СИ приняты Паскали. Это дань традиции первому ртутному тонометру Рива-Роччи.
- Марианская впадина: Давление на дне океана достигает 110 МПа (более 1000 атмосфер). Человек там был бы сплющен мгновенно, но глубоководные рыбы живут комфортно благодаря равенству внутреннего и внешнего давления.
- Алмазная наковальня: Самое высокое статическое давление в лаборатории получают, сжимая вещество между двумя алмазами — до 1000 ГПа (давление в центре Земли).
- Вакуум в космосе: Абсолютного вакуума не существует. Даже в межзвездном пространстве есть несколько атомов водорода на кубический сантиметр (давление около \( 10^{-14} \) Па).
- Магдебургские полушария: В 1654 году Отто фон Герике откачал воздух из двух сложенных полушарий. 16 лошадей не смогли их разорвать — такова сила атмосферного давления.
- Взрыв шампанского: Давление в бутылке шампанского при комнатной температуре составляет около 600-650 кПа (6 атмосфер) — это больше, чем в шине легкового автомобиля.
- Звук — это давление: То, что мы слышим, — это микроскопические пульсации давления воздуха. Болевой порог уха — это всего лишь 20 Па звукового давления.
7. Часто задаваемые вопросы (FAQ)
1. Почему манометры часто заполняют глицерином?
2. В чем разница между абсолютным и избыточным давлением?
3. Можно ли использовать кислородный манометр для масла?
4. Что такое класс точности манометра?
5. Как часто нужно поверять манометры?
Заключение
Измерение давления прошло долгий путь от хрупких стеклянных трубок Торричелли до надежных сапфировых сенсоров, способных работать в жерле вулкана или в открытом космосе. Современный инженер должен владеть всем арсеналом средств: знать, когда достаточно простого U-образного манометра, а где необходим быстродействующий пьезоэлектрический датчик. Правильный выбор метода измерения — это залог безопасности производства, точности учета ресурсов и качества конечной продукции.
Нормативная база
В Российской Федерации производство и поверка средств измерения давления строго регламентированы. При проектировании и эксплуатации необходимо руководствоваться действующими стандартами:
- ГОСТ 2405-88 — Манометры, вакуумметры, мановакуумметры, напоромеры, тягомеры и тягонапоромеры. Общие технические условия. (Основной стандарт для механических приборов).
- ГОСТ 8.271-77 — ГСИ. Манометры избыточного давления грузопоршневые. Методы и средства поверки.
- ГОСТ 22520-85 — Датчики давления, разрежения и разности давлений с электрическими аналоговыми выходными сигналами ГСП..
Список литературы
- Хансуваров К.И., Цейтлин В.Г. Техника измерения давления, расхода, количества и уровня жидкости, газа и пара. — М.: Издательство стандартов, 1990.
- Джексон П. Энциклопедия измерений. Датчики и приборы. — М.: Техносфера, 2021.
- Преображенский В.П. Теплотехнические измерения и приборы. — М.: Энергия, 1978.
