Содержание страницы
Электродвижущая сила (ЭДС) — это фундаментальная физическая величина, характеризующая способность внешних, неэлектростатических сил (известных как «сторонние силы») вызывать перемещение электрических зарядов внутри источника энергии, создавая таким образом разность потенциалов и поддерживая электрический ток в замкнутой цепи. По сути, ЭДС — это «насос» для зарядов в электрической цепи.
Исторически концепция ЭДС зародилась в работах Алессандро Вольта в конце XVIII века, который создал первый химический источник тока — «вольтов столб». Позднее Майкл Фарадей в 1831 году открыл явление электромагнитной индукции, показав, что изменяющееся магнитное поле также способно создавать (индуцировать) ЭДС, что легло в основу работы всех современных электромеханических генераторов.
Понятие сторонних сил и ЭДС
Источники электрической энергии, часто называемые генераторами, являются устройствами, основная функция которых — преобразование различных видов энергии в электрическую. Этот процесс может включать преобразование механической, световой, химической энергии, а также теплоты и других форм работы.
Сторонние силы
Для объяснения механизмов такого преобразования вводится понятие сторонних сил. Сторонняя сила — это любая сила, действующая на заряженную частицу, которая имеет неэлектромагнитную (некулоновскую) природу. Примерами процессов, порождающих такие силы, служат химические реакции в батареях, явление фотоэффекта в солнечных панелях или эффект Зеебека в термопарах.
Эти силы формируют поле сторонних сил, которое в каждой точке пространства можно охарактеризовать вектором напряженности поля \(E_{ст}\). Эта напряженность равна отношению сторонней силы \(F_{ст}\), действующей на пробный заряд \(Q\), помещенный в данную точку:
$$ E_{ст} = \frac{F_{ст}}{Q} $$
(1)
Важно отметить, что выражение (1) по форме аналогично выражению для напряженности \(E\) кулоновского электрического поля (\(E = F/Q\)). Однако их физическая природа кардинально различна: напряженность \(E\) порождается электрическими силами, а напряженность \(E_{ст}\) — силами иной, неэлектростатической природы.
Определение электродвижущей силы (ЭДС)
Электродвижущая сила (ЭДС), обозначаемая как \(e\) или \(\mathcal{E}\), — это скалярная величина, которая количественно характеризует работу сторонних сил по перемещению заряда. Она измеряет способность стороннего поля вызывать и поддерживать электрический ток.
Математически, ЭДС, действующая между двумя точками 1 и 2, определяется как линейный интеграл напряженности поля сторонних сил \(E_{ст}\) вдоль рассматриваемого пути:
$$ e = \int_{1}^{2} E_{ст} dl $$
(2)
В случае замкнутого контура, ЭДС равна циркуляции вектора \(E_{ст}\) по этому контуру. В отличие от электростатического поля (которое является потенциальным и его циркуляция всегда равна нулю), поле сторонних сил является вихревым:
$$ e = \oint E_{ст} dl \neq 0 $$
(3)
Единицей измерения ЭДС в Международной системе единиц (СИ), так же как и для напряжения или разности потенциалов, является вольт (В). Стандарты и определения основных электрических единиц, включая вольт, регламентируются ГОСТ 8.417-2002 «Государственная система обеспечения единства измерений. Единицы величин».
Примеры источников электрической энергии
Рассмотрим механизмы функционирования нескольких распространенных типов источников (генераторов) ЭДС.
1. Гальванический источник (Химический)
Гальванический источник — это устройство, предназначенное для прямого преобразования энергии химических реакций в электрическую энергию. Классический пример — элемент Вольта, состоящий из двух электродов из разных металлов (например, меди Cu и цинка Zn), погруженных в раствор электролита (например, серной кислоты).

Рисунок 1. Схема гальванического источника ЭДС. На рисунке показаны электроды (Cu и Zn), электролит, возникающие поля \(E_{ст}\) (стороннее) и \(E\) (электрическое), а также напряжение \(U\) и расстояние \(l\).
Внутри элемента протекают сложные окислительно-восстановительные реакции. В данном случае сторонние силы, обусловленные химическим взаимодействием, вызывают переход положительных ионов цинка в раствор. Вследствие этого на цинковом электроде (Zn) накапливается избыточный отрицательный заряд (электроны), а медный электрод (Cu) теряет отрицательные заряды, становясь положительно заряженным.
Это разделение зарядов происходит благодаря полю сторонних сил \(E_{ст}\), которое и обусловливает возникновение ЭДС \(e\), примерно равной \(E_{ст}l\), где \(l\) — расстояние между электродами. Накопленные на электродах заряды создают внутреннее электрическое поле \(E\), направленное против стороннего поля (\(E = -E_{ст}\)). Между электродами возникает напряжение \(U\), которое в режиме холостого хода (без нагрузки) равно ЭДС (\(U = e\)). При подключении внешней нагрузки \(R_{н}\) в цепи возникает электрический ток \(I\). По такому принципу работают все первичные элементы питания (батарейки).
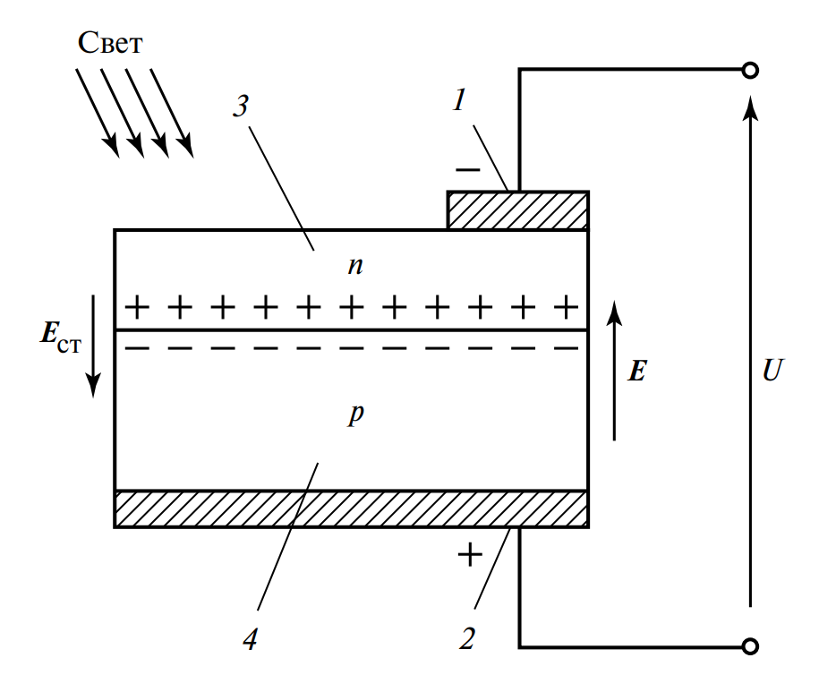
2. Фотоэлектрический источник (Фотоэлемент)
Фотоэлемент — это полупроводниковое устройство, преобразующее энергию света (фотонов) непосредственно в электрическую энергию. Его работа основана на явлении внутреннего фотоэффекта в p-n переходе.

Рисунок 2. Устройство фотоэлектрического источника ЭДС. Показаны электроды 1 и 2, полупроводники n-типа (3) и p-типа (4), направление света, а также поля \(E_{ст}\) и \(E\).
Устройство состоит из двух электродов (1 и 2), между которыми находится структура из двух типов полупроводников: n-типа (3) с основными носителями заряда — электронами, и p-типа (4) с основными носителями — «дырками».
При попадании квантов света (фотонов) на p-n переход, их энергия (выступающая в роли сторонней силы) поглощается, что приводит к генерации новых пар носителей заряда (электрон-дырка). Внутреннее электрическое поле p-n перехода (которое в данной модели выполняет функцию поля \(E_{ст}\)) мгновенно разделяет эти пары: электроны «стягиваются» в n-область, а дырки — в p-область. Вблизи границы полупроводников (в пограничном слое) происходит пространственное перераспределение зарядов: в полупроводнике n-типа (3) накапливается положительный заряд, а в полупроводнике p-типа (4) — отрицательный.
Таким образом, возникает ЭДС \(e\), приблизительно равная \(E_{ст}S\), где \(S\) — ширина пограничного слоя. Между электродами 1 и 2 появляется напряжение \(U = e\). Это напряжение, в свою очередь, создает электрическое поле \(E = -E_{ст}\), встречное полю сторонних сил. При подключении внешней нагрузки \(R_{н}\) в цепи протекает фототок \(I\).
3. Термоэлектрический генератор (Термопара)
Термопара — это устройство, состоящее из двух проводников (1 и 2), изготовленных из разных металлов или сплавов, которые соединены (спаяны) в одной точке А. Оно предназначено для преобразования тепловой энергии в электрическую на основе эффекта Зеебека.

Рисунок 3. Принцип работы термоэлектрического генератора (термопары). Показаны два разных проводника 1 и 2, спай А при температуре \(T\), свободные концы при температуре \(T_0\) и вольтметр V, измеряющий ЭДС \(e\).
Принцип действия основан на том, что разные металлы и сплавы имеют различную концентрацию свободных электронов и, как следствие, разное «электронное давление», которое также зависит от температуры. Если место спая А нагреть до температуры \(T\), а свободные концы проводников 1 и 2 поддерживать при другой, неизменной температуре \(T_0\), то возникает разность потенциалов — термоЭДС.
Эта термоЭДС \(e\) является функцией разности температур и материалов проводников: \(e = F(T) — F(T_0)\), где \(F\) — некоторая функция, характеризующая материал. Значение термоЭДС обычно невелико (доли вольта), но его достаточно для практического применения. Чаще всего термопары используются в пирометрах — приборах для измерения температуры. В таких устройствах измерительный прибор (вольтметр V), откалиброванный с учетом функции \(F\) и известной температуры «холодных» концов \(T_0\), по значению измеренной ЭДС \(e\) однозначно определяет температуру «горячего» спая \(T\).
Сравнительная характеристика источников ЭДС
Для наглядности сведем рассмотренные типы источников в сравнительную таблицу, добавив их основные преимущества и недостатки.
| Тип источника | Принцип преобразования | Первичная энергия | Преимущества | Недостатки |
|---|---|---|---|---|
| Гальванический элемент | Химическая реакция (Окислительно-восстановительная) | Химическая | * Высокая портативность * Стабильное напряжение (до разряда) * Простота использования |
* Ограниченный срок службы (одноразовые) * Экологическая опасность (утилизация) * Зависимость характеристик от температуры |
| Фотоэлемент | Внутренний фотоэффект (p-n переход) | Световая (солнечная) | * Экологическая чистота * Длительный срок службы * Низкие эксплуатационные расходы |
* Зависимость от освещенности и погоды * Относительно низкий КПД * Высокая начальная стоимость |
| Термопара | Эффект Зеебека (Термоэлектрический) | Тепловая | * Очень высокая надежность и прочность * Широчайший диапазон рабочих температур * Простота конструкции |
* Очень низкая генерируемая ЭДС * Низкий КПД (при использовании для генерации) * Необходимость в стабильной «холодной» точке для измерений |
Интересные факты по теме
-
- ЭДС — это не «сила»: Несмотря на название, ЭДС — это не сила в ньютоновском смысле (измеряемая в ньютонах), а характеристика работы по перемещению заряда, измеряемая в вольтах (джоуль на кулон).
- Биологическая ЭДС: Некоторые живые организмы, например, электрические угри, генерируют ЭДС с помощью специализированных клеток (электроцитов). Они используют химическую энергию (из АТФ) для создания разности потенциалов до 600-800 вольт.
- Противо-ЭДС: При работе электродвигателя в его обмотках индуцируется ЭДС, направленная против приложенного напряжения. Эта «противо-ЭДС» ограничивает ток и является основой преобразования электрической энергии в механическую.
- Индукционная ЭДС: Любое изменение магнитного потока через замкнутый контур (согласно закону Фарадея) наводит в нем ЭДС. На этом принципе работают не только генераторы, но и трансформаторы, и индукционные плиты.
- Пьезо-ЭДС: Пьезоэлектрические материалы (например, кристаллы кварца) генерируют ЭДС при механической деформации (сжатии или растяжении). Это используется в зажигалках, датчиках давления и микрофонах.
- ЭДС измеряется вольтметром в режиме холостого хода:
Чтобы измерить «чистую» ЭДС источника (например, батарейки), вольтметр подключают напрямую к его клеммам, когда к источнику не подключена никакая другая нагрузка (лапочка, мотор и т.д.). В этот момент ток почти не течет (ток ограничен только очень высоким внутренним сопротивлением самого вольтметра), падение напряжения внутри источника равно нулю, и прибор показывает максимальное возможное напряжение, равное ЭДС. - ЭДС определяет полную мощность источника:
Полная мощность, которую развивает источник тока, равна произведению его ЭДС (\(e\)) на ток (\(I\)), который он отдает в цепь: \(P_{полн} = e \cdot I\). Эта мощность расходуется на две части: полезную мощность (\(P_{полезн}\)), выделяемую на внешней нагрузке, и мощность потерь (\(P_{внутр}\)), которая рассеивается в виде тепла на внутреннем сопротивлении самого источника.
Часто задаваемые вопросы (FAQ)
1. В чем разница между ЭДС и напряжением (разностью потенциалов)?
Ответ: ЭДС — это работа сторонних (неэлектрических) сил по перемещению единичного заряда внутри источника. Напряжение (или разность потенциалов) — это работа электрического (кулоновского) поля по перемещению заряда на участке цепи. Внутри источника ЭДС «борется» с внутренним падением напряжения. На клеммах разомкнутого (без нагрузки) идеального источника напряжение равно его ЭДС. При подключении нагрузки напряжение на клеммах всегда *меньше* ЭДС на величину падения напряжения на внутреннем сопротивлении источника (\(U = e — I \cdot r\)).
2. Может ли ЭДС существовать без электрического тока?
Ответ: Да. ЭДС — это характеристика самого источника, его «готовность» совершать работу. Батарейка, лежащая на полке (с разомкнутой цепью), обладает ЭДС, но ток не течет, так как цепь не замкнута. Как только цепь замыкается, ЭДС начинает «проталкивать» заряды, создавая ток.
3. Что такое «внутреннее сопротивление» источника?
Ответ: Любой реальный источник (батарея, генератор) обладает внутренним сопротивлением (\(r\)). Это физическое сопротивление материалов, из которых он изготовлен (электролит, обмотки и т.д.). При протекании тока через источник часть энергии, сообщаемой ЭДС, теряется внутри самого источника, выделяясь в виде тепла. Это и есть «падение напряжения» (\(I \cdot r\)) внутри источника.
4. Является ли напряжение «1.5В» на батарейке ее ЭДС?
Ответ: Да, это значение (например, 1.5 В для AA-батарейки) является номинальной ЭДС. Это напряжение, которое вы измерите на клеммах новой батарейки, когда к ней ничего не подключено (в режиме холостого хода). Как только вы подключите нагрузку (например, лампочку), реальное напряжение на клеммах станет немного меньше 1.5 В из-за внутреннего сопротивления.
5. Какие еще существуют типы источников ЭДС?
Ответ: Помимо рассмотренных, существует множество других. Например, электромеханические генераторы (на которых работают ГЭС, АЭС, ТЭС), преобразующие механическую энергию вращения в электрическую (ЭДС индукции). Пьезоэлектрические источники (преобразуют механическое давление). Магнитогидродинамические (МГД) генераторы (преобразуют энергию движущейся плазмы в магнитном поле).
Заключение
Рассмотренные примеры — гальванический, фотоэлектрический и термоэлектрический — наглядно показывают, насколько различными могут быть физические принципы, лежащие в основе работы источников (генераторов) электрической энергии. Каждый из них использует свой тип сторонних сил для преобразования неэлектрической энергии в электрическую.
В современной теории электрических цепей и электротехнике важно уметь абстрагироваться от конкретного устройства источника. Для анализа сложных систем любой реальный источник ЭДС (будь то батарея, термопара или солнечная панель) представляется в виде универсальной схемы замещения. Обычно она состоит из идеального источника ЭДС \(e\), включенного последовательно с его внутренним сопротивлением \(r\). Такой подход позволяет точно оценивать режимы работы источников и энергетическую эффективность их функционирования.
Нормативная база
При проектировании, эксплуатации и измерении параметров источников ЭДС и электрических цепей руководствуются следующими стандартами:
- ГОСТ 8.417-2002 «Государственная система обеспечения единства измерений. Единицы величин» (Устанавливает основные единицы СИ, включая Вольт).
- ГОСТ Р МЭК 60086-1-2010 «Батареи первичные. Часть 1. Общие требования» (Регламентирует характеристики и безопасность гальванических элементов).
- ГОСТ Р 51594-2000 «Нетрадиционная энергетика. Солнечная энергетика. Термины и определения» (Стандарт на фотоэлектрические источники).
- ГОСТ Р 8.585-2001 «Государственная система обеспечения единства измерений. Термопары. Номинальные статические характеристики преобразования» (Определяет характеристики промышленных термопар).
Список рекомендуемой литературы
- Бессонов Л. А. Теоретические основы электротехники (ТОЭ). Электрические цепи. — М.: Гардарики, 2007.
- Калашников С. Г. Электричество. — М.: Физматлит, 2003.
- Зевеке Г. В., Ионкин П. А., Нетушил А. В. Основы теории цепей. — М.: Энергоатомиздат, 1989.
