Содержание страницы
Акселерометр — это прибор, измеряющий проекцию кажущегося ускорения (разность между истинным ускорением объекта и гравитационным ускорением). Простыми словами, это датчик, который чувствует не только изменение скорости движения, но и наклон относительно гравитационного поля Земли.
История: История акселерометров началась задолго до эпохи смартфонов. Первые механические устройства появились в 19 веке для анализа движения поездов. Настоящий прорыв произошел в середине 20 века с развитием ракетной техники (Фау-2) и инерциальной навигации для авиации. В 21 веке технология MEMS (микроэлектромеханические системы) позволила уменьшить этот прибор до размеров песчинки, что сделало возможным его внедрение в каждый телефон, автомобиль и фитнес-браслет.

1. Физические основы и методы измерения
Ускорения, встречающиеся на практике в инженерных и научных задачах, могут быть двух основных типов: линейные (изменение скорости движения по прямой) и угловые (изменение скорости вращения). Приборы, предназначенные для измерения этих величин, называются акселерометрами.
Cправка: Важно понимать фундаментальную физику процесса. Работа любого акселерометра базируется на втором законе Ньютона:
где \( F \) — инерционная сила, \( m \) — известная инерционная масса, а \( a \) — искомое ускорение. Прибор по сути измеряет силу реакции массы на ускорение корпуса.
Для измерения линейных ускорений в современной измерительной технике применяются три фундаментальных подхода:
- Инерциальный метод: Прямое измерение силы инерции. Это наиболее распространенный и точный метод.
- Метод дифференцирования скорости: Математическое вычисление ускорения как первой производной скорости \( a = \frac{dv}{dt} \).
- Метод двухкратного дифференцирования расстояния: Вычисление ускорения как второй производной перемещения \( a = \frac{d^2x}{dt^2} \).
2. Классификация и устройство акселерометров
Рассмотрим детально устройство и принципы работы различных типов акселерометров, использующих инерциальный метод. Основными конструктивными элементами любых акселерометров являются подвесы инерционных масс, преобразователи механического перемещения в электрический сигнал, моментные (силовые) устройства обратной связи, усилители сигналов и демпферы (гасители колебаний).
2.1. Компенсационный акселерометр (Инерциальный метод)
Инерциальный метод основан на прямом измерении силы, развиваемой инерционной массой при ее движении с ускорением. Принцип действия иллюстрируется на схеме ниже.

Рис. 1. Средства измерения ускорений: Схема акселерометра компенсационного типа.
Рассмотрим детально конструкцию на Рис. 1. Инерционная масса 1 механически связана с корпусом прибора 4 посредством упругой пружины 2 и демпфирующего элемента (демпфера) 5. Вся эта система имеет возможность перемещаться вдоль оси 7, которая является осью чувствительности датчика.
При возникновении ускорения происходит следующее:
Перемещение инерционной массы, которое прямо пропорционально измеряемому ускорению, фиксируется и преобразуется с помощью датчика положения (преобразователя) 6. Этот преобразователь может быть резистивным, индуктивным или емкостным. Полученный слабый электрический сигнал поступает в усилитель У. После усиления сигнал подается на катушку силового электромагнита 3. Этот электромагнит создает компенсирующее усилие \( F \), которое стремится вернуть массу в исходное положение, уравновешивая инерционную силу \( F_{max} \). Ток в катушке электромагнита и является мерой ускорения.
2.2. Жидкостные и маятниковые акселерометры
Для повышения точности инженерам приходится решать задачу снижения трения в опорах. Основные требования к подвесам: минимальные потери, высокая линейность и отсутствие гистерезиса.

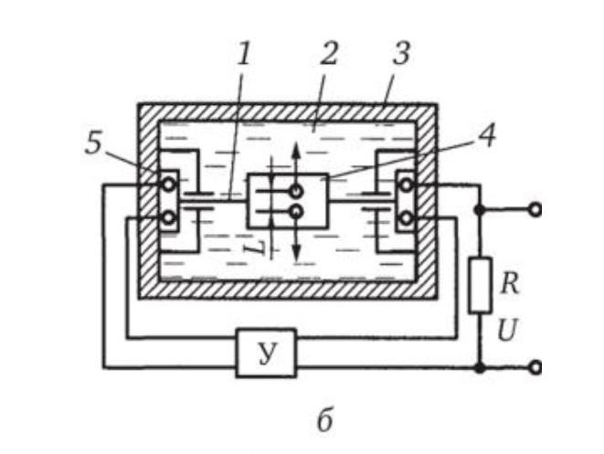
Рис. 2. Схема маятникового жидкостного акселерометра.
В маятниковых акселерометрах (см. Рис. 2) чувствительный элемент 4 (часто выполненный в виде поплавка) полностью погружен в специальную демпфирующую жидкость 2, которая заключена в герметичном корпусе 3.
В чем хитрость? Жидкость выполняет две функции:
1. Демпфирование: гасит паразитные высокочастотные колебания.
2. Разгрузка опор: за счет силы Архимеда вес чувствительного элемента компенсируется, трение в подвеске 1 сводится практически к нулю.
При воздействии ускорения чувствительный элемент отклоняется. Сигнал с чувствительного элемента снимается преобразователем 5 и подается на усилитель У. С выхода усилителя управляющий сигнал поступает на моментный двигатель, который развивает противодействующий момент, строго зависящий от величины ускорения.
2.3. Струнные акселерометры
Это особый класс приборов, где выходным сигналом является не уровень напряжения, а частота. Это дает огромное преимущество при передаче данных на большие расстояния, так как частотный сигнал не подвержен затуханию и помехам так, как аналоговый.

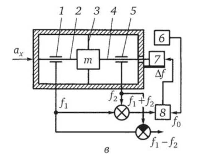
Рис. 3. Схема струнного акселерометра дифференциального типа.
В акселерометрах со струнными преобразователями 1 и 5 (см. Рис. 3) используется принцип изменения собственной частоты колебания струны при изменении её натяжения. При смещении инерционной массы \( m \) под действием ускорения меняются упругие свойства и натяжение струн 2 и 4, которые натянуты вдоль оси чувствительности.
Упругий подвес 3 строго ограничивает движение массы \( m \), исключая её перемещение в поперечном направлении (что могло бы внести ошибку). Для стабильности работы сумма частот колебаний обеих струн (2 и 4) поддерживается постоянной с помощью автоматического регулирующего устройства 8. Для этого текущая частота сравнивается с высокостабильной эталонной частотой от генератора 6. Разностный сигнал (биения частот) используется для управления механизмом 7 натяжения струн.
2.4. Волоконно-оптические акселерометры
Наиболее современные и помехозащищенные датчики для работы в условиях сильных электромагнитных полей. Акселерометр с волоконно-оптическим измерительным преобразователем основан на физическом эффекте фотоупругости.

Рис. 4. Схема акселерометра с волоконно-оптическим преобразователем.
Некоторые оптически прозрачные материалы (например, эпоксидные смолы, нитрат лития) меняют свои оптические свойства (показатель преломления) при механическом деформировании. На Рис. 4 показана схема такого устройства.
Источник когерентного света 1 (чаще всего полупроводниковый лазер) испускает луч, который, проходя через фокусирующую линзу 3 и поляризатор 4, попадает на активный элемент — стержень из фотоупругого материала 5. Этот стержень изменяет свое внутреннее механическое напряженное состояние в зависимости от давления, оказываемого на него грузом акселерометра 2 при ускорении.
В результате прохождения через напряженный материал меняется поляризация света. Преобразуя этот измененный световой сигнал с помощью четвертьволновой фазовой пластины 6, анализатора 7 и выходной линзы 8, система направляет его по гибкому волоконному светопроводу 9 на приемник излучения (фотодиод) 10. Интенсивность или фаза света на выходе позволяет определить величину ускорения с достаточно высокой точностью.
3. Сравнительный анализ технологий
Чтобы студенту было проще выбрать подходящий тип датчика для конкретной задачи, сведем характеристики в таблицу.
| Тип акселерометра | Принцип действия | Преимущества | Недостатки | Область применения |
|---|---|---|---|---|
| Компенсационный (Серво) | Удержание массы силой электромагнита (обратная связь) | Высочайшая точность, широкий динамический диапазон, стабильность. | Сложная электроника, высокая стоимость, габариты. | Инерциальная навигация судов, самолетов, геодезия. |
| Струнный | Изменение частоты колебания натянутой струны | Частотный выход (помехоустойчивость), цифровая совместимость. | Чувствительность к вибрациям поперек оси, сложность изготовления. | Системы управления, где важна передача сигнала на расстояние. |
| Пьезоэлектрический | Прямой пьезоэффект (заряд при сжатии кристалла) | Простота, надежность, работа на высоких частотах. | Не измеряет постоянное ускорение (статику, g), только динамику. | Вибродиагностика машин, краш-тесты. |
| Оптический (Волоконный) | Фотоупругость, интерферометрия | Полная нечувствительность к электромагнитным помехам (EMI), взрывобезопасность. | Сложная оптическая схема, температурная зависимость оптики. | Мониторинг нефтяных скважин, трансформаторов, опасных производств. |
| MEMS (Емкостной) | Изменение емкости микроконденсатора на чипе | Микроскопический размер, низкая цена, массовое производство. | Меньшая точность по сравнению с прецизионными серво-датчиками, высокий шум. | Смартфоны, автомобильные подушки безопасности, дроны. |
4. Интересные факты об ускорении
- Биология: В ухе человека есть встроенный акселерометр — отолитовый аппарат. Крошечные камешки (отолиты) давят на волоски, сообщая мозгу, где «верх», а где «низ», и как быстро мы разгоняемся.
- Гравиметрия: Сверхточные акселерометры могут найти залежи нефти или пустоты под землей, просто измеряя крошечные изменения в ускорении свободного падения \( g \).
- Защита данных: В ноутбуках с HDD акселерометры парковали головки диска в полете при падении еще до удара об пол, спасая данные.
- Эйнштейн: Принцип эквивалентности Эйнштейна гласит, что находясь в закрытой комнате, невозможно отличить гравитацию Земли от ускорения ракеты в 9.8 м/с² в космосе. Акселерометры подтверждают это.
- Космос: На МКС акселерометры настолько чувствительны, что фиксируют вибрацию от работы вентиляторов системы жизнеобеспечения.
- Смартфоны: Функция поворота экрана работает благодаря MEMS-акселерометру, который постоянно отслеживает вектор гравитации.
- Зоология: Ученые крепят миниатюрные акселерометры на акул и гепардов, чтобы изучать энергетику их охоты с точностью до каждого движения мышц.
5. FAQ: Часто задаваемые вопросы
Да, но косвенно. Для получения скорости нужно интегрировать сигнал ускорения по времени (\( v = \int a dt \)). Однако при этом накапливается ошибка (дрейф), поэтому для точной навигации на долгие периоды одних акселерометров недостаточно — нужна коррекция (например, по GPS).
Это единица измерения, равная ускорению свободного падения Земли (\( \approx 9.81 \, м/с^2 \)). Если датчик имеет диапазон ±16g, он может измерить перегрузку, в 16 раз превышающую силу тяжести.
Пьезоэлектрический эффект возникает только при изменении механического напряжения. Постоянная сила тяжести создает постоянный заряд, который «стекает» через входное сопротивление усилителя. Поэтому они видят только вибрацию и удары.
Самый простой способ — метод «переворота». Датчик кладут осью вверх (+1g), потом вниз (-1g). Разница показаний должна соответствовать 2g. Для динамической калибровки используют вибростенды с эталонными лазерными виброметрами.
Акселерометр измеряет линейное ускорение (сдвиг), а гироскоп — угловую скорость (вращение). В современных системах они работают в паре (IMU — инерциальный измерительный модуль).
Заключение
Акселерометры прошли долгий путь эволюции от громоздких механических систем с пружинами и маслом до нанотехнологичных кристаллов кремния. Сегодня без этих устройств немыслима ни современная промышленность, где они следят за «здоровьем» станков, ни потребительская электроника, ни аэрокосмическая отрасль. Понимание физических принципов их работы — инерции, резонанса струн или фотоупругости — является ключевым навыком для инженера-разработчика систем управления и автоматики.
Нормативная база
При работе с акселерометрами в РФ следует руководствоваться следующими стандартами:
-
- ГОСТ 18955-73 «Акселерометры низкочастотные линейные. Термины и определения».
- ГОСТ ИСО 16063-1-2013 «Вибрация. Методы калибровки датчиков вибрации и удара. Часть 1. Основные положения».
- ГОСТ Р 8.669-2009 «ГСИ. Виброметры с пьезоэлектрическими, индукционными и вихретоковыми вибропреобразователями. Методика поверки».
- ГОСТ ISO 5348-2002 «Вибрация и удар. Механическое крепление акселерометров».
Список рекомендуемой литературы
- Фрайден Дж. «Современные датчики. Справочник». — Москва: Техносфера, 2005. — 592 с.
- Распопов В.Я. «Микромеханические приборы: учебное пособие». — Тула: Тульский государственный университет, 2007.
Матвеев В.В., Распопов В.Я. «Основы построения бесплатформенных инерциальных навигационных систем». — Санкт-Петербург: ГНЦ РФ ЦНИИ «Электроприбор», 2009.
