Содержание страницы
- 1. Физические основы работы генератора
- 2. Особенности реальной конструкции (Ротор и Статор)
- 3. Cравнительный анализ: Синхронные генераторы vs Машины постоянного тока
- 4. Преимущества и недостатки генераторов переменного тока
- 5. Семь интересных фактов об электрогенераторах
- 6. FAQ: Часто задаваемые вопросы
- Заключение
Генератор переменного тока (синхронная машина) — это электромеханическое устройство, преобразующее механическую энергию вращения в электрическую энергию переменного тока.
1. Физические основы работы генератора
Принцип действия генератора переменного тока базируется на фундаментальном физическом явлении — электромагнитной индукции. Суть явления заключается в возникновении электродвижущей силы (ЭДС) в проводнике, находящемся в изменяющемся магнитном поле или движущемся в нем.
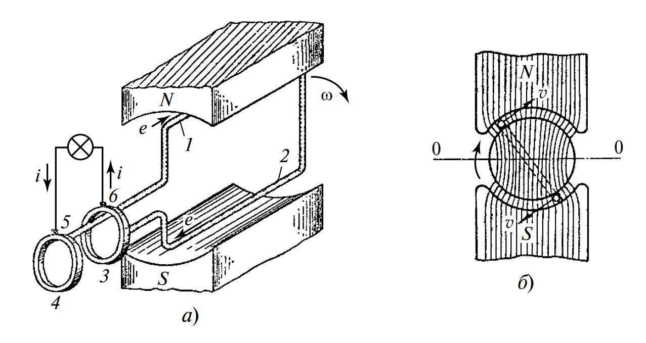
Рассмотрим простейшую модель. Поместим в однородное магнитное поле, образованное между полюсами N—S (Север—Юг), рамку, состоящую из двух активных проводников 1 и 2. Под действием внешней механической силы (например, от турбины) рамку вращают с постоянной угловой частотой \(\omega\) (см. Рисунок 1, а).
Для обеспечения электрического контакта с вращающейся рамкой, её концы соединены с контактными кольцами 3, 4. По этим кольцам скользят неподвижные графитовые щетки 5, 6, снимающие напряжение во внешнюю цепь.

1, 2 — проводники; 3, 4 — контактные кольца; 5, 6 — щетки.
Математическое описание процесса
В проводниках 1 и 2, которые пересекают силовые линии магнитного поля, возникает ЭДС электромагнитной индукции \(e\). Мгновенное значение этой ЭДС можно найти из фундаментального выражения:
Где:
- \(B\) — магнитная индукция (Тесла);
- \(v\) — линейная скорость движения проводника (м/с);
- \(l\) — активная длина проводника (м);
- \(\alpha\) — угол между вектором магнитной индукции \(\mathbf{B}\) и вектором скорости \(\mathbf{v}\).

Если ладонь правой руки расположить так, чтобы в нее входили силовые линии магнитного поля (от N к S), а отогнутый большой палец направить по движению проводника \(v\), то вытянутые четыре пальца укажут направление индукционного тока.
На Рисунке 1 (а) направления ЭДС \(e\) в проводниках 1 и 2 указаны стрелками. Если к щеткам подключить нагрузку (например, лампочку), цепь станет замкнутой, и в ней начнет протекать электрический ток \(i\), направление которого совпадает с направлением ЭДС.
Генерация синусоидального тока
В формуле для ЭДС угол \(\alpha\) является углом между вектором индукции \(B\) и вектором скорости проводника \(v\). Вектор скорости \(v\) всегда направлен по касательной к траектории вращения (определяется угловой скоростью \(\omega\)). Выражение \(v \sin \alpha\) представляет собой нормальную проекцию скорости, перпендикулярную линиям индукции \(B\).
При равномерном вращении рамки с угловой скоростью \(\omega\) угол \(\alpha\) изменяется во времени по линейному закону: \(\alpha = \omega t\). Подставив это в исходное уравнение, получаем зависимость ЭДС от времени:
Здесь \(E_m = Bvl\) — это амплитуда ЭДС (максимальное значение напряжения). Именно так механическое вращение преобразуется в гармонический (синусоидальный) переменный ток.

Рассмотрим диаграмму на Рисунке 2 подробнее, так как она является ключом к пониманию природы переменного тока:
- Точка A (\(0^\circ\)) и E (\(180^\circ\)): Проводник движется параллельно магнитным силовым линиям. Пересечения линий не происходит, поэтому ЭДС равна нулю (\(e = 0\)).
- Точка C (\(90^\circ\)): Проводник пересекает силовые линии строго перпендикулярно. В этот момент скорость изменения магнитного потока максимальна, следовательно, генерируется пиковое положительное напряжение (\(+E_{max}\)).
- Точка G (\(270^\circ\)): Проводник снова пересекает линии перпендикулярно, но уже двигаясь в обратном направлении относительно поля (снизу вверх). Возникает пиковое отрицательное напряжение (\(-E_{max}\)).
- Промежуточные точки (B, D, F, H): Проводник пересекает поле под углом. Значение ЭДС в эти моменты соответствует проекции вектора скорости, что и формирует плавный изгиб синусоиды.
2. Особенности реальной конструкции (Ротор и Статор)
В реальных промышленных машинах конструкция сложнее, чем простая рамка. Проводники рамки 1, 2 называются активными сторонами, так как именно в них наводится полезная ЭДС.
В схеме на Рисунке 1 (а) существует проблема: в большом воздушном зазоре трудно создать мощное и однородное магнитное поле. Поэтому в реальной конструкции внутрь магнитного поля помещают барабан (ротор), изготовленный из ферромагнитного материала (см. Рисунок 1, б).
- Ротор содержит пазы, в которые укладывают проводники обмотки.
- Ферромагнитный сердечник обладает высокой магнитной проницаемостью (\(\mu\)), что концентрирует магнитные линии.
Ферромагнитный ротор делает магнитное поле в зазоре более «плотным» и однородным. Благодаря этому проводники (активные стороны) вращаются в равномерном сильном поле, эффективно индуцируя ЭДС \(e = E_m \sin \omega t\).

Рис. 3 наглядно демонстрирует прямую зависимость между механическим движением и параметрами тока. Один полный оборот ротора (360°) соответствует одному полному циклу синусоиды напряжения. Именно поэтому для поддержания стандартной частоты сети 50 Гц турбины электростанций должны вращаться со строго определенной скоростью (синхронной скоростью).
3. Cравнительный анализ: Синхронные генераторы vs Машины постоянного тока
Для наглядного понимания ключевых конструктивных различий между генераторами переменного и постоянного тока, обратимся к схематическим изображениям на Рис. 4. На левой части рисунка представлен генератор переменного тока, а на правой — генератор постоянного тока. Оба демонстрируют базовый принцип индукции, но имеют принципиально разные узлы токосъема и коммутации, влияющие на тип выходного тока.

3.1. Архитектурные различия
Главный конструктивный нюанс: в мощных машинах переменного и постоянного тока функции статора и ротора инвертированы (поменяны местами).
- В генераторе переменного тока: Мощная силовая обмотка (якорь), в которой наводится высокое напряжение, расположена неподвижно на статоре. Это позволяет легко изолировать её и отводить огромные токи без скользящих контактов. Вращается лишь сравнительно маломощный электромагнит (индуктор), или, как в случае с малыми генераторами на рисунке, вращается сама проволочная катушка в неподвижном магнитном поле.
- В машине постоянного тока: Силовая обмотка (якорь) всегда вращается (расположена на роторе). Это вынужденная мера, необходимая для работы механического выпрямителя — коллектора. Статор же выполняет роль неподвижного индуктора.
3.2. Сводная таблица технических характеристик
Ниже представлен детальный сравнительный анализ, охватывающий эксплуатационные и физические параметры.
| Параметр сравнения | Генератор переменного тока (Синхронный) | Машина постоянного тока (ДПТ/ГПТ) |
|---|---|---|
| 1. Узел токосъема и коммутации | Контактные кольца (Slip rings), как показано на рисунке. Сплошные кольца из стали или латуни. Служат только для подачи небольшого тока возбуждения на ротор (в мощных генераторах) или для отвода тока от вращающейся обмотки (как на рисунке). Искрение отсутствует или минимально. Высокая надежность. | Коллектор (Commutator), как показано на рисунке. Сложный узел из множества изолированных медных пластин («ламелей»). Выполняет роль механического выпрямителя (инвертора). Склонен к сильному искрению (коммутационный огонь) и требует частой проточки. |
| 2. Род тока (Внутренний vs Внешний) | В обмотке якоря: Переменный. На выходе клемм: Переменный синусоидальный (50/60 Гц). |
В обмотке якоря: Переменный! (Внутри витков ток всегда переменный). На выходе клемм: Постоянный (с пульсациями), благодаря выпрямляющему действию коллектора. |
| 3. Магнитное поле в зазоре | Вращающееся магнитное поле. Поле индуктора вращается механически вместе с ротором. Поле реакции якоря вращается синхронно с ним. | Неподвижное магнитное поле. Поле главных полюсов статично в пространстве. Поле реакции якоря также неподвижно относительно статора (прижато щетками к геометрической нейтрали). |
| 4. Ограничение по напряжению | Очень высокое (до 24-30 кВ). Так как силовая обмотка неподвижна, её изоляцию можно сделать толстой и надежной, не боясь центробежных сил. | Низкое и среднее (обычно до 1.5 кВ, редко до 3 кВ). Высокое напряжение между соседними пластинами коллектора приведет к круговому огню (дуговому пробою) по поверхности коллектора. |
| 5. Жесткость характеристики (Скорость) | Абсолютно жесткая. Скорость вращения жестко привязана к частоте сети формулой \( n = \frac{60f}{p} \). Под нагрузкой скорость не меняется (пока не выпадет из синхронизма). | Мягкая / Регулируемая. Скорость зависит от нагрузки, напряжения якоря и тока возбуждения. Легко поддается плавному регулированию в широком диапазоне. |
| 6. Основное применение | Генерация энергии: ГЭС, АЭС, ТЭЦ, ветряки, автомобильные генераторы. (99% всей электроэнергии в мире вырабатывается ими). | Тяговый привод и точное управление: Электрички, трамваи, станки, прокатные станы, краны, стартеры ДВС. (Там, где нужен огромный пусковой момент). |
3.3. Проблема коммутации в машинах постоянного тока
В генераторе переменного тока (см. рисунок, левая часть) щетки скользят по сплошному кольцу. Ток течет непрерывно, не прерываясь.
В машине постоянного тока (см. рисунок, правая часть) щетка при вращении коллектора постоянно переходит с одной пластины на другую, замыкая и размыкая секции обмотки. В этот момент в коммутируемой секции возникает ЭДС самоиндукции (реактивная ЭДС):
Так как время коммутации \( dt \) очень мало, значение \( e_L \) получается большим, что приводит к пробою воздушного промежутка под сбегающим краем щетки — возникает искра. Именно эта физическая особенность ограничивает мощность и скорость вращения машин постоянного тока, делая генераторы переменного тока безальтернативными для большой энергетики.
4. Преимущества и недостатки генераторов переменного тока
Преимущества
- Простота конструкции: Отсутствие сложного коллекторного узла делает их более надежными.
- Высокое напряжение: Возможность генерировать высокие напряжения (до 24 кВ и выше) без риска пробоя коллектора.
- Трансформация: Переменный ток легко трансформировать (повышать/понижать) с помощью трансформаторов для передачи на большие расстояния.
- Ресурс: Щетки на контактных кольцах изнашиваются значительно медленнее, чем на коллекторе.
Недостатки
- Необходимость синхронизации: При включении в сеть требуется точное совпадение частоты и фазы.
- Реактивная мощность: Потребление или генерация реактивной мощности, что требует компенсации в сетях.
- Опасность для человека: Переменный ток определенных частот (50-60 Гц) более опасен при ударе током, чем постоянный при том же напряжении (из-за фибрилляции сердца).
5. Семь интересных фактов об электрогенераторах
- ВОЙНА ТОКОВ: В конце XIX века шла «Война токов» между Эдисоном (DC) и Теслой/Вестингаузом (AC). Генераторы переменного тока победили благодаря возможности передавать энергию на сотни километров.
- ГИГАНТЫ: Самые мощные турбогенераторы на АЭС имеют мощность более 1200 МВт (1.2 миллиона киловатт). Этого достаточно для питания целого мегаполиса.
- РЕВЕРСИВНОСТЬ: Любой генератор теоретически может работать как двигатель, если на него подать напряжение. Это свойство называется обратимостью электрических машин.
- ВЕЛОСИПЕД: Динамо-машина на велосипеде — это миниатюрный генератор переменного тока с постоянным магнитом вместо обмотки возбуждения.
- ОХЛАЖДЕНИЕ ВОДОРОДОМ: Мощные промышленные генераторы часто заполнены не воздухом, а водородом. Он лучше отводит тепло и создает меньше сопротивления вращению ротора.
- СКОРОСТЬ: Турбогенераторы на ТЭЦ обычно вращаются со скоростью 3000 об/мин (для получения частоты 50 Гц с одной парой полюсов).
- АВТОМОБИЛЬ: В автомобиле стоит генератор переменного тока («альтернатор»), хотя сеть машины — постоянного тока. Переменный ток выпрямляется диодным мостом, встроенным прямо в корпус генератора.
6. FAQ: Часто задаваемые вопросы
Заключение
Генератор переменного тока является «сердцем» современной энергетики. Использование закона электромагнитной индукции в сочетании с продуманной конструкцией (ферромагнитный ротор, статор, контактные кольца) позволяет эффективно преобразовывать механическую энергию в электрическую. Понимание принципов работы этих машин, а также их отличий от машин постоянного тока, является ключевым для любого инженера-энергетика и позволяет грамотно эксплуатировать сложное электрооборудование.
Нормативная база
При проектировании и эксплуатации электрических машин необходимо руководствоваться действующими стандартами.
- ГОСТ IEC 60034-1-2014 «Машины электрические вращающиеся. Часть 1. Номинальные параметры и эксплуатационные характеристики».
- ГОСТ 10169-77 «Машины электрические трехфазные синхронные. Методы испытаний».
- ГОСТ 183-74 «Машины электрические вращающиеся. Общие технические условия».
- ПУЭ (Правила устройства электроустановок) — Глава 5.1 «Генераторы и синхронные компенсаторы».
Список литературы:
- Копылов И.П. «Математическое моделирование электрических машин». — М.: Высшая школа, 2001.
- Вольдек А.И., Попов В.В. «Электрические машины. Введение в электромеханику. Машины постоянного тока и трансформаторы». — СПб.: Питер, 2008.
- Кацман М.М. «Электрические машины: Учебник для студ. учреждений сред. проф. образования». — 17-е изд. — М.: Издательский центр «Академия», 2017.
